TOP
|
特許
|
意匠
|
商標
特許ウォッチ
Twitter
他の特許を見る
公開番号
2025159784
公報種別
公開特許公報(A)
公開日
2025-10-22
出願番号
2024062538
出願日
2024-04-09
発明の名称
電池モジュール
出願人
株式会社AESCジャパン
代理人
個人
,
個人
主分類
H01M
50/588 20210101AFI20251015BHJP(基本的電気素子)
要約
【課題】電池セルに電気的に接続された導体と、電池セルを少なくとも部分的に覆う金属体と、の間の電気的絶縁を確保する。
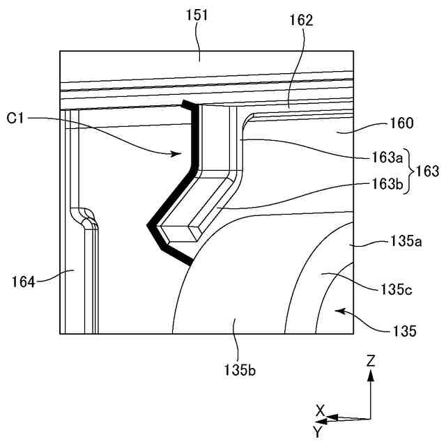
【解決手段】電池モジュール100は、電池セル110と、電池セル110に電気的に接続された第1バスバー135と、電池セル110を少なくとも部分的に覆う第1金属プレート151と、第1バスバー135及び第1金属プレート151の間に少なくとも部分的に位置する絶縁プレート160と、絶縁プレート160に設けられ第1バスバー135の周囲に少なくとも部分的に位置する第1延在絶縁リブ162と、第1延在絶縁リブ162から第1バスバー135に向けて少なくとも部分的に延在する延長絶縁リブ163と、を備えている。
【選択図】図3
特許請求の範囲
【請求項1】
電池セルと、
前記電池セルに電気的に接続された導体と、
前記電池セルを少なくとも部分的に覆う金属体と、
前記導体及び前記金属体の間に少なくとも部分的に位置する第1絶縁体と、
前記第1絶縁体に設けられ前記導体の周囲に少なくとも部分的に位置する第2絶縁体と、
前記第2絶縁体から前記導体に向けて少なくとも部分的に延在する第3絶縁体と、
を備える電池モジュール。
続きを表示(約 240 文字)
【請求項2】
前記第3絶縁体は、異なる方向に連なって延在する複数の部分を含む、請求項1に記載の電池モジュール。
【請求項3】
前記電池セルに電気的に接続された電圧検出装置をさらに備え、
前記第2絶縁体、前記第3絶縁体及び前記電圧検出装置は、略同一面に少なくとも部分的に位置している、請求項1又は2に記載の電池モジュール。
【請求項4】
前記金属体は、前記電池セルを収容する筐体の少なくとも一部分である、請求項1又は2に記載の電池モジュール。
発明の詳細な説明
【技術分野】
【0001】
本発明は、電池モジュールに関する。
続きを表示(約 1,500 文字)
【背景技術】
【0002】
近年、様々な電池モジュールが開発されている。電池モジュールは、電池セルと、電池セルを収容する筐体と、を備えている。
【0003】
特許文献1には、電池装置について記載されている。電池装置は、筐体と、筐体に収容された電池セルと、を備えている。電池セルは、流体の導入経路及び排出経路の一方に露出する第1露出部を有している。筐体は、流体の導入経路及び排出経路の当該一方に臨む第2露出部を有している。電池モジュールは、第1露出部及び第2露出部の間の沿面距離又は空間距離を延ばす絶縁部材を備えている。
【先行技術文献】
【特許文献】
【0004】
特開2019-079682号公報
【発明の概要】
【発明が解決しようとする課題】
【0005】
電池モジュールは、電池セルに電気的に接続されたバスバー等の導体と、電池セルを少なくとも部分的に覆う金属プレート等の金属体と、を備えていることがある。バスバー等の導体及びプレート等の金属体の間では、電気的絶縁の確保が必要とされることがある。
【0006】
本発明の目的の一例は、電池セルに電気的に接続された導体と、電池セルを少なくとも部分的に覆う金属体と、の間の電気的絶縁を確保することにある。本発明の他の目的は、本明細書の記載から明らかになるであろう。
【課題を解決するための手段】
【0007】
本発明の一態様は、以下のとおりである。
1. 電池セルと、
前記電池セルに電気的に接続された導体と、
前記電池セルを少なくとも部分的に覆う金属体と、
前記導体及び前記金属体の間に少なくとも部分的に位置する第1絶縁体と、
前記第1絶縁体に設けられ前記導体の周囲に少なくとも部分的に位置する第2絶縁体と、
前記第2絶縁体から前記導体に向けて少なくとも部分的に延在する第3絶縁体と、
を備える電池モジュール。
2. 前記第3絶縁体は、異なる方向に連なって延在する複数の部分を含む、1.に記載の電池モジュール。
3. 前記電池セルに電気的に接続された電圧検出装置をさらに備え、
前記第2絶縁体、前記第3絶縁体及び前記電圧検出装置は、略同一面に少なくとも部分的に位置している、1.又は2.に記載の電池モジュール。
4. 前記金属体は、前記電池セルを収容する筐体の少なくとも一部分である、1.~3.のいずれか一に記載の電池モジュール。
【発明の効果】
【0008】
本発明の上記態様によれば、電池セルに電気的に接続された導体と、電池セルを少なくとも部分的に覆う金属体と、の間の電気的絶縁を確保することができる。
【図面の簡単な説明】
【0009】
実施形態に係る電池モジュールの上方分解斜視図である。
実施形態に係る第1金属プレートの後面図である。
実施形態に係る第1バスバー及び第1金属プレートの一部分の拡大斜視図である。
図2の線A-Aに沿った電池モジュールの断面を模式的に示した図である。
【発明を実施するための形態】
【0010】
以下、本発明の実施形態及び変形例について、図面を用いて説明する。すべての図面において、同様な構成要素には同様の符号を付し、適宜説明を省略する。
(【0011】以降は省略されています)
この特許をJ-PlatPat(特許庁公式サイト)で参照する
関連特許
APB株式会社
蓄電セル
2日前
東ソー株式会社
絶縁電線
4日前
個人
フレキシブル電気化学素子
16日前
ローム株式会社
半導体装置
3日前
ローム株式会社
半導体装置
18日前
ローム株式会社
半導体装置
25日前
ローム株式会社
半導体装置
25日前
ローム株式会社
半導体装置
23日前
日新イオン機器株式会社
イオン源
12日前
株式会社ユーシン
操作装置
16日前
オムロン株式会社
電磁継電器
17日前
株式会社ホロン
冷陰極電子源
10日前
太陽誘電株式会社
コイル部品
16日前
株式会社ホロン
冷陰極電子源
23日前
株式会社GSユアサ
蓄電装置
23日前
株式会社GSユアサ
蓄電設備
16日前
太陽誘電株式会社
全固体電池
23日前
株式会社GSユアサ
蓄電設備
16日前
日本特殊陶業株式会社
保持装置
23日前
トヨタ自動車株式会社
バッテリ
2日前
ノリタケ株式会社
熱伝導シート
16日前
日本特殊陶業株式会社
保持装置
5日前
トヨタ自動車株式会社
蓄電装置
16日前
北道電設株式会社
配電具カバー
2日前
TDK株式会社
電子部品
23日前
サクサ株式会社
電池の固定構造
16日前
トヨタ自動車株式会社
冷却構造
4日前
トヨタ自動車株式会社
バッテリ
17日前
日東電工株式会社
積層体
17日前
日本特殊陶業株式会社
保持装置
23日前
日本特殊陶業株式会社
保持装置
25日前
TDK株式会社
コイル部品
23日前
日本特殊陶業株式会社
電極
23日前
SMK株式会社
キートップ及びスイッチ
18日前
古河電気工業株式会社
端子
16日前
ローム株式会社
半導体装置
4日前
続きを見る
他の特許を見る