TOP
|
特許
|
意匠
|
商標
特許ウォッチ
Twitter
他の特許を見る
公開番号
2025159777
公報種別
公開特許公報(A)
公開日
2025-10-22
出願番号
2024062529
出願日
2024-04-09
発明の名称
帯電流体用の除電器具
出願人
株式会社PILLAR
代理人
個人
主分類
F16L
25/01 20060101AFI20251015BHJP(機械要素または単位;機械または装置の効果的機能を生じ維持するための一般的手段)
要約
【課題】配管内の流体の圧力損失を低く抑えたまま、流体の全体から静電気を除去できる技術を提供する。
【解決手段】除電器具は、配管内の流体から静電気を除去するための器具であり、除電棒を備えている。除電棒は、導電性樹脂で形成され、流体を透過させない部材であり、接地されており、配管の中の流路内に、流路の中心部と交差するように配置されている。除電棒は流路の中心部と交差する位置に、空洞を含む。空洞は流路の方向に対して平行に除電棒を貫通している。
【選択図】図3
特許請求の範囲
【請求項1】
配管内の流体から静電気を除去するための器具であり、
導電性樹脂で形成され、前記流体を透過させない部材であり、接地されており、前記配管の中の流路内に、前記流路の中心部と交差するように配置されている除電棒
を備え、
前記除電棒が、前記流路の中心部と交差する位置に、
前記流路の方向に対して平行に前記除電棒を貫通している空洞
を含む
ことを特徴とする除電器具。
続きを表示(約 410 文字)
【請求項2】
前記除電棒が、
それぞれが前記流路の方向に対して平行である複数枚のフィン
を含み、
前記空洞が、前記複数枚のフィンによって形成されているスリットである、
請求項1に記載の除電器具。
【請求項3】
前記配管が多岐管である場合、
前記多岐管の1つの枝路を取り外し可能に塞ぐ止め栓の形をしている固定部
を更に備え、
前記除電棒が前記固定部から前記枝路を通して前記流路の中心部以遠まで伸びている、
請求項1に記載の除電器具。
【請求項4】
前記除電棒が、
それぞれが前記枝路の中から前記流路の中心部以遠まで伸びており、前記流路の方向に対して平行である複数枚のフィン
を含み、
前記空洞が、前記複数枚のフィンによって形成されているスリットである、
請求項3に記載の除電器具。
発明の詳細な説明
【技術分野】
【0001】
本発明は配管設備に関し、特に、配管内の流体から静電気を除去する技術に関する。
続きを表示(約 2,500 文字)
【背景技術】
【0002】
半導体プロセスにおいては、ウェハへのレジストの塗布、ウェハの洗浄等に様々な薬液または超純水が使用される。これらの薬液等を扱うチューブ、管継手、バルブ、ポンプ等の配管設備が半導体製造装置には含まれる。この配管設備は、接液部分が樹脂等の非金属であることに特徴がある。薬液等の金属汚染による半導体の結晶欠陥と電気的特性の劣化とを防がねばならないからである。この配管設備は、洗浄等のメンテナンスが比較的頻繁であることにも特徴がある。配線の加工不良の原因となる微粒子、および、成膜異常を引き起こす有機物が配管設備の各所に蓄積することを防がねばならないからである。これらの特徴を踏まえ、半導体製造装置の配管設備には、高いシール性に加え、組み立て/分解の容易性が求められる。
【0003】
配管の接液部分が非金属であるので、有機溶剤、超純水等、低導電率の流体には流動帯電が生じやすい。流体の過剰な帯電は、バルブ等で絶縁破壊に起因するシールの損傷を誘発しやすく、漏れの原因となりかねない。また、帯電流体の運ぶ電荷がウェハに蓄積すると、半導体素子の破壊にも繋がりかねない。さらに、可燃性の有機溶剤が帯電により火花放電を起こせば、火災を引き起こす危険性さえある。そこで、配管内の流体から静電気を除去する技術が色々と提案されている。たとえば、特許文献1、2に開示されている技術は、ガスケットまたはシール部材に炭素繊維を混ぜる等により、流路の内壁の一部に導電性を与えた上で、その一部を接地する。特許文献3、4に開示されている技術は、接地されている金属製のメッシュまたはフィルタに流体を通過させる。
【先行技術文献】
【特許文献】
【0004】
実開平04-129993号公報
特開2022-114505号公報
特開2002-305095号公報
特開2003-202098号公報
【発明の概要】
【発明が解決しようとする課題】
【0005】
特許文献1、2に開示されている技術のような、接地されている導電性の高い区間(以下、「除電区間」という。)を流路の内壁に設けるという技術では、流路の内壁付近を通る流体からは静電気を除去できても、流路の径方向における中心部(以下、単に「中心部」という。)を通る流体からは静電気を除去しにくい。帯電量が問題になるほど大きくなり得る流体は、導電率がかなり低い(典型的には、10
-8
S/m以下である)ので、流体が除電区間を通過する間に、電荷を流路の中心部から内壁まで移動させることが難しいからである。その移動が間に合うように除電区間を延長するのも、電荷の移動を促す目的で除電区間内の流体に磁場または電場を印加するのも、除電用の構造を大規模に、または複雑にするので、いずれも現実的ではない。
【0006】
流路の内壁付近だけでなく、流路の中心部においても、流体を十分に除電するという目的だけから見れば、特許文献3、4に開示されているメッシュまたはフィルタの利用が望ましい。メッシュ等は流路の内壁付近だけでなく、流路の中心部においても流体に接触するからである。しかし、メッシュ等は金属製であるので、半導体プロセスでの利用は流体を金属で汚染する危険性が高い。メッシュ等の素材を金属から導電性樹脂へ変更することも難しい。メッシュ等は流れの方向において薄いので、導電性樹脂製のものでは電気抵抗が高く、流体から十分に多量の電荷を引き抜くことができないからである。電気抵抗を低く抑える目的でメッシュ等を厚くするのは、メッシュ等に起因する流体の圧力損失が過大になりやすい。
【0007】
本発明の目的は上記の課題を解決することであり、特に、配管内の流体の圧力損失を低く抑えたまま、流体の全体から静電気を除去できる技術を提供することにある。
【課題を解決するための手段】
【0008】
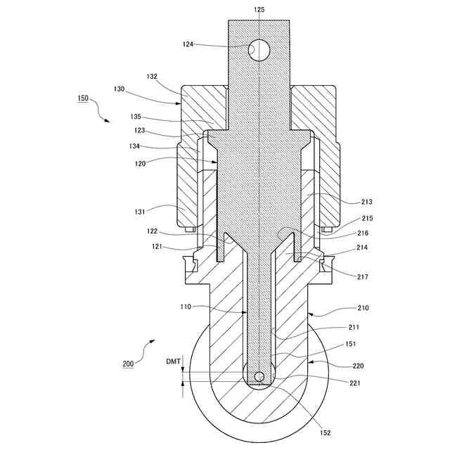
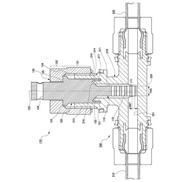
本発明の1つの観点における除電器具は、配管内の流体から静電気を除去するための器具であり、除電棒を備えている。除電棒は、導電性樹脂で形成され、流体を透過させない部材であり、接地されており、配管の中の流路内に、流路の中心部と交差するように配置されている。除電棒は流路の中心部と交差する位置に、空洞を含む。空洞は流路の方向に対して平行に除電棒を貫通している。
【0009】
配管が多岐管である場合、上記の除電器具が更に固定部を備えていてもよい。固定部は止め栓(多岐管の不要な開口端を塞ぐ栓。プラグまたはキャップともいう。)の形をしており、多岐管の1つの枝路を取り外し可能に塞いでいる。固定部からは除電棒が、上記の枝路を通して多岐管内の流路の中心部以遠まで伸びていてもよい。除電棒が複数枚のフィンを含んでいてもよい。各フィンは、固定部が塞いでいる枝路の中から流路の中心部以遠まで伸びており、流路の方向に対して平行である。この場合、除電棒の空洞が、フィンによって形成されているスリットである。
【発明の効果】
【0010】
本発明による上記の除電器具は除電棒を用いて、配管内の流路の中心部を通る流体を除電棒の空洞へ導き入れる。除電棒は流路内に配置されているので、除電棒の空洞は流路よりも狭い。したがって、流体が低導電率であっても、空洞を通る流体からは静電気を十分に除去できる。特に、空洞の内壁の表面積により除電棒の電気抵抗が調節され、空洞の断面積により流体の圧力損失が調節される。除電棒がフィンを含む場合、空洞の内壁の表面積はフィンの表面積により、空洞の断面積はフィンの間隔により、いずれも容易に設計可能である。したがって、空洞の内壁の表面積と断面積とが最適化されることにより、流体の圧力損失を低く抑えたまま、流体の全体から静電気を除去することができる。
(【0011】以降は省略されています)
この特許をJ-PlatPat(特許庁公式サイト)で参照する
関連特許
個人
留め具
17日前
個人
鍋虫ねじ
2か月前
個人
回転伝達機構
2か月前
個人
紛体用仕切弁
2か月前
個人
ホース保持具
6か月前
個人
差動歯車用歯形
4か月前
個人
給排気装置
24日前
個人
ジョイント
1か月前
株式会社不二工機
電磁弁
5か月前
株式会社不二工機
電磁弁
4か月前
個人
地震の揺れ回避装置
3か月前
個人
ナット
1か月前
個人
吐出量監視装置
1か月前
カヤバ株式会社
ダンパ
4か月前
柿沼金属精機株式会社
分岐管
2か月前
カヤバ株式会社
緩衝器
3か月前
カヤバ株式会社
ダンパ
4か月前
カヤバ株式会社
緩衝器
23日前
カヤバ株式会社
緩衝器
3か月前
株式会社ノーリツ
分配弁
28日前
株式会社フジキン
ボールバルブ
4か月前
株式会社三五
ドライブシャフト
9日前
株式会社不二工機
電磁弁
2か月前
株式会社ニフコ
クリップ
28日前
株式会社ノーリツ
分配弁
5か月前
株式会社タカギ
水栓装置
2か月前
株式会社ノーリツ
分配弁
5か月前
個人
固着具と固着具の固定方法
5か月前
個人
固着具と固着具の固定方法
5か月前
株式会社奥村組
制振機構
1か月前
株式会社奥村組
制振機構
1か月前
株式会社不二工機
電動弁
24日前
個人
固着具と固着具の固定方法
5か月前
株式会社ノーリツ
分配弁
5か月前
日東電工株式会社
断熱材
6か月前
アズビル株式会社
回転弁
1か月前
続きを見る
他の特許を見る