TOP
|
特許
|
意匠
|
商標
特許ウォッチ
Twitter
他の特許を見る
10個以上の画像は省略されています。
公開番号
2025159561
公報種別
公開特許公報(A)
公開日
2025-10-21
出願番号
2024062227
出願日
2024-04-08
発明の名称
レンズ装置及びそれを有する撮像装置
出願人
キヤノン株式会社
代理人
個人
,
個人
,
個人
主分類
G02B
7/04 20210101AFI20251014BHJP(光学)
要約
【課題】高精度に調整可能な操作部材を含む駆動機構を備えるレンズ装置を提供すること。
【解決手段】
レンズ装置は、第1の光学系と、第2の光学系と、操作部材に設けられ、操作部材の操作量を検出するための検出部と、操作部材に対する操作に応じて駆動力を発生させる駆動部と、駆動力に応じて動作する動作部と、動作部に当接する当接部を備え、動作部の動作に応じて第1及び第2の光学系と一体的に移動する移動体と、第1及び第2の光学系はそれぞれ、第1の反射面及び第2の反射面を含む屈曲光学系であり、被写体側から像側に順に、第1の光軸、第1の反射面で反射した光の第2の光軸、第2の反射面で反射した光の第3の光軸を有し、検出部、当接部、及び動作部は、第1の光軸に沿って配置される。
【選択図】図6
特許請求の範囲
【請求項1】
第1の光学系と、
第2の光学系と、
操作部材に設けられ、前記操作部材の操作量を検出するための検出部と、
前記操作部材に対する操作に応じて駆動力を発生させる駆動部と、
前記駆動力に応じて動作する動作部と、
前記動作部に当接する当接部を備え、前記動作部の動作に応じて前記第1及び第2の光学系と一体的に移動する移動体と、
前記第1及び第2の光学系はそれぞれ、第1の反射面及び第2の反射面を含む屈曲光学系であり、被写体側から像側に順に、第1の光軸、前記第1の反射面で反射した光の第2の光軸、前記第2の反射面で反射した光の第3の光軸を有し、
前記検出部、前記当接部、及び動作部は、前記第1の光軸に沿って配置されていることを特徴とするレンズ装置。
続きを表示(約 940 文字)
【請求項2】
前記当接部を前記動作部に対して付勢すると共に、前記検出部の内径側に配置される付勢部を更に有することを特徴とする請求項1に記載のレンズ装置。
【請求項3】
前記付勢部と前記検出部は、前記第1の光軸に平行な方向に直交する同一平面上に配置されることを特徴とする請求項2に記載のレンズ装置。
【請求項4】
前記駆動部は、前記動作部に設けられたギアに結合すると共に、前記第2の光軸を含み、かつ前記第1の光軸に平行な方向に直交する平面上に配置されることを特徴とする請求項1乃至3の何れか一項に記載のレンズ装置。
【請求項5】
前記操作部材の前記第1の光軸に平行な方向に直交する方向への投影面内に配置される複数のレンズを更に有することを特徴とする請求項1乃至3の何れか一項に記載のレンズ装置。
【請求項6】
それぞれが前記第1及び第2の光学系の前記第1の反射面を備える2つの光学部材を更に有し、
前記駆動部は、前記2つの光学部材の外接円の内側に配置されることを特徴とする請求項1乃至3の何れか一項に記載のレンズ装置。
【請求項7】
それぞれが前記第1及び第2の光学系の前記第1の光軸を構成する2つのレンズを更に有し、
前記駆動部、及び前記動作部に設けられると共に、前記駆動部に結合されるギアは、前記2つのレンズの外接円の内側に配置されることを特徴とする請求項1乃至3の何れか一項に記載のレンズ装置。
【請求項8】
前記動作部は、フェースカム環であると共に、カム部を備え、
前記カム部は、前記第2の光軸を含み、かつ前記第1の光軸に平行な方向に直交する平面上に配置されることを特徴とする請求項1乃至3の何れか一項に記載のレンズ装置。
【請求項9】
前記操作部材は、回転操作可能な操作リングであることを特徴とする請求項1乃至3の何れか一項に記載のレンズ装置。
【請求項10】
カメラ本体に取り付けるためのレンズマウントを更に有することを特徴とする請求項1乃至3の何れか一項に記載のレンズ装置。
(【請求項11】以降は省略されています)
発明の詳細な説明
【技術分野】
【0001】
本発明は、レンズ装置及びそれを有する撮像装置に関する。
続きを表示(約 1,600 文字)
【背景技術】
【0002】
従来、左右の光学系が所定の距離(基線長)だけ離間して配置され、一つの撮像素子に二つのイメージサークルが並列に形成されるレンズが知られている。このようなレンズでは左右の光学系で形成される像はそれぞれ左眼用及び右眼用の動画又は静止画として記録され、再生時に3DディスプレイやVRゴーグル等を用いて鑑賞されると、鑑賞者の右眼には右眼用の映像が映り、左眼には左眼用の映像が映る。このとき、左右の光学系の基線長によって、右眼と左眼には視差のある映像が投影されるため、鑑賞者は立体感を得ることができる。視差のある映像を撮影するためには、左右の光学系の焦点調整をそれぞれ行うことが必要となる。
【0003】
上記構成とは異なるが、特許文献1には、撮影機能付き双眼鏡において、フォーカスダイヤルの回転操作による粗調モードと、レリーズボタンを押すことによる微調モードとに切り替え可能な構成が開示されている。
【先行技術文献】
【特許文献】
【0004】
特許第4602039号公報
【発明の概要】
【発明が解決しようとする課題】
【0005】
しかしながら、特許文献1の構成では、左右の光学系を同時に調整するため、左右像のピント差は解消されず、鑑賞者に不快な印象を与えてしまう。また、屈曲光学系を用いて構成された左右の光学系では、外形形状がマウント付近は円筒形状であるものの、被写体側に行くほど裾野が広がるラッパ形状となってしまう。そのため、マニュアルフォーカス時、及び左右像のピント差調整時等に使用する操作部材を配置するスペースが限られてしまう。
【0006】
本発明は、高精度に調整可能な操作部材を含む駆動機構を備えるレンズ装置を提供することを目的とする。
【課題を解決するための手段】
【0007】
本発明の一側面としてのレンズ装置は、第1の光学系と、第2の光学系と、操作部材に設けられ、操作部材の操作量を検出するための検出部と、操作部材に対する操作に応じて駆動力を発生させる駆動部と、駆動力に応じて動作する動作部と、動作部に当接する当接部を備え、動作部の動作に応じて第1及び第2の光学系と一体的に移動する移動体と、第1及び第2の光学系はそれぞれ、第1の反射面及び第2の反射面を含む屈曲光学系であり、被写体側から像側に順に、第1の光軸、第1の反射面で反射した光の第2の光軸、第2の反射面で反射した光の第3の光軸を有し、検出部、当接部、及び動作部は、第1の光軸に沿って配置されることを特徴とする。
【発明の効果】
【0008】
本発明によれば、高精度に調整可能な操作部材を含む小型な駆動機構を備えるレンズ装置を提供することができる。
【図面の簡単な説明】
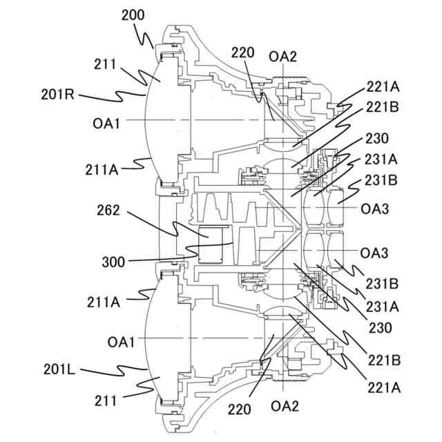
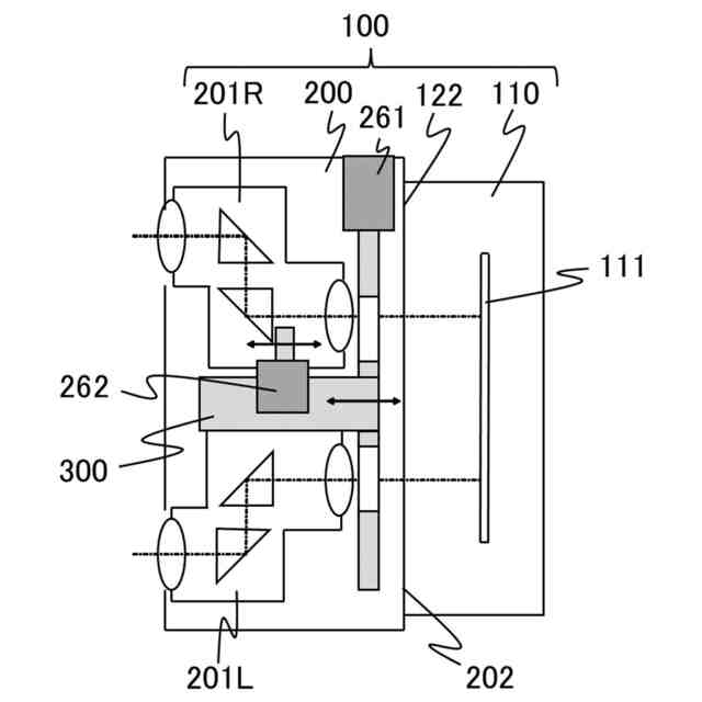
【0009】
本実施例の交換レンズの断面図である。
本実施例の交換レンズの正面図である。
本実施例のカメラシステムの概略構成図である。
本実施例のカメラシステムの電気ブロック図である。
本実施例の交換レンズの側面図である。
本実施例の駆動機構周りの断面図である。
本実施例の駆動機構周りの正面図である。
本実施例の駆動機構を含む交換レンズの断面図である。
本実施例の駆動機構の配置位置を示す交換レンズの正面図である。
本実施例の駆動機構の配置位置を示す交換レンズの正面図である。
【発明を実施するための形態】
【0010】
以下、本発明の実施例について、図面を参照しながら詳細に説明する。各図において、同一の部材については同一の参照番号を付し、重複する説明は省略する。
(【0011】以降は省略されています)
この特許をJ-PlatPat(特許庁公式サイト)で参照する
関連特許
キヤノン株式会社
容器
2日前
キヤノン株式会社
トナー
18日前
キヤノン株式会社
トナー
18日前
キヤノン株式会社
トナー
18日前
キヤノン株式会社
トナー
5日前
キヤノン株式会社
撮像装置
2日前
キヤノン株式会社
現像容器
16日前
キヤノン株式会社
撮影装置
16日前
キヤノン株式会社
現像装置
16日前
キヤノン株式会社
定着装置
17日前
キヤノン株式会社
現像容器
16日前
キヤノン株式会社
現像装置
16日前
キヤノン株式会社
記録装置
16日前
キヤノン株式会社
撮像装置
2日前
キヤノン株式会社
撮像装置
2日前
キヤノン株式会社
記録装置
2日前
キヤノン株式会社
測距装置
11日前
キヤノン株式会社
現像装置
9日前
キヤノン株式会社
モジュール
18日前
キヤノン株式会社
画像形成装置
12日前
キヤノン株式会社
電子写真装置
3日前
キヤノン株式会社
カートリッジ
16日前
キヤノン株式会社
カートリッジ
16日前
キヤノン株式会社
画像処理装置
16日前
キヤノン株式会社
画像形成装置
16日前
キヤノン株式会社
画像形成装置
12日前
キヤノン株式会社
画像形成装置
17日前
キヤノン株式会社
画像形成装置
2日前
キヤノン株式会社
画像形成装置
5日前
キヤノン株式会社
映像表示装置
18日前
キヤノン株式会社
画像形成装置
5日前
キヤノン株式会社
画像形成装置
5日前
キヤノン株式会社
画像形成装置
10日前
キヤノン株式会社
画像形成装置
9日前
キヤノン株式会社
画像形成装置
16日前
キヤノン株式会社
画像形成装置
9日前
続きを見る
他の特許を見る