TOP
|
特許
|
意匠
|
商標
特許ウォッチ
Twitter
他の特許を見る
公開番号
2025159224
公報種別
公開特許公報(A)
公開日
2025-10-17
出願番号
2025138424,2022211862
出願日
2025-08-21,2022-12-28
発明の名称
手摺り装置
出願人
パラマウントベッド株式会社
代理人
個人
,
個人
,
個人
,
個人
主分類
A61G
7/053 20060101AFI20251009BHJP(医学または獣医学;衛生学)
要約
【課題】ユーザにとって使い勝手の良い手摺り装置等に関する技術を提供すること。
【解決手段】第1把持部と、第2把持部とを備え、前記第1把持部は、湾曲した第1側面と、当該第1側面と反対の側面であり湾曲した第2側面とを有し、前記第2把持部は、湾曲した第3側面と、当該第3側面と反対の側面であり湾曲した第4側面とを有し、前記第2側面と、前記第3側面とは対向して配置されており、前記第2側面、第3側面及び第4側面は、断面視において同じ形状であって、前記第1側面とは異なる形状である。
【選択図】図1
特許請求の範囲
【請求項1】
ユーザが握った手の状態を検出する複数のセンサを備えた第1把持部を有する手摺り用把持部材と、
床面と接するベース部と、
前記手摺り用把持部材を支持するために、前記ベース部に立設されている支持部と、
前記複数のセンサの検出状態を記憶するセンサ検出テーブルを記憶した記憶部と、
制御部と、
を備え、
前記制御部は、前記センサ検出テーブルに記憶されたセンサの検出状態に基づいて、ユーザの状態を判定する手摺り装置。
続きを表示(約 740 文字)
【請求項2】
前記センサは、ユーザの手の接触を検出する接触センサであって、前記第1把持部の上側の第1側面と下側の第2側面とに夫々設置され、
前記制御部は、前記センサ検出テーブルに記憶された各センサの検出状態に基づいて、ユーザが前記第1把持部に手をかけた第1状態か、ユーザが前記第1把持部を握った第2状態か、ユーザが前記第1把持部から離れた第3状態かをユーザ状態判定結果として判定する請求項1に記載の手摺り装置
【請求項3】
前記第1把持部は、荷重センサを更に備え、
前記荷重センサの荷重検出値の変化と、前記制御部のユーザ状態判定結果とに基づいて、ユーザが立位であるか判定する、請求項2に記載の手摺り装置。
【請求項4】
前記制御部は、所定の時間帯におけるユーザの手摺り利用頻度を行動パターンとして判定し通知する、請求項1から3の何れか一項に記載の手摺り装置。
【請求項5】
前記制御部は、前記センサ検出テーブルを参照し、前記ユーザ状態判定結果に基づいてユーザの動作時間を取得し、最新の動作時間と、所定の観測期間前の動作時間とを比較した結果に基づいて、ユーザのADL(Activities of Daily Living:日常生活動作)の変動を判定し通知する、請求項1から3の何れか一項に記載の手摺り装置。
【請求項6】
前記制御部は、前記センサ検出テーブルを参照し、前記ユーザ状態判定結果に基づいてユーザの動作時間を取得し、過去の動作時間とあわせて前記動作時間の平均値を算出し、ユーザが手摺り利用を開始した際に前記動作時間の平均値と合わせて通知する請求項1から3の何れか一項に記載の手摺り装置。
発明の詳細な説明
【技術分野】
【0001】
本開示は、手摺り装置等に関する。
続きを表示(約 1,400 文字)
【背景技術】
【0002】
例えば、特許文献1、特許文献2に開示されているように、ユーザが立ち上がるときのために、ユーザを補助するための手摺り装置が知られている。
【先行技術文献】
【特許文献】
【0003】
特開2013-9922号公報
特開2012-223247号公報
【発明の概要】
【発明が解決しようとする課題】
【0004】
本開示は、例えば、ユーザにとって使い勝手の良い手摺り装置等に関する技術を提供することを目的とする。
【課題を解決するための手段】
【0005】
本開示の手摺り用把持部材は、第1把持部と、第2把持部とを備え、前記第1把持部は、湾曲した第1側面と、当該第1側面と反対の側面であり湾曲した第2側面とを有し、前記第2把持部は、湾曲した第3側面と、当該第3側面と反対の側面であり湾曲した第4側面とを有し、前記第2側面と、前記第3側面とは対向して配置されており、前記第2側面、第3側面及び第4側面は、断面視において同じ形状であって、前記第1側面とは異なる形状である。
【発明の効果】
【0006】
本開示によれば、例えば、ユーザにとって使い勝手の良い手摺り装置等に関する技術を提供することが可能となる。
【図面の簡単な説明】
【0007】
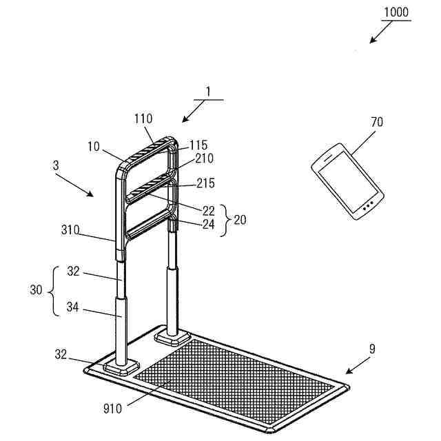
本実施形態における手摺り装置の外観を説明する図である。
本実施形態における把持部の断面を説明する図である。
本実施形態における把持部の断面を説明する図である。
本実施形態における被覆部材を説明する図である。
本実施形態における識別形状(蓄光部材)を説明する図である。
本実施形態における動作例を説明する図である。
本実施形態における手摺り装置を含むシステム全体を説明する図である。
本実施形態における制御装置の機能構成図である。
本実施形態におけるセンサ検出テーブルの構成図である。
本実施形態における第1の処理を説明するフロー図である。
本実施形態における画面例の一例である。
本実施形態における第2の処理を説明するフロー図である。
【発明を実施するための形態】
【0008】
以下、図面を参照して本開示を実施するための形態について説明する。なお、以下に示す実施形態は、本開示を提供した一つの実施形態であり、以下の記載に基づいて本開示の内容が限定して解釈されるものではない。
【0009】
一般的に、高齢者や障害者等のユーザが立ち上がりや歩行の補助として使用する手摺りが知られている。手摺りは、ユーザが単に体を支えれば十分であるという考え方から、一般的にはシンプルな丸パイプを使った物が多く、特に使い勝手について考慮されているものは少なかった。
【0010】
また、手摺りにおいて、把持部だけを考えると使い勝手を考慮した形状のものもあるが、手摺りとして例えば1本を横に配置するだけであり、様々な方向からユーザがアクセスすることや、ユーザの使用方法といった配慮まではされていなかった。
(【0011】以降は省略されています)
この特許をJ-PlatPat(特許庁公式サイト)で参照する
関連特許
個人
短下肢装具
3か月前
個人
白内障治療法
7か月前
個人
洗井間専家。
7か月前
個人
前腕誘導装置
3か月前
個人
排尿補助器具
11日前
個人
嚥下鍛錬装置
3か月前
個人
バッグ式オムツ
4か月前
個人
ホバーアイロン
6か月前
個人
矯正椅子
4か月前
個人
アイマスク装置
1か月前
個人
腰ベルト
1日前
個人
汚れ防止シート
26日前
個人
歯の修復用材料
4か月前
個人
胸骨圧迫補助具
1か月前
個人
ウォート指圧法
9日前
個人
車椅子持ち上げ器
7か月前
三生医薬株式会社
錠剤
7か月前
個人
陣痛緩和具
3か月前
個人
歯の保護用シール
4か月前
個人
哺乳瓶冷まし容器
3か月前
個人
シャンプー
6か月前
個人
湿布連続貼り機。
2か月前
個人
治療用酸化防御装置
1か月前
個人
エア誘導コルセット
1か月前
株式会社八光
剥離吸引管
4か月前
個人
服薬支援装置
7か月前
株式会社コーセー
化粧料
8日前
個人
性行為補助具
2か月前
株式会社大野
骨壷
3か月前
株式会社結心
手袋
7か月前
個人
手指運動ツール
2か月前
株式会社ニデック
眼科装置
4か月前
株式会社ニデック
眼科装置
15日前
株式会社ダリヤ
皮膚化粧料
7か月前
個人
シリンダ式歩行補助具
2か月前
個人
高気圧環境装置
4か月前
続きを見る
他の特許を見る