TOP
|
特許
|
意匠
|
商標
特許ウォッチ
Twitter
他の特許を見る
公開番号
2025159068
公報種別
公開特許公報(A)
公開日
2025-10-17
出願番号
2025132410,2022198182
出願日
2025-08-07,2022-12-12
発明の名称
電池
出願人
トヨタ自動車株式会社
代理人
弁理士法人太陽国際特許事務所
主分類
H01M
50/591 20210101AFI20251009BHJP(基本的電気素子)
要約
【課題】金属層と端子との接触による短絡を抑制した電池の提供。
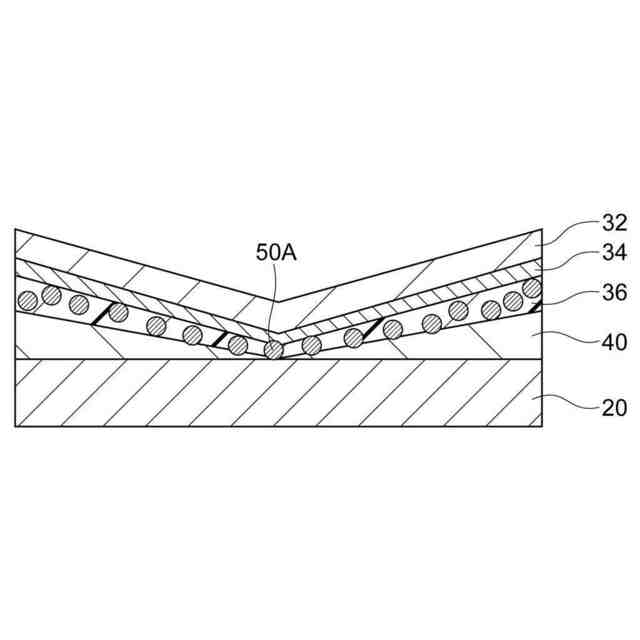
【解決手段】電極体と、電極体に対し電気的に接続される端子20と、電極体の全面および端子20の一部の面を覆い、少なくとも金属層34を有するラミネートフィルム30と、端子20と金属層34との間に介在する樹脂層としての溶着樹脂層36と、を備え、溶着樹脂層36が絶縁粒子50Aを含有する、電池。
【選択図】図3
特許請求の範囲
【請求項1】
電極体と、
前記電極体に対し電気的に接続される端子と、
少なくとも金属層及び前記金属層の前記端子側の面に溶着樹脂層を有し、前記電極体の全面および前記端子の一部の面を覆うラミネートフィルムと、
前記端子と前記ラミネートフィルムとの間に介在する溶着樹脂フィルムと、を備え、
前記溶着樹脂層及び溶着樹脂フィルムが絶縁粒子を含有する、電池。
続きを表示(約 650 文字)
【請求項2】
前記端子が、前記電極体に対して第1方向の一端側に配置された第1端子と、前記電極体に対して第1方向の他端側に配置された第2端子と、を有する、請求項1に記載の電池。
【請求項3】
前記ラミネートフィルムが、前記ラミネートフィルムの内面同士が重ね合わせられて溶着している溶着部を有し、
前記第1方向に直交する面で電池を切断したときの前記第1端子及び前記第2端子の各々の断面の形状が、第2方向に延びる一対の長辺と前記第2方向に直交する第3方向に延びる一対の短辺とを含む長方形状物であり、
前記第1端子の前記第2方向の長さ及び前記第2端子の前記第2方向の長さの各々が、前記電極体の前記第2方向の長さの0.5倍以上1.0倍以下の長さである、請求項2に記載の電池。
【請求項4】
前記ラミネートフィルムが、前記ラミネートフィルムの内面同士が重ね合わせられて溶着している溶着部を有し、
前記第1方向に直交する面で電池を切断したときの前記第1端子及び前記第2端子の各々の断面の形状が、第2方向に延びる一対の長辺と前記第2方向に直交する第3方向に延びる一対の短辺とを含む長方形状物であり、
前記第1方向から電池を観たときに、前記溶着部が、前記第1端子の四隅の各々から前記第1端子とは反対側に向けて延びる4つの第1溶着部と、前記第2端子の四隅の各々から前記第2端子の反対側に向けて延びる4つの第2溶着部とを有する、請求項2に記載の電池。
発明の詳細な説明
【技術分野】
【0001】
本開示は、電池に関する。
続きを表示(約 2,200 文字)
【背景技術】
【0002】
リチウムイオン二次電池等の電池は、通常、集電体、正極活物質層、電解質層、および負極活物質層を有する電極体を備える。電極体は、例えば、外装材に囲まれた内部空間に封止される。
例えば、特許文献1には、扁平袋状に成形されたラミネートフィルムからなる外装体内にシート状の正極と負極がセパレーターを介して積層された電極体が電解液とともに密封されてなるラミネート型蓄電素子であって、前記正極および前記負極のそれぞれに接続された平板状の正極および負極の電極端子板は、前記外装体の所定の縁辺から導出されてなる電極端子部を備え、前記外装体は、外形を揃えて対面する前記ラミネートフィルムが、平面領域を周回する周縁領域で互いに溶着されてなり、前記ラミネートフィルムは、金属箔の基材の表裏両面に絶縁性樹脂層が形成されているとともに、前記外装体における前記所定の縁辺で前記基材の端面が露出し、前記周縁領域は、前記所定の縁辺に沿う領域でタブフィルムを介して溶着され、前記タブフィルムは、前記所定の縁辺の一部の領域にて前記外装体の外方に逸脱するとともに、前記電極端子部の基端の表裏両面を覆う形状に形成された変形部を備えるラミネート型蓄電素子が開示されている。
【先行技術文献】
【特許文献】
【0003】
特許第6796417号公報
【発明の概要】
【発明が解決しようとする課題】
【0004】
従来、電池における電極体および端子をラミネートフィルムによって封止する際に、端子とラミネートフィルムにおける金属層との間に介在する樹脂層が溶融して液状となる。この時、ラミネートフィルムの一部に過度な荷重がかかると、荷重がかかった箇所から液状となった樹脂が流動し、金属層と端子とが接触して短絡が発生することがあった。
【0005】
本開示は、上記実情に鑑みてなされたものであり、金属層と端子との接触による短絡を抑制した電池を提供することを目的とする。
【課題を解決するための手段】
【0006】
<1>
電極体と、
前記電極体に対し電気的に接続される端子と、
少なくとも金属層を有し、前記電極体の全面および前記端子の一部の面を覆うラミネートフィルムと、
前記端子と前記金属層との間に介在する樹脂層と、を備え、
前記樹脂層が絶縁粒子を含有する、電池。
<2>
前記樹脂層として、前記ラミネートフィルムが前記金属層の前記端子側の面に溶着樹脂層を有し、前記溶着樹脂層が前記絶縁粒子を含有する、<1>に記載の電池。
<3>
前記樹脂層として、前記端子と前記ラミネートフィルムとの間に介在する溶着樹脂フィルムを有し、前記溶着樹脂フィルムが前記絶縁粒子を含有する、<1>または<2>に記載の電池。
【発明の効果】
【0007】
本開示によれば、金属層と端子との接触による短絡を抑制した電池を提供することができる。
【図面の簡単な説明】
【0008】
本開示の実施形態に係る電池を示す概略斜視図である。
図1におけるX-X断面を示す概略断面図である。
図2における端子、タブフィルム、およびラミネートフィルムを拡大して示す拡大断面図である。
図2における端子、タブフィルム、およびラミネートフィルムにおいて一部に過度な荷重がかかった際の状態を示す拡大断面図である。
本開示の他の実施形態に係る電池の端子、タブフィルム、およびラミネートフィルムを拡大して示す拡大断面図である。
従来の電池における端子、タブフィルム、およびラミネートフィルムを拡大して示す拡大断面図である。
【発明を実施するための形態】
【0009】
以下、本開示における電池について、図面を用いて詳細に説明する。以下に示す各図は、模式的に示したものであり、各部の大きさ、形状は、理解を容易にするために、適宜誇張している。
【0010】
<電池>
・第1の実施形態
まず、本開示の実施形態(第1の実施形態)に係る電池について説明する。図1は、本開示における電池を例示する概略斜視図である。図2は、図1におけるX-X断面を示す概略断面図である。
図1に示す電池100は、外周がラミネートフィルム30により覆われている。ラミネートフィルム30の内部には電極体が封入され、電極体の全面がラミネートフィルム30により覆われている。また、電極体の一端側および他端側には、電極体に対し電気的に接続される端子20が設けられている。端子20は、図1および図2に示すように、一部の面がラミネートフィルム30により覆われ、且つ前記一端側および前記他端側においてそれぞれ一部が露出している。ラミネートフィルム30は、例えば1枚のフィルムであり、この1枚のラミネートフィルム30が折り畳まれるようにして、電極体および端子20を覆っている。ラミネートフィルム30は、図2のように、端部同士が重ね合わされて溶着されることで、溶着部Yを形成している。また、端子20とラミネートフィルム30との間には、溶着樹脂フィルムとしてのタブフィルム40が介在している。
(【0011】以降は省略されています)
この特許をJ-PlatPat(特許庁公式サイト)で参照する
関連特許
トヨタ自動車株式会社
車両
2日前
トヨタ自動車株式会社
電池
8日前
トヨタ自動車株式会社
車両
15日前
トヨタ自動車株式会社
方法
2日前
トヨタ自動車株式会社
車両
10日前
トヨタ自動車株式会社
椅子
11日前
トヨタ自動車株式会社
車両
1日前
トヨタ自動車株式会社
車両
3日前
トヨタ自動車株式会社
車体
4日前
トヨタ自動車株式会社
車両
8日前
トヨタ自動車株式会社
電池
1日前
トヨタ自動車株式会社
方法
11日前
トヨタ自動車株式会社
方法
11日前
トヨタ自動車株式会社
方法
2日前
トヨタ自動車株式会社
方法
3日前
トヨタ自動車株式会社
方法
1日前
トヨタ自動車株式会社
正極層
1日前
トヨタ自動車株式会社
電動車
11日前
トヨタ自動車株式会社
飛行体
8日前
トヨタ自動車株式会社
モータ
3日前
トヨタ自動車株式会社
電動機
1日前
トヨタ自動車株式会社
モータ
9日前
トヨタ自動車株式会社
電磁弁
11日前
トヨタ自動車株式会社
加熱器
15日前
トヨタ自動車株式会社
固定子
16日前
トヨタ自動車株式会社
自動車
2日前
トヨタ自動車株式会社
蓄電セル
1日前
トヨタ自動車株式会社
蓄電装置
2日前
トヨタ自動車株式会社
端末装置
8日前
トヨタ自動車株式会社
搬送装置
8日前
トヨタ自動車株式会社
判定装置
11日前
トヨタ自動車株式会社
監視装置
16日前
トヨタ自動車株式会社
製造方法
8日前
トヨタ自動車株式会社
充電装置
3日前
トヨタ自動車株式会社
塗工装置
1日前
トヨタ自動車株式会社
蓄電装置
1日前
続きを見る
他の特許を見る