TOP
|
特許
|
意匠
|
商標
特許ウォッチ
Twitter
他の特許を見る
10個以上の画像は省略されています。
公開番号
2025159019
公報種別
公開特許公報(A)
公開日
2025-10-17
出願番号
2025131135,2024029460
出願日
2025-08-06,2020-01-28
発明の名称
コンピュータ支援手術システムのためのカメラ制御システム及び方法
出願人
インテュイティブ サージカル オペレーションズ, インコーポレイテッド
代理人
弁理士法人ITOH
主分類
A61B
34/20 20160101AFI20251009BHJP(医学または獣医学;衛生学)
要約
【課題】コンピュータ支援手術システムのためのカメラ制御システム及び方法を提供する。
【解決手段】 カメラ制御システムは、手術セッションに関する手術セッションデータにアクセスすることができ、手術セッションは、コンピュータ支援手術システムによる1つ又は複数の動作の実行を含む。カメラ制御システムは、手術セッションデータに基づいて、手術セッションに関連するイベントを識別することができ、手術セッションデータに基づいて、イベントに関連する位置を決定することができる。イベント位置の決定に応答して、カメラ制御システムは、イベントに関連する位置の特定のビューを取り込むべくカメラのビューの自動調整を指示することができる。
【選択図】図1
特許請求の範囲
【請求項1】
システムであって、当該システムは、
命令を記憶するメモリと、
該メモリに通信可能に結合されるプロセッサと、を含み、
該プロセッサは、前記命令を実行して、
手術セッションに関する手術セッションデータにアクセスすることであって、前記手術セッションには、コンピュータ支援手術システムによる1つ又は複数の動作の実行が含まれる、こと、
前記手術セッションデータに基づいて、前記手術セッションに関連するイベントが発生する可能性が高いと決定すること、
前記イベントに関連する位置を決定すること、及び
前記イベントの前記位置の前記決定に応答して、前記イベントが発生する前に、該イベントに関連する前記位置の特定のビューを取り込むべくカメラのビューの自動調整を指示すること、を含むプロセスを行うように構成される、
システム。
続きを表示(約 1,400 文字)
【請求項2】
前記手術セッションに関連する前記イベントが発生する可能性が高いとの前記決定は、前記手術セッションに関連するチームメンバーのユーザプロファイルを表すユーザプロファイルデータにさらに基づく、請求項1に記載のシステム。
【請求項3】
前記ユーザプロファイルデータは、前記チームメンバーに固有の、前記コンピュータ支援手術システムの動作パターンを示す、請求項2に記載のシステム。
【請求項4】
前記プロセスには、前記カメラによって取り込んだ前記位置の前記ビューの画像を表示装置に提供し、該表示装置によって表示することがさらに含まれ、
前記手術セッションに関連する前記イベントが発生する可能性が高いと前記決定することは、前記表示装置のユーザのユーザプロファイルを表すユーザプロファイルデータにさらに基づく、請求項1に記載のシステム。
【請求項5】
前記コンピュータ支援手術システムは、操作システム及びユーザ制御システムを含み、
前記操作システムは、手術器具と結合するように構成されたマニピュレータアームを含み、
前記ユーザ制御システムは、ユーザ入力に基づいて、前記マニピュレータアーム又は前記手術器具の少なくとも一方を制御するように構成され、
前記イベントに関連する前記位置には、前記操作システム又は前記ユーザ制御システムに関連する位置が含まれる、請求項1乃至4のいずれか一項に記載のシステム。
【請求項6】
前記プロセスには、前記カメラによって取り込んだ前記位置の前記ビューの画像を表示装置に提供し、前記表示装置によって前記画像を表示することがさらに含まれ、
前記表示装置は、前記ユーザ制御システムから遠隔にある、請求項5に記載のシステム。
【請求項7】
前記コンピュータ支援手術システムは、ユーザ入力に基づいて前記マニピュレータアーム又は前記手術器具の少なくとも一方を遠隔制御するように構成された追加のユーザ制御システムをさらに含み、
前記表示装置は、前記追加のユーザ制御システムに含まれる、請求項6に記載のシステム。
【請求項8】
前記プロセスには、
前記手術セッションデータに基づいて、前記手術セッションに関連する追加のイベントが発生する可能性が高いと決定すること、
該追加のイベントに関連する位置を決定すること、及び
前記追加のイベントに関連する前記位置の前記決定に応答して、前記追加のイベントが発生する前に、前記追加のイベントに関連する前記位置のビューを取り込むべく追加のカメラのビューの自動調整を指示すること、がさらに含まれる、請求項5に記載のシステム。
【請求項9】
前記追加のイベントに関連する前記位置には、前記操作システムに関連する位置が含まれる、請求項8に記載のシステム。
【請求項10】
前記プロセスには、
前記イベントに関連する追加位置を決定すること、及び
前記イベントに関連する前記追加位置のビューを取り込むべく前記カメラの前記ビューの調整を指示すること、がさらに含まれる、請求項1乃至4のいずれか一項に記載のシステム。
(【請求項11】以降は省略されています)
発明の詳細な説明
【技術分野】
【0001】
関連出願
本願は、2019年1月31日に出願された、“CAMERA CONTROL SYSTEMS AND METHODS FOR A COMPUTER-ASSISTED SURGICAL
SYSTEM”という表題の米国仮特許出願第62/799,729号に対する優先権を主張するものであり、この文献の内容はその全体が参照とにより本明細書に組み込まれる。
続きを表示(約 3,400 文字)
【0002】
本願は、コンピュータ支援手術システムのためのカメラ制御システム及び方法に関する。
【背景技術】
【0003】
コンピュータ支援手術システムを使用する低侵襲性外科的処置等のコンピュータ支援外科的処置中に、カメラは、例えば、患者の外部のコンピュータ支援手術システムのシーンの画像を取り込むことができる。コンピュータ支援手術システムは、取り込んだ画像を医療関係者(例えば、外科医及び/又は手術チームの他のメンバー)に表示して、コンピュータ支援手術システムの視覚化を提供することができる。視覚化された画像は、医療関係者が外科的処置を行うのを支援する。しかしながら、ユーザは、典型的に、目的のビューを取り込むべくカメラを手動で位置付け及び移動する必要があり、これには時間がかかり、外科的処置の流れが中断される。その結果、外科的処置中にカメラを十分に活用できない場合がある。
【発明の概要】
【0004】
例示的なシステムは、命令を格納するメモリと、メモリに通信可能に結合されるプロセッサとを含み得、プロセッサは、命令を実行して、手術セッションに関する手術セッションデータにアクセスすることであって、手術セッションは、コンピュータ支援手術システムによる1つ又は複数の動作の実行を含む、アクセスすること;手術セッションデータに基づいて、手術セッションに関連するイベントを識別すること;手術セッションデータに基づいて、イベントに関連する位置を決定すること;及び、イベント位置の決定に応答して、イベントに関連する位置の特定のビューを取り込むべくカメラのビューの自動調整を指示すること;を行うように構成される。
【0005】
例示的な方法は、カメラ制御システムが、手術セッションに関する手術セッションデータにアクセスするステップであって、手術セッションは、コンピュータ支援手術システムによる1つ又は複数の動作の実行を含む、アクセスするステップと;カメラ制御システムが、手術セッションデータに基づいて、手術セッションに関連するイベントを識別するステップと;カメラ制御システムが、手術セッションデータに基づいて、イベントに関連する位置を決定するステップと;カメラ制御システムが、イベント位置の決定に応答して、イベントに関連する位置の特定のビューを取り込むべくカメラのビューの自動調整を指示するステップと;を含み得る。
【0006】
例示的なシステムは、命令を格納するメモリと、メモリに通信可能に結合されるプロセッサとを含み、プロセッサは、命令を実行して、手術セッション中に、コンピュータ支援手術システムと通信可能にペアにされたユーザ装置から、手術セッションのワークフロー・セグメンテーションを示すユーザ入力を受信すること;ユーザ入力に少なくとも部分的に基づいて、手術セッションに関連するイベントを識別すること;手術セッションに関する手術セッションデータに基づいて、識別したイベントに関連する位置を決定すること;及び、イベント位置の決定に応答して、イベントに関連する位置の特定のビューを取り込むべくカメラのビューの自動調整を指示すること;を行うように構成される。
【図面の簡単な説明】
【0007】
添付の図面は、様々な実施形態を示しており、本明細書の一部である。図示の実施形態は単なる例であり、本開示の範囲を限定するものではない。図面全体を通して、同一又は類似の参照符号は、同一又は類似の要素を示す。
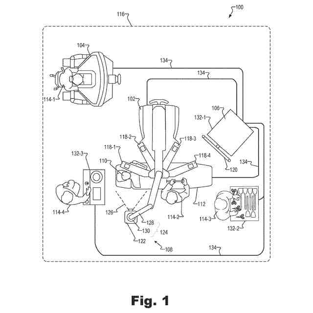
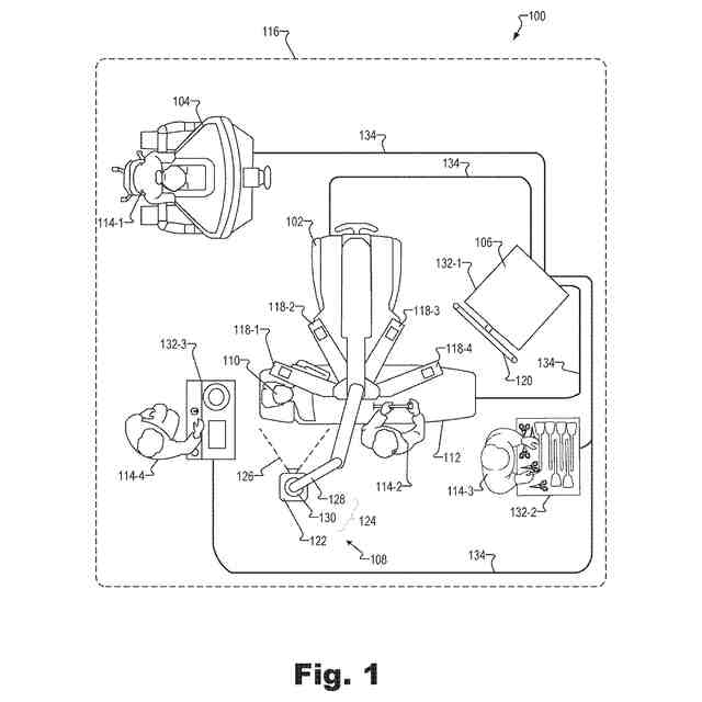
本明細書に記載の原理による例示的なコンピュータ支援手術システムを示す図である。
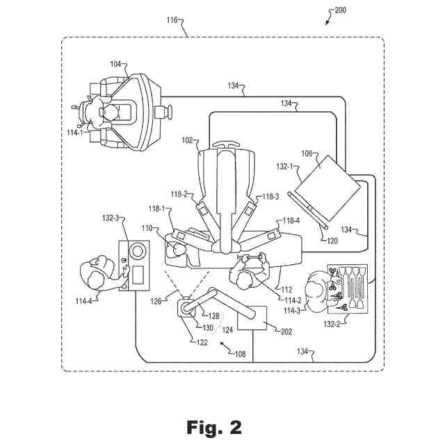
本明細書に記載の原理による別の例示的なコンピュータ支援手術システムを示す図である。
本明細書に記載の原理による例示的なカメラ制御システムを示す図である。
本明細書に記載の原理による、図3に示されるカメラ制御システムの例示的な実施態様を示す図である。
本明細書に記載の原理による、図3に示されるカメラ制御システムの別の例示的な実施態様を示す図である。
本明細書に記載の原理による、手術セッションデータ及び/又は追加のデータに基づいてイベントを識別できる例示的な方法を示す図である。
本明細書に記載の原理による、手術セッションデータ及び/又は追加のデータに基づいてイベントを識別できる例示的な方法を示す図である。
本明細書に記載の原理による、手術セッションデータ及び/又は追加のデータに基づいてイベントを識別できる例示的な方法を示す図である。
本明細書に記載の原理による例示的なイベント位置の表を示す図である。
本明細書に記載の原理による例示的なイベント位置の表を示す図である。
本明細書に記載の原理による例示的なカメラ制御方法を示す図である。
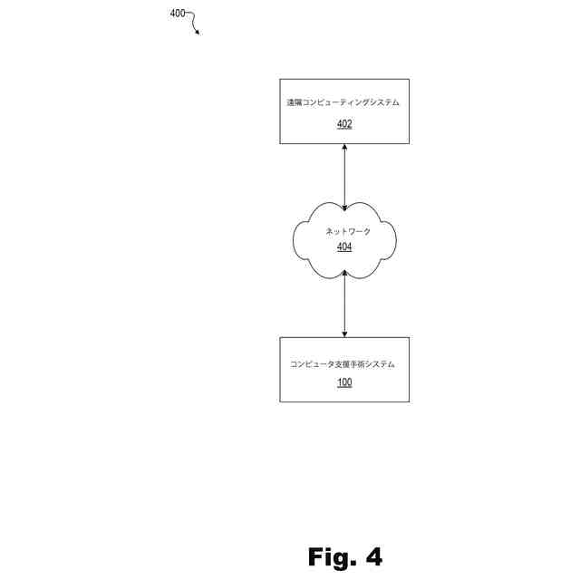
本明細書に記載の原理による例示的なコンピューティングシステムを示す図である。
【発明を実施するための形態】
【0008】
コンピュータ支援手術システムのためのカメラ制御システム及び方法が、本明細書に記載される。以下でより詳細に説明するように、例示的なカメラ制御システムは、手術セッションに関する手術セッションデータにアクセスすることができ、手術セッションは、コンピュータ支援手術システムによる1つ又は複数の動作の実行を含む。カメラ制御システムは、手術セッションデータに基づいて、手術セッションに関連するイベントを識別することができ、且つ手術セッションデータに基づいて、イベントに関連する位置を決定することができる。イベントの位置の決定に応答して、カメラ制御システムは、イベントに関連する位置の特定のビューを取り込むべくカメラのビューの自動調整を指示することができる。いくつかの例では、カメラによって取り込まれた画像は、コンピュータ支援手術システムに関連する表示装置によって表示され得る。
【0009】
例示すると、コンピュータ支援手術システムを備えた手術施設で行われる低侵襲性外科的処置中に、カメラ制御システムは、手術器具が取り付けられる第1のマニピュレータアームが第2のマニピュレータアームと衝突しており、こうして、第1のマニピュレータアームに結合した手術器具のチップ(tip)の動きを妨げることを検出することができる。結果として、カメラ制御システムは、衝突イベント位置が第1のマニピュレータアームの位置であると決定し、第1のマニピュレータアームの特定のビューを取り込むべく、手術施設内に位置付けされたカメラの自動調整を指示することができる。カメラからのビデオは、外科医が使用するユーザ制御システムに関連する表示装置によって表示することができる。こうして、外科医は、手術器具のチップが動かない理由を迅速に理解し、ユーザ制御システムでの自分の位置を(全く)離れることなく、是正措置を迅速に特定することができる。
【0010】
本明細書に記載のカメラ制御システム及び方法によって、様々な利点が提供され得る。例えば、本明細書に記載のシステム及び方法は、手術セッションの検出したコンテキスト(context:状況)に基づいて、画像を取り込むべく、手術施設内に位置付けされたカメラの調整を自動的に指示することができる。カメラの自動調整は、カメラを手動で調整することによって引き起こされる中断を排除することにより、手術セッションの効率を高めることができる。さらに、本明細書に記載のシステム及び方法は、外科的処置中にリアルタイムで関連するコンテキスト情報を手術チームのメンバーに提供することができ、これは、手術チームのメンバー間のより効果的且つ効率的な協力及び調整をもたらし、手術チームのメンバーが問題を迅速且つ効率的にトラブルシューティングするのを可能にし得る。さらに、システム及び方法は、手術セッション中に発生し得るイベントを予測し、そのようなイベントに関連する前後関係の(contextual)視覚的コンテンツの提示を指示し、こうして、手術チームのメンバーが、そのようなイベントが発生する前にそのようなイベントの準備及び/又は解決するのを可能にする。
(【0011】以降は省略されています)
この特許をJ-PlatPat(特許庁公式サイト)で参照する
関連特許
個人
短下肢装具
3か月前
個人
洗井間専家。
7か月前
個人
嚥下鍛錬装置
3か月前
個人
排尿補助器具
11日前
個人
前腕誘導装置
3か月前
個人
歯の修復用材料
4か月前
個人
胸骨圧迫補助具
1か月前
個人
ホバーアイロン
6か月前
個人
バッグ式オムツ
4か月前
個人
アイマスク装置
1か月前
個人
汚れ防止シート
26日前
個人
腰ベルト
1日前
個人
矯正椅子
4か月前
個人
ウォート指圧法
9日前
個人
シャンプー
6か月前
個人
湿布連続貼り機。
2か月前
個人
陣痛緩和具
3か月前
個人
哺乳瓶冷まし容器
3か月前
個人
歯の保護用シール
4か月前
株式会社大野
骨壷
3か月前
個人
性行為補助具
2か月前
個人
エア誘導コルセット
1か月前
株式会社八光
剥離吸引管
4か月前
株式会社コーセー
化粧料
8日前
個人
治療用酸化防御装置
1か月前
個人
精力増強キット
1か月前
株式会社ニデック
眼科装置
15日前
個人
形見の製造方法
4か月前
株式会社ニデック
眼科装置
4か月前
個人
高気圧環境装置
4か月前
個人
シリンダ式歩行補助具
2か月前
株式会社ニデック
眼科装置
1か月前
株式会社ダリヤ
毛髪化粧料
1か月前
個人
手指運動ツール
2か月前
株式会社GSユアサ
歩行器
5か月前
株式会社松風
口腔用組成物
3か月前
続きを見る
他の特許を見る