TOP
|
特許
|
意匠
|
商標
特許ウォッチ
Twitter
他の特許を見る
公開番号
2025158666
公報種別
公開特許公報(A)
公開日
2025-10-17
出願番号
2024061433
出願日
2024-04-05
発明の名称
導通検査装置及び導通検査方法
出願人
矢崎総業株式会社
代理人
個人
,
個人
主分類
G01N
25/72 20060101AFI20251009BHJP(測定;試験)
要約
【課題】電線種等が同じ回路同士が近接していたとしても、それぞれの回路を区別して非接触の導通検査を行うことが可能な導通検査装置及び導通検査方法を提供する。
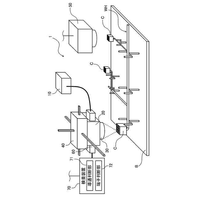
【解決手段】導通検査装置1は、端部に端子が取り付けられた複数の電線と、複数の電線のそれぞれの端子が挿入されたコネクタCとを備えたワイヤーハーネスWHに対して、非接触で導通検査を行うものであって、コネクタCに挿入された各端子に対して異なるタイミングでレーザ光を照射するレーザ発信器10等と、複数の電線のうち各端子の取付側の端部とは反対側の端部である反対端部を撮像可能な赤外線カメラ50と、各端子へのレーザ光の照射時に、各端子が取り付けられた電線の反対端部における温度が赤外線カメラ50によって所定温度以上上昇したことが確認された場合に該当回路が導通状態であると判断する検査装置70とを備える。
【選択図】図1
特許請求の範囲
【請求項1】
端部に端子が取り付けられた複数の電線と、前記複数の電線のそれぞれの端子が挿入されたコネクタとを備えたワイヤーハーネスに対して、非接触で導通検査を行う導通検査装置であって、
前記コネクタに挿入された各端子に対して異なるタイミングでレーザ光を照射する照射手段と、
前記複数の電線のうち各端子の取付側の端部とは反対側の端部である反対端部を撮像可能な赤外線カメラと、
前記照射手段の各端子へのレーザ光の照射時に、各端子が取り付けられた電線の反対端部における温度が前記赤外線カメラによって所定温度以上上昇したことが確認された場合に該当回路が導通状態であると判断する検査手段と、
を備えることを特徴とする導通検査装置。
続きを表示(約 1,400 文字)
【請求項2】
前記照射手段は、前記コネクタのうち相手側コネクタとの接続側となる端面から、各端子に対してレーザ光を照射する
ことを特徴とする請求項1に記載の導通検査装置。
【請求項3】
前記コネクタに挿入された各端子の形状及び位置の情報を取得する取得手段と、
前記取得手段により取得された各端子の形状及び位置が予め定められた正規の状態であるかを判断する端子判断手段と、
をさらに備えることを特徴とする請求項1に記載の導通検査装置。
【請求項4】
前記赤外線カメラは、反対端部を含むワイヤーハーネスの全体を撮像し、
前記検査手段は、前記照射手段の各端子へのレーザ光の照射時に、該当回路以外の他の回路で規定温度以上上昇したことが確認された場合、前記他の回路への短絡が発生していると判断する
ことを特徴とする請求項1に記載の導通検査装置。
【請求項5】
端部に端子が取り付けられた複数の電線と、前記複数の電線のそれぞれの端子が挿入されたコネクタとを備えたワイヤーハーネスに対して、非接触で導通検査を行う導通検査装置であって、
前記コネクタに挿入された各端子に対して異なるタイミングでレーザ光を照射する照射手段と、
前記複数の電線のうち各端子の取付側の端部とは反対側の端部である反対端部を撮像可能な赤外線カメラと、
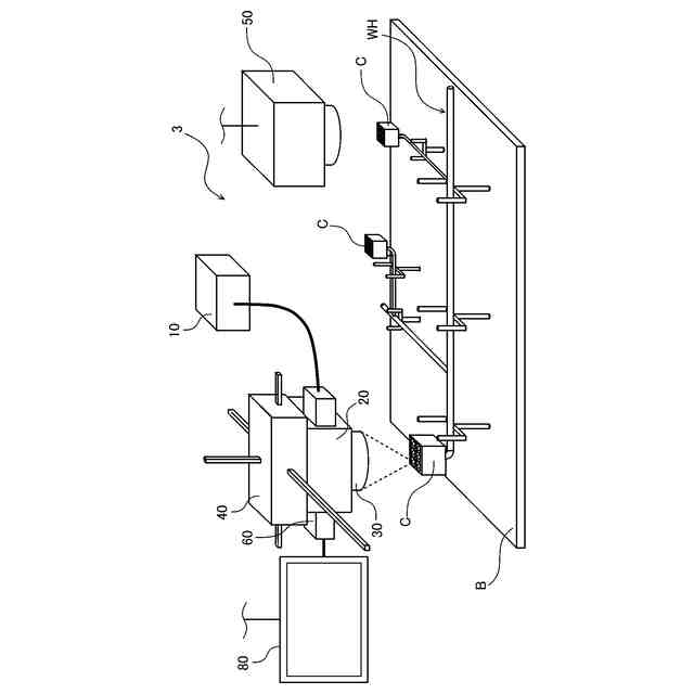
前記赤外線カメラの撮像により得られた画像情報に基づく表示を行うと共に、前記照射手段の各端子へのレーザ光の照射時に、各端子が取り付けられた電線の反対端部における温度が所定温度以上上昇した場合とそうでない場合とで区別可能に表示する表示手段と、
を備えることを特徴とする導通検査装置。
【請求項6】
端部に端子が取り付けられた複数の電線と、前記複数の電線のそれぞれの端子が挿入されたコネクタとを備えたワイヤーハーネスに対して、非接触で導通検査を行う導通検査方法であって、
前記コネクタに挿入された各端子に対して異なるタイミングでレーザ光を照射する照射工程と、
前記複数の電線のうち各端子の取付側の端部とは反対側の端部である反対端部を赤外線カメラにより撮像する撮像工程と、
前記照射工程における各端子へのレーザ光の照射時に、各端子が取り付けられた電線の反対端部における温度が前記撮像工程において得られた撮像画像により所定温度以上上昇したことが確認された場合に該当回路が導通状態であると判断する検査工程と、
を備えることを特徴とする導通検査方法。
【請求項7】
端部に端子が取り付けられた複数の電線と、前記複数の電線のそれぞれの端子が挿入されたコネクタとを備えたワイヤーハーネスに対して、非接触で導通検査を行う導通検査方法であって、
前記コネクタに挿入された各端子に対して異なるタイミングでレーザ光を照射する照射工程と、
前記複数の電線のうち各端子の取付側の端部とは反対側の端部である反対端部を赤外線カメラにより撮像する撮像工程と、
前記撮像工程における撮像により得られた画像情報に基づく表示を行うと共に、前記照射工程における各端子へのレーザ光の照射時に、各端子が取り付けられた電線の反対端部における温度が所定温度以上上昇した場合とそうでない場合とで区別可能に表示する表示工程と、
を備えることを特徴とする導通検査方法。
発明の詳細な説明
【技術分野】
【0001】
本発明は、導通検査装置及び導通検査方法に関する。
続きを表示(約 2,000 文字)
【背景技術】
【0002】
従来、ワイヤーハーネスを構成する電線に共振が発生するように電磁波を照射して赤外線センサにより非接触で電線の温度を測定することで、非接触による導通検査を行う導通検査装置及び導通検査方法が提案されている(例えば特許文献1参照)。
【先行技術文献】
【特許文献】
【0003】
特許第6554354号公報
【発明の概要】
【発明が解決しようとする課題】
【0004】
電線の共振周波数は電線長さや形状等に応じた値となる。このため、特許文献1に記載の導通検査装置及び導通検査方法は、ワイヤーハーネスのうち特定の回路において共振が発生するように電磁波を照射し、それぞれの回路に生じる温度上昇に基づいて各回路に断線等の導通異常が発生しているかを判断することができる。
【0005】
しかし、特許文献1に記載の導通検査装置及び導通検査方法は、電線種(材料及び電線径)や電線長が同じ回路が近接して複数存在する場合、これらの共振周波数が同じになってしまうことから、これらを区別した導通検査が困難となってしまう。
【0006】
本発明はこのような従来の課題を解決するためになされたものであり、その目的とするところは、電線種等が同じ回路同士が近接していたとしても、それぞれの回路を区別して非接触の導通検査を行うことが可能な導通検査装置及び導通検査方法を提供することにある。
【課題を解決するための手段】
【0007】
本発明に係る導通検査装置は、端部に端子が取り付けられた複数の電線と、前記複数の電線のそれぞれの端子が挿入されたコネクタとを備えたワイヤーハーネスに対して、非接触で導通検査を行う導通検査装置であって、前記コネクタに挿入された各端子に対して異なるタイミングでレーザ光を照射する照射手段と、前記複数の電線のうち各端子の取付側の端部とは反対側の端部である反対端部を撮像可能な赤外線カメラと、前記照射手段の各端子へのレーザ光の照射時に、各端子が取り付けられた電線の反対端部における温度が前記赤外線カメラによって所定温度以上上昇したことが確認された場合に該当回路が導通状態であると判断する検査手段と、を備える。
【0008】
また、本発明に係る導通検査装置は、端部に端子が取り付けられた複数の電線と、前記複数の電線のそれぞれの端子が挿入されたコネクタとを備えたワイヤーハーネスに対して、非接触で導通検査を行う導通検査装置であって、前記コネクタに挿入された各端子に対して異なるタイミングでレーザ光を照射する照射手段と、前記複数の電線のうち各端子の取付側の端部とは反対側の端部である反対端部を撮像可能な赤外線カメラと、前記赤外線カメラの撮像により得られた画像情報に基づく表示を行うと共に、前記照射手段の各端子へのレーザ光の照射時に、各端子が取り付けられた電線の反対端部における温度が所定温度以上上昇した場合とそうでない場合とで区別可能に表示する表示手段と、を備える。
【0009】
また、本発明に係る導通検査方法は、端部に端子が取り付けられた複数の電線と、前記複数の電線のそれぞれの端子が挿入されたコネクタとを備えたワイヤーハーネスに対して、非接触で導通検査を行う導通検査方法であって、前記コネクタに挿入された各端子に対して異なるタイミングでレーザ光を照射する照射工程と、前記複数の電線のうち各端子の取付側の端部とは反対側の端部である反対端部を赤外線カメラにより撮像する撮像工程と、前記照射工程における各端子へのレーザ光の照射時に、各端子が取り付けられた電線の反対端部における温度が前記撮像工程において得られた撮像画像により所定温度以上上昇したことが確認された場合に該当回路が導通状態であると判断する検査工程と、を備える。
【0010】
また、本発明に係る導通検査方法は、端部に端子が取り付けられた複数の電線と、前記複数の電線のそれぞれの端子が挿入されたコネクタとを備えたワイヤーハーネスに対して、非接触で導通検査を行う導通検査方法であって、前記コネクタに挿入された各端子に対して異なるタイミングでレーザ光を照射する照射工程と、前記複数の電線のうち各端子の取付側の端部とは反対側の端部である反対端部を赤外線カメラにより撮像する撮像工程と、前記撮像工程における撮像により得られた画像情報に基づく表示を行うと共に、前記照射工程における各端子へのレーザ光の照射時に、各端子が取り付けられた電線の反対端部における温度が所定温度以上上昇した場合とそうでない場合とで区別可能に表示する表示工程と、を備える。
【発明の効果】
(【0011】以降は省略されています)
この特許をJ-PlatPat(特許庁公式サイト)で参照する
関連特許
矢崎総業株式会社
箱状体
12日前
矢崎総業株式会社
箱状体
12日前
矢崎総業株式会社
照明灯
1か月前
矢崎総業株式会社
コネクタ
17日前
矢崎総業株式会社
コネクタ
12日前
矢崎総業株式会社
コネクタ
12日前
矢崎総業株式会社
コネクタ
13日前
矢崎総業株式会社
コネクタ
13日前
矢崎総業株式会社
コネクタ
13日前
矢崎総業株式会社
コネクタ
1か月前
矢崎総業株式会社
コネクタ
17日前
矢崎総業株式会社
コネクタ
11日前
矢崎総業株式会社
止水部材
17日前
矢崎総業株式会社
コネクタ
19日前
矢崎総業株式会社
コネクタ
19日前
矢崎総業株式会社
コネクタ
21日前
矢崎総業株式会社
コネクタ
25日前
矢崎総業株式会社
コネクタ
24日前
矢崎総業株式会社
照明構造
17日前
矢崎総業株式会社
コネクタ
1か月前
矢崎総業株式会社
コネクタ
10日前
矢崎総業株式会社
バスバー
3日前
矢崎総業株式会社
コネクタ
1か月前
矢崎総業株式会社
コネクタ
1か月前
矢崎総業株式会社
コネクタ
6日前
矢崎総業株式会社
ゴムブーツ
17日前
矢崎総業株式会社
カバー構造
1か月前
矢崎総業株式会社
電気接続箱
12日前
矢崎総業株式会社
電気接続箱
12日前
矢崎総業株式会社
電気接続箱
12日前
矢崎総業株式会社
電気接続箱
24日前
矢崎総業株式会社
プロテクタ
17日前
矢崎総業株式会社
ドアハーネス
25日前
矢崎総業株式会社
端子付き電線
4日前
矢崎総業株式会社
電流検出装置
19日前
矢崎総業株式会社
フラット導体
12日前
続きを見る
他の特許を見る