TOP
|
特許
|
意匠
|
商標
特許ウォッチ
Twitter
他の特許を見る
10個以上の画像は省略されています。
公開番号
2025158081
公報種別
公開特許公報(A)
公開日
2025-10-16
出願番号
2025036318
出願日
2025-03-07
発明の名称
シールドコネクタ
出願人
日本圧着端子製造株式会社
代理人
個人
主分類
H01R
13/6581 20110101AFI20251008BHJP(基本的電気素子)
要約
【課題】高い周波数帯域での使用を実現できるシールドコネクタを提供する。
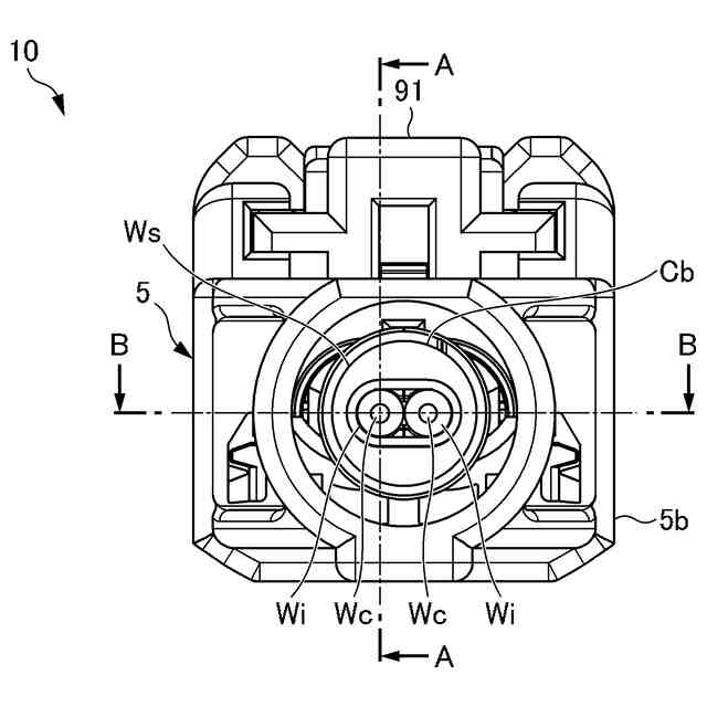
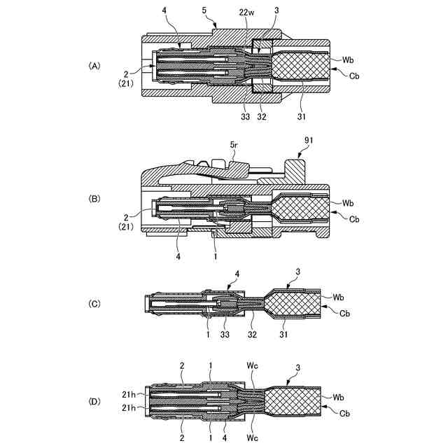
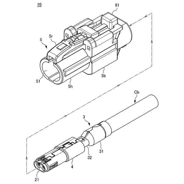
【解決手段】コネクタ10は、芯線Wcを結線する一対の端子1・1と、一対の端子1・1を保持した内部ハウジング2と、一対の電線W・Wの露出部を密着可能に覆う金属シェル3と、金属シェル3と直列に接続したカバーシェル4と、を備える。電線Wの絶縁被覆露出部が導入される端子導入孔部32の内孔が分割されることで、一対の端子導入孔32h・32hを圧着部31よりも細く外縁の一部が連通した「無限の記号」状に形成しているので、電線Wの絶縁被覆Wiが端子導入孔32hの内壁に密着している。従って、高周波帯域での良好な信号伝送が可能となる。
【選択図】図8
特許請求の範囲
【請求項1】
芯線を絶縁被覆した一対の電線、これらの電線を覆う編組線、及び、前記編組線を被覆する絶縁シースを備えるシールド付き差動ケーブルの端末に取り付けできるシールドコネクタであって、
前記芯線を結線する端子と、
一対の前記端子を内部に保持した内部ハウジングと、
前記編組線と電気的に接続し、前記編組線の端末から前記端子に至る一対の前記電線の露出部を密着可能に覆う楕円筒状の金属シェルと、
前記金属シェルと直列に接続し、前記内部ハウジング及び前記金属シェルの前部を覆う楕円筒状のカバーシェルと、を備え、
前記金属シェルは、
前記編組線を外周方向から圧着する圧着部と、
前記電線の露出部を通す端子導入孔部と、
前記内部ハウジングを外周方向から覆う連結部と、を有し、
前記端子導入孔部は、前記圧着部よりも細く外縁の一部が連通した一対の端子導入孔を有し、
前記内部ハウジングは、一対の前記電線の端末を所定のピッチに離隔する楔片を端部から突出している、シールドコネクタ。
続きを表示(約 330 文字)
【請求項2】
前記端子は、
一方の端部に形成し、前記芯線を圧着により接続するコンダクタバレルを有する電線接続部と、
他方の端部に形成し、相手側端子と接続可能な一対の挟持片を有する端子接続部と、を備えている、請求項1記載のシールドコネクタ。
【請求項3】
前記シールド付き差動ケーブルが接続された状態の前記金属シェルを内部に保持した外部ハウジングを更に備える、請求項1又は2記載のシールドコネクタ。
【請求項4】
前記外部ハウジングは、前記端子導入孔部に向かって下面から挿入され、当該外部ハウジングに対して前記金属シェルの軸方向の移動を制約する第2の位置決め保証部材を有している、請求項3記載のシールドコネクタ。
発明の詳細な説明
【技術分野】
【0001】
本発明は、シールドコネクタに関する。特に、芯線を絶縁被覆した一対の電線、これらの電線を覆う編組線、及び、編組線を被覆する絶縁シースを備えるシールド付き差動ケーブルの端末に取り付けできるシールドコネクタの構造に関する。
続きを表示(約 1,700 文字)
【背景技術】
【0002】
STQ(Shielded Twisted Quad:シールドツイストクァッド)ケーブル、又はSTP(Shielded Twisted Pair:シールドツイストペア)ケーブルなどのシールド付き差動ケーブルは、2本対の電線を編組線で覆うことで、芯線を伝送する電気信号を不要な電磁波から遮断できる。
【0003】
近年、自動車に実装された電子機器などに電気信号を伝送するワイヤハーネスには、ノイズの影響を受け難く、高周波信号を伝送可能なことから、シールド付き差動ケーブル(以下、シールドケーブルという)の端末に取り付けたシールドコネクタがよく使用されている。
【0004】
STPケーブルの端末に取り付けたシールドコネクタであって、十分なシールド効果を奏することができるシールドコネクタが知られている(例えば、特許文献1参照)。
【先行技術文献】
【特許文献】
【0005】
特開2020-98719号公報
【発明の概要】
【発明が解決しようとする課題】
【0006】
特許文献1によるシールドコネクタは、芯線の外周部が絶縁被覆で覆われた少なくとも1本以上の電線を有し、かつ電線の外周部を囲む編組線の外周に配置された絶縁シースを有するシールドケーブルの端末に取り付けられたシールドコネクタであって、シールドケーブルの端末における絶縁被覆と編組線が除去されて露出した芯線に接続される端子と、端子を保持する絶縁性の内部ハウジングと、電線の露出部分を覆う導電性のワイヤシールド部材と、内部ハウジング及びワイヤシールド部材を覆う導電性の四角柱状のシェル部材とを備え、ワイヤシールド部材は、電線の露出部分が延びる方向に互いに離れた2つ以上のシェル部材接点部によりシェル部材に電気的に接続され、二つ以上のシェル部材接点部として、端子に近接して配置された少なくとも1つの前側接点部と、前側接点部よりもシールドケーブルの絶縁被覆に近接して配置された少なくとも一つの後側接点部とを有し、ワイヤシールド部材は、電線の露出部分の外周部を囲む筒状部と、筒状部の前端部に連結され、かつ内部ハウジングの後端部に引っ掛かることにより内部ハウジングに対する位置決めする位置決め部とを有している。
【0007】
特許文献1によるシールドコネクタは、シールドケーブルの端末における絶縁被覆と編組線が除去されて露出した芯線に接続される端子と、端子を保持する絶縁性の内部ハウジングと、電線の露出部分を覆う導電性のワイヤシールド部材と、内部ハウジング及びワイヤシールド部材を覆う導電性のシェル部材とを備え、ワイヤシールド部材は、電線の露出部分が延びる方向に互いに離れた2つ以上のシェル部材接点部によりシェル部材に電気的に接続されているので、シールドケーブルの端末に取り付けられて十分なシールド効果を奏することができる、としている。
【0008】
しかしながら、特許文献1によるシールドコネクタは、電線の編組線除去部を覆う四角柱状のシェル部材が、電線の絶縁被覆とシェル部材間に空間(空気層)を設けているので、高い周波数帯域での使用はノイズ耐性を低減させるという問題がある。
【0009】
一対の電線を有し、一対の電線の周囲を覆う編組線を有するシールドケーブルの端末に取り付け可能なシールドコネクタであって、高い周波数帯域での使用を実現でき、かつ、インピーダンスの低減を可能としたシールドコネクタが求められている。そして、以上のことが本発明の課題といってよい。
【0010】
本発明は、このような課題に鑑みてなされたものであり、一対の電線を有し、一対の電線の周囲を覆う編組線を有するシールドケーブルの端末に取り付け可能なシールドコネクタであって、高い周波数帯域での使用を実現でき、かつ、インピーダンスの低減を可能としたシールドコネクタを提供することを目的とする。
【課題を解決するための手段】
(【0011】以降は省略されています)
この特許をJ-PlatPat(特許庁公式サイト)で参照する
関連特許
個人
フレキシブル電気化学素子
10日前
ローム株式会社
半導体装置
19日前
ローム株式会社
半導体装置
19日前
ローム株式会社
半導体装置
19日前
ローム株式会社
半導体装置
12日前
日新イオン機器株式会社
イオン源
6日前
株式会社ユーシン
操作装置
10日前
ローム株式会社
半導体装置
17日前
太陽誘電株式会社
コイル部品
10日前
個人
半導体パッケージ用ガラス基板
20日前
株式会社ホロン
冷陰極電子源
4日前
株式会社GSユアサ
蓄電装置
17日前
太陽誘電株式会社
全固体電池
17日前
オムロン株式会社
電磁継電器
11日前
株式会社GSユアサ
蓄電設備
10日前
株式会社GSユアサ
蓄電設備
10日前
株式会社GSユアサ
蓄電装置
21日前
株式会社ホロン
冷陰極電子源
17日前
トヨタ自動車株式会社
蓄電装置
10日前
日本特殊陶業株式会社
保持装置
21日前
日東電工株式会社
積層体
11日前
日本特殊陶業株式会社
保持装置
17日前
ノリタケ株式会社
熱伝導シート
10日前
サクサ株式会社
電池の固定構造
10日前
日本特殊陶業株式会社
保持装置
17日前
トヨタ自動車株式会社
バッテリ
11日前
日本特殊陶業株式会社
保持装置
19日前
ローム株式会社
電子装置
21日前
TDK株式会社
電子部品
17日前
株式会社ダイヘン
搬送装置
10日前
TDK株式会社
コイル部品
17日前
東レエンジニアリング株式会社
実装装置
11日前
東レエンジニアリング株式会社
実装装置
17日前
日東電工株式会社
電子装置
13日前
日本特殊陶業株式会社
電極
17日前
トヨタ自動車株式会社
電池パック
3日前
続きを見る
他の特許を見る