TOP
|
特許
|
意匠
|
商標
特許ウォッチ
Twitter
他の特許を見る
10個以上の画像は省略されています。
公開番号
2025157979
公報種別
公開特許公報(A)
公開日
2025-10-16
出願番号
2024060384
出願日
2024-04-03
発明の名称
二次電池及び二次電池の製造方法
出願人
トヨタバッテリー株式会社
代理人
弁理士法人R&C
主分類
H01M
50/538 20210101AFI20251008BHJP(基本的電気素子)
要約
【課題】捲回軸方向における電極体の長さを長くでき、電池容量を大きくできる二次電池を提供する。
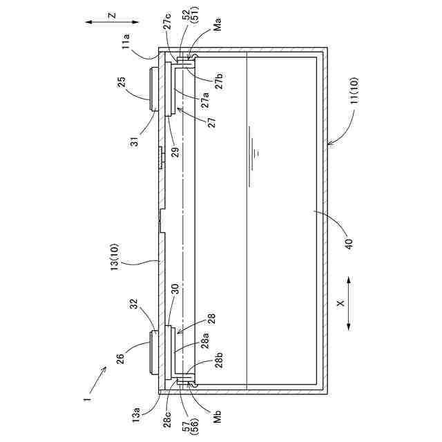
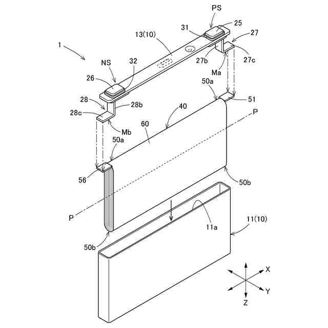
【解決手段】筐体11と蓋体13と電極体40と電池端子PS,NSとを備えた二次電池1であって、電極体40は、捲回軸方向における少なくとも一方端の上部に円弧部50aを有しており、当該円弧部50aから正極材又は負極材のタブが積層されてなるタブ群51,56が延出しており、捲回軸が水平となるように筐体11の内部に収容されており、電池端子PS,NSは、電極体40のタブ群51,56と接合される接合面Ma,Mbを先端部に有した集電端子27,28を有しており、タブ群51,56と集電端子27,28とは、接合面Ma,Mbにタブ群51,56が接合された状態で、蓋体13と電極体40との間の空間に位置している。
【選択図】図1
特許請求の範囲
【請求項1】
上部に開口を有する筐体と、前記筐体の開口に取り付けられた蓋体と、正極材及び負極材がセパレータを介して積層した状態で捲回軸周りに捲回された扁平形状の電極体と、前記蓋体に取り付けられた電池端子と、を備えた二次電池であって、
前記電極体は、
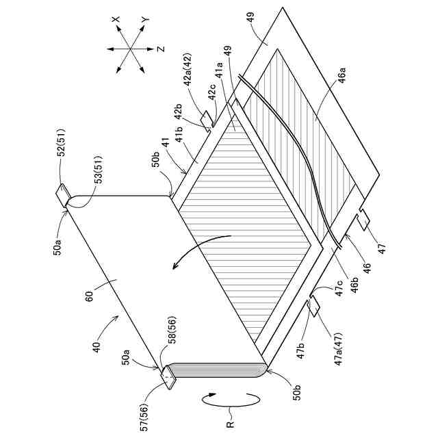
捲回軸方向における少なくとも一方端の上部に円弧部を有しており、当該円弧部から前記正極材又は前記負極材のタブが積層されてなるタブ群が延出しており、
前記捲回軸が水平となるように前記筐体の内部に収容されており、
前記電池端子は、
前記電極体の前記タブ群と接合される接合面を先端部に有した集電端子を有しており、
前記タブ群と前記集電端子とは、前記接合面に前記タブ群が接合された状態で、前記蓋体と前記電極体との間の空間に位置している二次電池。
続きを表示(約 1,100 文字)
【請求項2】
前記電極体は、前記捲回軸方向における両端に前記円弧部を有しており、前記捲回軸方向における一方側の前記円弧部から前記正極材のタブが積層されてなる正極タブ群が延出し、他方側の前記円弧部から前記負極材のタブが積層されてなる負極タブ群が延出しており、
前記電池端子として、正極電池端子及び負極電池端子を備えている、請求項1に記載の二次電池。
【請求項3】
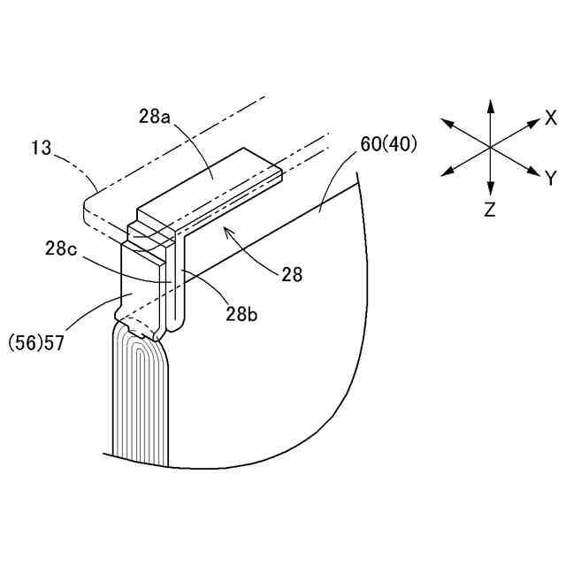
前記集電端子は、先端側から順に少なくとも、前記接合面を有した板状の第1部分と、前記第1部分と連続する板状の第2部分とを有しており、
前記第2部分は、前記蓋体と前記電極体との間の空間に位置し、
前記第1部分は、前記捲回軸方向において前記第2部分と前記筐体との間に位置し、且つ、前記接合面が前記筐体の側を向くように、前記第2部分に向けて折り曲げられている、請求項1に記載の二次電池。
【請求項4】
前記タブ群は、前記集電端子が接合される本体部と、前記電極体の端部と接続した接続部とを有しており、
前記本体部は前記接続部よりも前記電極体の捲回方向における長さが長い、請求項1に記載の二次電池。
【請求項5】
複数の前記電極体を備えており、
前記集電端子の同じ前記接合面に前記複数の電極体の前記タブ群が接合されている、請求項1~4のいずれか一項に記載の二次電池。
【請求項6】
上部に開口を有する筐体と、前記筐体の開口を閉塞する蓋体と、帯状の正極材及び負極材がセパレータを介して積層した状態で捲回軸周りに捲回された扁平形状の電極体と、前記蓋体に取り付けられた電池端子と、を備えており、
前記電極体は、捲回軸方向における少なくとも一方端の上部に円弧部を有しており、当該円弧部から前記正極材又は前記負極材のタブが積層されてなるタブ群が延出しており、
前記電池端子は、前記電極体の前記タブ群に接合される接合面を先端部に有した集電端子を有した二次電池を製造する方法であって、
前記電極体の前記タブ群と、前記電池端子における前記集電端子の前記接合面とが上下方向において対向するように配置して、前記タブ群と前記集電端子とを接合する接合工程と、
前記接合工程後に、前記タブ群及び前記集電端子を両者の接合部が前記蓋体と前記電極体との間の空間に位置するように折り曲げる折り曲げ工程と、
前記折り曲げ工程後に、前記電池端子を介して前記蓋体と一体となった前記電極体を前記捲回軸が水平となるように前記筐体の内部に収容し、前記筐体の開口縁部と前記蓋体の周縁部とを溶接する封止工程と、を少なくとも含む、二次電池の製造方法。
発明の詳細な説明
【技術分野】
【0001】
本発明は、二次電池及び二次電池の製造方法に関する。
続きを表示(約 1,600 文字)
【背景技術】
【0002】
従来、電気自動車などのモータを駆動源とする電動車両に用いられる二次電池は、電極体や当該電極体が収容されるケース、当該ケースに取り付けられ、電極体に電気的に接続された電池端子などを備えている。この種の二次電池では、電池端子と電極体とを電気的に接続する方法として、例えば、電極体にタブ群を形成し、当該タブ群に電池端子を接合する方法がある。このような方法で電極体と電池端子とを電気的に接続した二次電池として、例えば特許文献1に開示された二次電池が提案されている。
【0003】
特許文献1記載の二次電池は、電極体材料(正極材や負極材)が積層された状態で捲回軸周りに捲回されてなる扁平形状の電極体や、電極体に電気的に接続される電池端子などを備えている。電極体は、捲回軸方向における両端面から延出されたタブ群を有しており、電池端子は、電極体のタブ群に接合される板状の集電部を有している。この二次電池においては、電池端子の集電部が電極体の捲回軸方向における両端面と対向するように配置され、集電部がタブ群に接合されている。
【先行技術文献】
【特許文献】
【0004】
中国実用新案第205385061号明細書
【発明の概要】
【発明が解決しようとする課題】
【0005】
特許文献1記載の二次電池では、電極体のタブ群に電池端子の集電部を接合するために、電池ケースと電極体の長手方向両端面との間に集電部を配置するためのスペースが必要となる。そのため、当該スペースの分だけ電極体の捲回軸方向における長さを短くする必要があり、電池容量の減少が避けられない。
【0006】
本発明は以上の実情に鑑みなされたものであり、捲回軸方向における電極体の長さを長くでき、電池容量を大きくできる二次電池及び当該二次電池の製造方法の提供を、その目的とする。
【課題を解決するための手段】
【0007】
上記目的を達成するための本発明に係る二次電池の特徴構成は、
上部に開口を有する筐体と、前記筐体の開口に取り付けられた蓋体と、正極材及び負極材がセパレータを介して積層した状態で捲回軸周りに捲回された扁平形状の電極体と、前記蓋体に取り付けられた電池端子と、を備えた二次電池であって、
前記電極体は、
捲回軸方向における少なくとも一方端の上部に円弧部を有しており、当該円弧部から前記正極材又は前記負極材のタブが積層されてなるタブ群が延出しており、
前記捲回軸が水平となるように前記筐体の内部に収容されており、
前記電池端子は、
前記電極体の前記タブ群と接合される接合面を先端部に有した集電端子を有しており、
前記タブ群と前記集電端子とは、前記接合面に前記タブ群が接合された状態で、前記蓋体と前記電極体との間の空間に位置している点にある。
【0008】
上記特徴構成によれば、電極体の捲回軸方向における端部と筐体との間に集電端子を配置するスペースが不要である。したがって、本発明の二次電池によれば、捲回軸方向における電極体の長さを長くでき、電池容量を大きくできる。
【0009】
本発明に係る二次電池のさらなる特徴構成は、
前記電極体は、前記捲回軸方向における両端に前記円弧部を有しており、前記捲回軸方向における一方側の前記円弧部から前記正極材のタブが積層されてなる正極タブ群が延出し、他方側の前記円弧部から前記負極材のタブが積層されてなる負極タブ群が延出しており、
前記電池端子として、正極電池端子及び負極電池端子を備えている点にある。
【0010】
上記特徴構成によれば、正極電池端子と負極電池端子との距離が離れるため、二次電池の安全性が高くなる。
(【0011】以降は省略されています)
この特許をJ-PlatPat(特許庁公式サイト)で参照する
関連特許
個人
フレキシブル電気化学素子
10日前
日本発條株式会社
積層体
21日前
ローム株式会社
半導体装置
17日前
ローム株式会社
半導体装置
19日前
株式会社ユーシン
操作装置
10日前
ローム株式会社
半導体装置
19日前
日新イオン機器株式会社
イオン源
6日前
個人
防雪防塵カバー
21日前
ローム株式会社
半導体装置
12日前
ローム株式会社
半導体装置
19日前
オムロン株式会社
電磁継電器
11日前
株式会社ホロン
冷陰極電子源
17日前
株式会社GSユアサ
蓄電装置
17日前
太陽誘電株式会社
全固体電池
17日前
株式会社GSユアサ
蓄電装置
21日前
太陽誘電株式会社
コイル部品
10日前
株式会社ホロン
冷陰極電子源
4日前
株式会社GSユアサ
蓄電設備
10日前
株式会社GSユアサ
蓄電設備
10日前
個人
半導体パッケージ用ガラス基板
20日前
日本特殊陶業株式会社
保持装置
19日前
日本特殊陶業株式会社
保持装置
17日前
トヨタ自動車株式会社
蓄電装置
10日前
TDK株式会社
電子部品
17日前
ローム株式会社
電子装置
21日前
ノリタケ株式会社
熱伝導シート
10日前
日本特殊陶業株式会社
保持装置
21日前
日東電工株式会社
積層体
11日前
日本特殊陶業株式会社
保持装置
17日前
トヨタ自動車株式会社
バッテリ
11日前
サクサ株式会社
電池の固定構造
10日前
トヨタ自動車株式会社
二次電池
21日前
SMK株式会社
キートップ及びスイッチ
12日前
ローム株式会社
半導体装置
11日前
株式会社トクヤマ
シリコンエッチング液
4日前
株式会社トクヤマ
シリコンエッチング液
4日前
続きを見る
他の特許を見る