TOP
|
特許
|
意匠
|
商標
特許ウォッチ
Twitter
他の特許を見る
10個以上の画像は省略されています。
公開番号
2025157258
公報種別
公開特許公報(A)
公開日
2025-10-15
出願番号
2025106926,2024504477
出願日
2025-06-25,2022-05-19
発明の名称
経カテーテル的人工弁(THV)システム
出願人
メリル・ライフ・サイエンシーズ・ピーブイティー・リミテッド
代理人
弁理士法人広江アソシエイツ特許事務所
主分類
A61F
2/24 20060101AFI20251007BHJP(医学または獣医学;衛生学)
要約
【課題】径方向に収縮した状態でデリバリーカテーテルのバルーンに装着するのに適した、径方向に拡張可能かつ収縮可能な人工大動脈弁が開示されている。
【解決手段】人工大動脈弁は、角度付きストラットの3つの円周方向に伸びる列を有する支持フレームを含む。円周方向に伸びる角度付きストラットの1列の任意の2つの連続する角度付きストラットは、ピーク/谷を形成する。隣接する角度付きストラットの列は、リンク(菱形セルまたは菱面体)によって相互に接続されており、2列のセルを形成する。人工大動脈弁は、3つの弁突、内側スカート、および外側スカートを含む。支持フレームとデリバリーカテーテルは、人工大動脈弁を目標部位に簡単かつ正確に展開する方法を提供する。
【選択図】図1
特許請求の範囲
【請求項1】
放射状に拡張可能かつ折り畳み可能であり、放射状に折りたたまれた状態でデリバリーシステムのバルーンに装着するのに適した人工大動脈弁(100)であって、
前記人工大動脈弁(100)は、遠位端(100a)、近位端(100b)および3列の円周方向に伸びる角度付きストラット(10a、10b、10c)を有する径方向に折り畳み可能および展開可能な支持フレーム(101)を備え、前記3列の円周方向に伸びる角度付きストラット(10a、10b、10c)は、前記支持フレーム(101)の近位端(100a)における上列の角度付きストラット(10a)、前記支持フレーム(101)の遠位端(100b)における下列の角度付きストラット(10c)、および前記上列の角度付きストラット(10a)と前記下列の角度付きストラット(10c)の間に位置する中列の角度付きストラット(10b)を含み、前記下列の角度付きストラット(10c)が前記支持フレーム(101)の流入端(100b)側にあり、
前記3列の円周方向に伸びる角度付きストラット(10a、10b、10c)は、連続する2つの角度付きストラットがそれぞれピークまたは谷を形成する波形を有し、前記上列の角度付きストラット(10a)のピークは前記中列の角度付きストラット(10b)の谷に面し、前記中列の角度付きストラット(10b)のピークは前記下列の角度付きストラット(10c)の谷に面し、
前記3列の円周方向に伸びる角度付きストラット(10a、10b、10c)のうち隣接する列の角度付きストラット同士は、前記遠位端(100a)と前記近位端(100b)の間に2つの隣接して配置されたセル列(101b)を含む支持フレーム(101)を形成するために相互に接続され、
前記上列の角度付きストラット(10a)の谷は、リンクによって前記中列の角度付きストラット(10b)の対応するピークに接続され、各リンクは菱形セル(101c)または菱面体(101d/101c’)を形成することによって、交差した八角形セルを含むセル列(101b2)を形成し、各交連部で菱面体(101d/101c’)または菱形セル(101c)が交互に配置され、前記菱面体(101d/101c’)は内部が中実構造であり、前記菱形セル(101c)は内部が開放構造であり、
前記中列の角度付きストラット(10b)の谷は、リンクによって前記下列の角度付きストラット(10c)の対応するピークに接続され、各リンクは菱形セル(101c)または菱面体(101d/101c’)を形成することによって、交差した八角形セルを含む上列のセル(101b2)に隣接して、交差した八角形セルを含むセル列(101b1)を形成し、各交連部で菱形セル(101c)または菱面体(101d/101c’)が交互に配置され、菱形セル(101c)は内部が開放構造であり、菱面体(101d/101c’)は内部が中実構造であり、
下列のセル(101b1)は前記支持フレーム(100)の流入端(100b)側にあり、上列のセル(101b2)は前記支持フレーム(101)の流出端(100a)側にあり、
前記上列のセル列(101b2)は、3つの菱面体から構成されており、前記3つの菱面体は、互いに角度を付けて配置され、弁尖タブ(103)が取り付けられる3つの交連取り付け部(101d)を形成し、前記3つの菱面体(101d)には穴(101d1)があけられ、
前記人工大動脈弁(100)は、前記人工大動脈弁(100)の流入端から流出端に向かって血液の一方向の流れを可能にし、弁尖(103)の開閉によって逆方向の血液の流れを防ぐのに十分な動きを与える柔軟性を有する生体適合性材料製の3つの弁尖(103)をさらに備え、
前記人工大動脈弁(100)は、生体適合性材料製の内側スカート(105)をさらに備え、前記内側スカート(105)は、前記下列のセル(101b1)の内側表面を少なくとも部分的に覆い、
前記人工大動脈弁(100)は、生体適合性材料製の外側スカート(107)をさら
に備え、前記外側スカート(107)は、前記下列のセル(101b1)の外側表面を少なくとも部分的に覆う、人工大動脈弁(100)。
続きを表示(約 1,300 文字)
【請求項2】
前記支持フレーム(101)の前記上列のセル(101b2)のセルと前記下列のセル列(101b1)のセルは同じサイズである、請求項1に記載の人工大動脈弁(100)。
【請求項3】
前記支持フレーム(100)の前記上列のセル(101b2)のセルは、前記下列のセル(101b1)のセルのサイズより大きいかまたは小さい、請求項1に記載の人工大動脈弁(100)。
【請求項4】
前記上列のセル(101b2)の穴あきの前記3つの菱面体(101d)以外の前記支持フレーム(101)の各リンクは、菱形セル(101c)または穴なし菱面体(101c’)であり、前記下列のセル(101b1)の各リンクは、菱形セル(101c)または穴なし菱面体(101c’)の少なくとも一方である、請求項1に記載の人工大動脈弁(100)。
【請求項5】
前記上列のセル(101b2)の穴あきの前記3つの菱面体(101d)以外の前記支持フレーム(101)のリンクは、菱面体(101c’)であり、前記下列のセル(101b1)のすべてのリンクは、菱形セル(101c)である、請求項1に記載の人工大動脈弁(100)。
【請求項6】
前記上列のセル(101b2)の穴あきの前記3つの菱面体(101d)以外の前記支持フレーム(100)のリンクは、菱面体(101c’)であり、前記下列のセル(101b1)のすべてのリンクは、菱形セル(101c)である、請求項1に記載の人工大動脈弁(100)。
【請求項7】
前記上列のセル(101b2)の穴あきの前記3つの菱面体(101d)以外の前記支持フレーム(101)の前記上列のセル(101b2)および前記下列のセル(101b1)のすべてのリンクは、菱面体(101c’)を形成する、請求項1に記載の人工大動脈弁(100)。
【請求項8】
前記上列のセル(101b2)の穴あきの前記菱面体(101d)以外の前記支持フレーム(101)の前記上列のセル(101b2)および前記下列のセル(101b1)のすべてのリンクは、菱形セル(101c)である、請求項1に記載の人工大動脈弁(100)。
【請求項9】
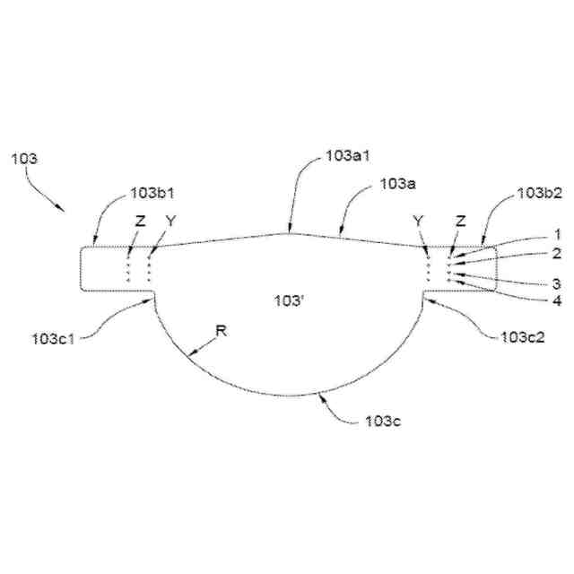
各弁尖(103)は、頂点(103a1)を有するまたは有さない比較的直線的な上端(103a)、前記上端(103a)の両側の弁尖(103)における1つの交連タブ(103b1,103b2)、および前記内側スカート(105)に取り付けられた波状の下端(103c)を有し、前記上端(103a)は交連のために自由な状態に保たれる、請求項1に記載の人工大動脈弁(100)。
【請求項10】
前記弁尖(103)は、頂点(103a1)を有するまたは有さない比較的直線的な上端(103a)、前記上端(103a)の両側の弁尖(103)における1つの交連タブ(103b1,103b2)、および前記内側スカート(105)に取り付けられた直線的な下端(103c’)と2つの側端(103c”)を有し、前記上端(103a)は交連のために自由な状態に保たれる、請求項1に記載の人工大動脈弁(100)。
(【請求項11】以降は省略されています)
発明の詳細な説明
【技術分野】
【0001】
本発明は、人工システムに関連する。より具体的には、本発明は、人工弁経カテーテル心臓弁システムに関する。
続きを表示(約 2,200 文字)
【背景技術】
【0002】
人工心臓弁の機能は、病気になった本来の心臓弁の代わりをすることである。置換手術は外科的(開心臓手術を用いる)または経皮的な方法で行われる可能性がある。
【0003】
支持フレームの設計は、人工弁の性能において重要な役割を果たす。長年にわたり、このような疾患に対する決定的な治療法は、開胸手術による心臓弁の外科的修復または置換であったが、このような手術は多くの合併症を引き起こしやすいものであった。一部の患者は、手術に伴う外傷や体外血液循環の継続時間のために、手術に耐えることができない。このため、多くの患者が手術不可能と判断され、未治療のままになっている。
【0004】
外科手術に代わって、開胸手術よりもはるかに侵襲の少ない、柔軟なカテーテルを用いて人工心臓弁を体内に導入し、留置(インプラント)する経皮的カテーテル治療法が開発された。この手術法では、人工弁は、軟性カテーテルの先端部にあるバルーンに圧着して装着され、経カテーテル心臓弁システム(THV)と呼ばれている。カテーテルは、通常は末梢動脈を介して(まれに静脈を介して)血管に導入されるのが最も一般的である。患者の総大腿動脈、場合によっては腋窩、頸動脈、またある可能性が最も高く、まれに経心尖ルート(心臓のピークを通る)などが考えられる。バルーンに人工弁が圧着されたカテーテルは、圧着された人工弁が留置(インプラント)部位に到達するまで血管内を進行する。弁は、弁が取り付けられたバルーンを膨らませることによって、欠損した本来の弁の部位で機能的な大きさまで拡張することができる。あるいは、人口大動脈弁は、拘束シース(リテーニングシース)を引き抜くことによって弁を機能サイズに拡張する自己拡張式ステントまたはサポート支持フレームを有してもよい。前述の人工弁は「バルーン拡張式」、後述の人工弁は「自己拡張式」と呼ばれる。
【0005】
バルーン拡張式弁と自己拡張式弁は、どちらも、通常は管状のスキャフォールド構造である支持フレームまたはステントと、通常は3枚の複数の弁尖を内蔵している。
【0006】
人工弁の性能は、支持フレームの設計によって大きく左右される。人工弁の長期的な性能を達成するためには、支持フレームは、放射状に崩壊したり圧縮されたりする動脈力に耐える十分な放射状強度を有しなければならない。また、支持フレームは、収縮期と拡張期に人工弁が開閉することによって生じる動脈循環力に耐える十分な疲労抵抗性を有しなければならない。これらの要件を考慮して、経カテーテル人工心臓弁の支持フレームの設計は、構造的な堅牢性、十分な放射状強度または剛性、および高い疲労強度に基づいて行うべきである。さらに、支持フレームのサイズおよび/または軸方向の長さは、ネイティブ解剖学とのより優れたインターフェイスを確保するために、望ましいレベルに最適化することが不可欠である。
【0007】
特許文献1および特許文献2として開示されている経カテーテル大動脈人工心臓弁(THV)に関する特許文献を参照されたい。上記特許文献で開示された構成を使用して製造されたTHVは、従来サイズ、中間サイズ、特大サイズという大きなサイズのマトリックスを有し、デリバリーシステムのバルーンに直接クリンピングされる。
【0008】
上記特許文献に開示されたTHVシステムは、以下のような未解決の臨床ニーズに対応
するものである:
1.重度大動脈弁狭窄症(中等度から高リスクの手術リスク、すなわち米国胸部外科学会(STS)リスクレベル≧4%)。
2.STSリスクレベルが4%未満の低リスク外科人口。
3.症状のある中等度大動脈弁狭窄症。
4.低流量、低勾配を呈する患者。
5.65歳未満の若年患者へのインプラント。
6.二尖大動脈弁の解剖学的構造との適合性。
7.高度に石灰化した大動脈基部複合体との適合性。
8.弁内弁介入との適合性、すなわちTAVR内SAVR(SAVR(経大動脈弁置換術)後の大動脈弁の狭窄を治療するために、TAVR(経カテーテル大動脈弁置換術)を行う手術)およびTAVR内TAVR(TAVR後の大動脈弁の狭窄を治療するために、TAVRを行う手術)。
9.肺動脈弁置換術との適合性。
10.大動脈弁逆流症(AR)の治療。
11.無症候性重度大動脈弁狭窄の治療。
【0009】
上記発明で開示されているTHVの好ましい実施形態のフレームは、3列の六角形のセルを持つ。
【0010】
さらに、バルーン拡張式人工心臓弁の場合、バルーンカテーテルによって植え込み部位にデリバリーされる。デリバリーシステム、すなわちバルーンカテーテルは、バルーンを拡張して人工心臓弁が留置(インプラント)される展開部を正確に特定する上で、非常に重要な役割を果たす。患者の希望する植え込み部位に弁を最適かつ正確に位置決めし、正確に展開(配備)することが引き続き求められている。
(【0011】以降は省略されています)
この特許をJ-PlatPat(特許庁公式サイト)で参照する
関連特許
個人
短下肢装具
3か月前
個人
前腕誘導装置
3か月前
個人
排尿補助器具
6日前
個人
洗井間専家。
6か月前
個人
嚥下鍛錬装置
3か月前
個人
バッグ式オムツ
4か月前
個人
歯の修復用材料
3か月前
個人
ホバーアイロン
6か月前
個人
ウォート指圧法
4日前
個人
アイマスク装置
1か月前
個人
胸骨圧迫補助具
1か月前
個人
汚れ防止シート
21日前
個人
矯正椅子
4か月前
個人
歯の保護用シール
4か月前
個人
シャンプー
5か月前
個人
湿布連続貼り機。
2か月前
個人
哺乳瓶冷まし容器
2か月前
個人
陣痛緩和具
3か月前
株式会社大野
骨壷
3か月前
株式会社コーセー
化粧料
3日前
株式会社八光
剥離吸引管
4か月前
個人
エア誘導コルセット
1か月前
個人
性行為補助具
2か月前
個人
治療用酸化防御装置
1か月前
株式会社ニデック
眼科装置
1か月前
株式会社ニデック
眼科装置
4か月前
株式会社コロナ
サウナ装置
5か月前
個人
形見の製造方法
4か月前
株式会社ニデック
検眼装置
3か月前
株式会社ダリヤ
毛髪化粧料
1か月前
個人
手指運動ツール
2か月前
株式会社ニデック
眼科装置
1か月前
個人
精力増強キット
25日前
個人
高気圧環境装置
4か月前
個人
シリンダ式歩行補助具
2か月前
株式会社松風
口腔用組成物
3か月前
続きを見る
他の特許を見る