TOP
|
特許
|
意匠
|
商標
特許ウォッチ
Twitter
他の特許を見る
10個以上の画像は省略されています。
公開番号
2025157198
公報種別
公開特許公報(A)
公開日
2025-10-15
出願番号
2025076876
出願日
2025-05-02
発明の名称
端末及び通信方法
出願人
株式会社NTTドコモ
代理人
弁理士法人鷲田国際特許事務所
主分類
H04W
24/10 20090101AFI20251007BHJP(電気通信技術)
要約
【課題】CSI-RS(チャネル状態情報参照信号)の受信を行うスロットが有効であるか否かを適切に判断する端末及び通信方法を提供すること。
【解決手段】端末が、下り制御信号及びチャネル状態情報参照信号の受信を行う通信部と、前記チャネル状態情報参照信号により、チャネル状態情報に関する測定を実行するか、又は、無線リソース制御に関する測定期間中に前記通信部による送受信を一時停止させ、無線リソース制御に関する測定を実行する制御部と、を備え、前記制御部は、前記下り制御信号による指示に基づいて、前記チャネル状態情報参照信号の受信を行うスロットが有効であるか否かを判断し、前記スロットが有効であれば、前記チャネル状態情報に関する測定を実行し、前記スロットが有効でなければ、無線リソース制御に関する測定を実行する。
【選択図】図6
特許請求の範囲
【請求項1】
下り制御信号及びチャネル状態情報参照信号の受信を行う通信部と、
前記チャネル状態情報参照信号により、チャネル状態情報に関する測定を実行するか、又は、無線リソース制御に関する測定期間中に前記通信部による送受信を一時停止させ、無線リソース制御に関する測定を実行する制御部と、
を備え、
前記制御部は、前記下り制御信号による指示に基づいて、前記チャネル状態情報参照信号の受信を行うスロットが有効であるか否かを判断し、
前記スロットが有効であれば、前記チャネル状態情報に関する測定を実行し、
前記スロットが有効でなければ、無線リソース制御に関する測定を実行する、
端末。
続きを表示(約 710 文字)
【請求項2】
前記下り制御信号は、1ビットのフィールドからなり、
前記制御部は、前記フィールドが特定の値である場合、前記スロットが有効であると判断する、
請求項1に記載の端末。
【請求項3】
前記制御部は、前記測定期間中に前記通信部の送受信が可能である能力を有する場合、前記スロットが有効であると判断する、
請求項1に記載の端末。
【請求項4】
前記制御部は、前記下り制御信号による指示、及び、前記通信部による送受信を一時停止させる条件が所定の該当範囲内にあるか否かに基づいて、前記スロットが有効であると判断する、
請求項1に記載の端末。
【請求項5】
前記通信部は、無線リソース制御信号を受信し、
前記制御部は、前記無線リソース制御信号に基づいて、前記スロットが有効であると判断する、
請求項1に記載の端末。
【請求項6】
端末が、
下り制御信号及びチャネル状態情報参照信号の受信を行い、
前記チャネル状態情報参照信号により、チャネル状態情報に関する測定を実行するか、又は、無線リソース制御に関する測定期間中における送受信を一時停止させ、無線リソース制御に関する測定を実行し、
前記下り制御信号による指示に基づいて、前記チャネル状態情報参照信号の受信を行うスロットが有効であるか否かを判断し、
前記スロットが有効であれば、前記チャネル状態情報に関する測定を実行し、
前記スロットが有効でなければ、無線リソース制御に関する測定を実行する、
通信方法。
発明の詳細な説明
【技術分野】
【0001】
本開示は、端末及び通信方法に関する。
続きを表示(約 2,000 文字)
【背景技術】
【0002】
3rd Generation Partnership Project(3GPP(登録商標))は、5th generation mobile communication system(5G、New Radio(NR)又はNext Generation(NG)とも呼ばれる)を仕様化し、さらに、Beyond 5G、5G Evolution又は6Gと呼ばれる次世代の仕様化も進めている。
【0003】
5Gにおいては、要求条件として、大容量のシステム、高速なデータ伝送速度、低遅延、多数の端末の同時接続、低コスト、省電力等を満たす技術が検討されている(例えば、非特許文献1)。
【0004】
上記のような移動通信システムの拡張により、現実世界と仮想世界(仮想的コンテンツ)との組み合わせを可能にする、VR(virtual reality)、AR(augmented reality)、MR(mixed reality)等のXR(extended reality)の利用・普及が見込まれており、3GPPでは、Release 19に向けてXR拡張について議論されている(例えば、非特許文献2参照)。
【0005】
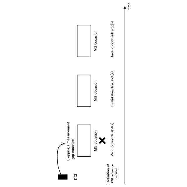
5Gでは、周囲のセルの受信品質等を確認する際、周波数間又は周波数内でのRRM測定(Radio Resource Management Measurements)を行うため、端末は一定期間データ送受信を停止する「測定ギャップ(MG:Measurement Gap)」の期間を設ける。しかしながら、このRRM測定の間、端末の送受信に制限が生じるため、XRアプリのようなリアルタイム性重視の通信に支障をきたすことがある。そのため、3GPPのWID(Work Item Description)では、RRM測定により生じる送受信ギャップやスケジューリング制限下でも、XR用のデータ送受信を柔軟に行えるようにするための拡張について議論されている(例えば、非特許文献3の§4.1参照)。
【0006】
端末は、通信に先立って周囲の無線チャネルの状態を把握するため、参照信号(Reference Signal)を用いてチャネル品質を測定する。しかし、RRM測定により生じる送受信ギャップやスケジューリング制限下において、端末はCSI(Channel-State Information)報告用のCSI-RS(CSI Reference Signal)を受信できない。したがって、RRM測定が設定された測定ギャップに含まれるスロット(下りリンクスロット)は、当該CSI-RSの受信における「有効なスロット」からは除外される。現行規格においては、このような「有効な下りリンクスロット」についての定義がなされている。
【先行技術文献】
【非特許文献】
【0007】
3GPP TS 38.300 V17.6.0 (2023-09)
“Moderator's summary for REL-19 RAN2 topic Enhancements for XR”, RP-232619, 3GPP TSG-RAN Meeting #101, 3GPP, 2023年9月
“New WID: XR (eXtended Reality) for NR Phase 3”, RP-234080, 3GPP TSG-RAN Meeting #102, 3GPP, 2023年12月
3GPP TS 38.133 V18.5.0 (2024-03)
3GPP TS 38.214 V18.5.0 (2024-12)
【発明の概要】
【0008】
3GPPのRAN1会合(#120)において、上述したギャップ/制限をスキップするため、DCI(下りリンク制御情報:Downlink Control Information)の明示的な指示として1ビットのフィールドを追加することが合意された。
【0009】
DCIの指示により設定された測定ギャップ/制限オケージョン(機会:occasion))のスキップ/キャンセルが可能になると、端末は、設定された測定ギャップ/制限オケージョンにおいて、CSI報告用のCSI-RSを受信(測定)できる可能性がある。したがって、当該合意に基づき、現行規格における「有効な下りリンクスロット」の定義を変更することが求められる。
【0010】
本開示の一態様は、CSI-RS(チャネル状態情報参照信号)に関して「有効な下りリンクスロット」の定義を明確化することにより、CSI-RSの受信を行うスロットが有効であるか否かを適切に判断する端末及び通信方法を提供する。
(【0011】以降は省略されています)
この特許をJ-PlatPat(特許庁公式サイト)で参照する
関連特許
株式会社NTTドコモ
携帯端末
22日前
株式会社NTTドコモ
情報処理装置
22日前
株式会社NTTドコモ
移動通信端末
15日前
株式会社NTTドコモ
端末及び通信方法
2日前
株式会社NTTドコモ
端末及び通信方法
3日前
株式会社NTTドコモ
端末及び通信方法
4日前
株式会社NTTドコモ
端末及び通信方法
4日前
株式会社NTTドコモ
端末及び通信方法
7日前
株式会社NTTドコモ
情報処理装置及び方法
16日前
株式会社NTTドコモ
情報処理装置及び方法
16日前
株式会社NTTドコモ
情報処理装置及び方法
1日前
株式会社NTTドコモ
管理装置及び管理方法
7日前
株式会社NTTドコモ
管理装置及び管理方法
7日前
株式会社NTTドコモ
管理装置及び管理方法
7日前
株式会社NTTドコモ
生成システム及び生成方法
14日前
株式会社NTTドコモ
測位支援装置及び測位支援方法
9日前
株式会社NTTドコモ
電力監視装置、及び、電力監視方法
9日前
株式会社NTTドコモ
端末
9日前
株式会社NTTドコモ
端末
3日前
株式会社NTTドコモ
太陽電池の配置支援装置及び太陽電池の配置支援方法
7日前
株式会社NTTドコモ
端末及び通信方法
16日前
株式会社NTTドコモ
端末及び通信方法
16日前
株式会社NTTドコモ
通信制御方法、端末、通信制御装置、通信制御システム、通信制御プログラム
14日前
株式会社NTTドコモ
端末、通信システム及び通信方法
16日前
株式会社NTTドコモ
端末、無線通信方法、基地局及びシステム
16日前
株式会社NTTドコモ
端末、基地局、通信システム及び通信方法
16日前
株式会社NTTドコモ
端末、無線通信システム及び無線通信方法
9日前
株式会社NTTドコモ
端末、無線通信システム及び無線通信方法
3日前
株式会社NTTドコモ
端末、基地局、無線通信システム及び無線通信方法
16日前
個人
イヤーピース
14日前
個人
イヤーマフ
28日前
個人
監視カメラシステム
1か月前
個人
スイッチシステム
22日前
キーコム株式会社
光伝送線路
1か月前
WHISMR合同会社
収音装置
2か月前
サクサ株式会社
中継装置
1か月前
続きを見る
他の特許を見る