TOP
|
特許
|
意匠
|
商標
特許ウォッチ
Twitter
他の特許を見る
公開番号
2025155449
公報種別
公開特許公報(A)
公開日
2025-10-14
出願番号
2024065904
出願日
2024-04-16
発明の名称
端末及び無線通信方法
出願人
株式会社NTTドコモ
代理人
個人
,
個人
主分類
H04W
8/22 20090101AFI20251006BHJP(電気通信技術)
要約
【課題】UEの能力(Capability)に応じた適切なDCI format 0_3/1_3によるBWPの切替及び適合を実現し得る端末及び無線通信方法を提供する。
【解決手段】端末は、複数セルの組み合わせを対象としたスケジューリングを指示する単一の下りリンク制御情報を受信する。端末は、当該下りリンク制御情報のフォーマット以外の他フォーマットによる帯域幅部分の切替をサポートするか否かを示す端末能力と区別して、当該下りリンク制御情報のフォーマットによる帯域幅部分の切替または適合をサポートするか否かをネットワークに報告する。
【選択図】図7
特許請求の範囲
【請求項1】
複数セルの組み合わせを対象としたスケジューリングを指示する単一の下りリンク制御情報を受信する受信部と、
前記下りリンク制御情報のフォーマット以外の他フォーマットによる帯域幅部分の切替をサポートするか否かを示す端末能力と区別して、前記下りリンク制御情報のフォーマットによる帯域幅部分の切替または適合をサポートするか否かをネットワークに報告する制御部と
を備える端末。
続きを表示(約 460 文字)
【請求項2】
前記制御部は、前記端末能力と、前記下りリンク制御情報のフォーマットのサポートに関する端末能力とを報告することによって、前記下りリンク制御情報のフォーマットによる帯域幅部分の切替または適合をサポートすることを前記ネットワークに報告する請求項1に記載の端末。
【請求項3】
前記制御部は、前記下りリンク制御情報のフォーマットによる前記帯域幅部分の切替または適合をサポートするか否かを示す能力情報を前記ネットワークに報告する請求項1に記載の端末。
【請求項4】
複数セルの組み合わせを対象としたスケジューリングを指示する単一の下りリンク制御情報を受信するステップと、
前記下りリンク制御情報のフォーマット以外の他フォーマットによる帯域幅部分の切替をサポートするか否かを示す端末能力と区別して、前記下りリンク制御情報のフォーマットによる帯域幅部分の切替または適合をサポートするか否かをネットワークに報告するステップと
を含む端末における無線通信方法。
発明の詳細な説明
【技術分野】
【0001】
本開示は、特定のキャリアによって送信される単一の下りリンク制御情報によって、複数キャリアによって送信されるデータチャネルをスケジューリングする仕組みに対応する端末及び無線通信方法に関する。
続きを表示(約 2,100 文字)
【背景技術】
【0002】
3rd Generation Partnership Project(3GPP:登録商標)は、5th generation mobile communication system(5G、New Radio(NR)またはNext Generation(NG)とも呼ばれる)を仕様化し、さらに、Beyond 5G、5G Evolution或いは6Gと呼ばれる次世代の仕様化も進めている。
【0003】
3GPPでは、複数コンポーネントキャリア(CC)によって送信されるPDSCH(Physical Downlink Shared Channel)/PUSCH(Physical Uplink Shared Channel)を単一の下りリンク制御情報(DCI:Downlink Control Information)によってスケジューリングする機能の導入が検討されてきた(非特許文献1)。このような機能は、Single DCI Multi-carrier PDSCH/PUSCH schedulingまたはSingle DCI Multi-Cell PDSCH/PUSCH schedulingなどと呼ばれている(以下では、Single DCI Multi-Cell PDSCH/PUSCH schedulingと記載する)。
【0004】
このようなSingle DCI Multi-Cell PDSCH/PUSCH schedulingをサポートするため、複数セルのPDSCH/PUSCHをスケジューリング可能な単一のDCIのフォーマット(DCI format 0_3/1_3)が合意されている(非特許文献2)。
【0005】
また、DCI format 0_3/1_3に含まれるフィールドとして、BWP switching indicator fieldが規定され、DCI format 0_3/1_3によるBWP(Bandwidth part)の切替指示がサポートされる。これにより、単一のDCIによって複数CCのBWP switchingを同時に指示することが可能となる。
【先行技術文献】
【非特許文献】
【0006】
"New WID on Multi-carrier enhancements", RP-213577, 3GPP TSG RAN Meeting #94e, 3GPP, 2021年12月
3GPP TS 38.212 V18.2.0, 3rd Generation Partnership Project; Technical Specification Group Radio Access Network; NR; Multiplexing and channel coding(Release 18), 3GPP, 2024年3月
【発明の概要】
【発明が解決しようとする課題】
【0007】
DCI format 0_3/1_3によるBWP switchingは、既存のDCI formatによるBWP switchingを拡張した構成となっている。端末(User Equipment, UE)は、既存のDCI formatによるBWP switchingと区別して、DCI format 0_3/1_3によるBWP switchingのサポート可否をネットワーク(無線基地局, gNB)に報告できることが望ましい。
【0008】
しかしながら、既存の3GPPの仕様では、UEは、既存のDCI formatによるBWP switchingと区別して、DCI format 0_3/1_3によるBWP switchingのサポート可否など、DCI format 0_3/1_3によるBWP関連のサポート可否をネットワークに報告することができない。このため、UEの能力(Capability)に応じた適切なDCI format 0_3/1_3によるBWPの切替及び適用が難しい。
【0009】
そこで、以下の開示は、このような状況に鑑みてなされたものであり、UEの能力(Capability)に応じた適切なDCI format 0_3/1_3によるBWPの切替及び適合を実現し得る端末及び無線通信方法の提供を目的とする。
【課題を解決するための手段】
【0010】
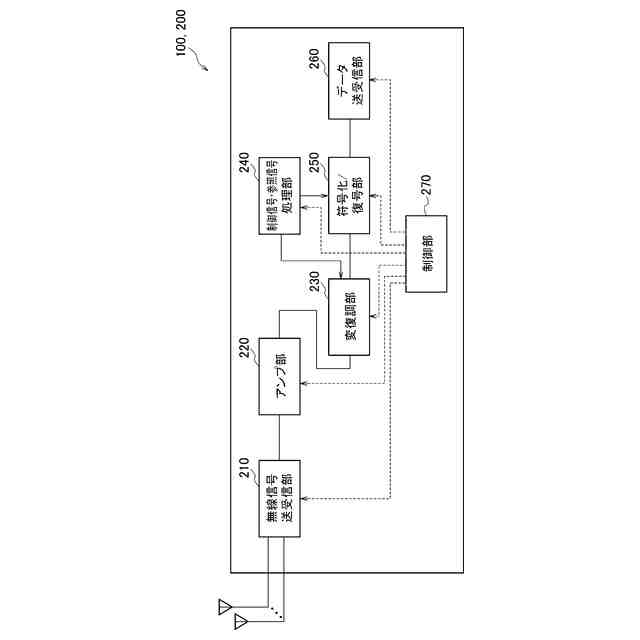
本開示の一態様は、複数セルの組み合わせを対象としたスケジューリングを指示する単一の下りリンク制御情報を受信する受信部(制御信号・参照信号処理部240)と、前記下りリンク制御情報のフォーマット以外の他フォーマットによる帯域幅部分の切替をサポートするか否かを示す端末能力と区別して、前記下りリンク制御情報のフォーマットによる帯域幅部分の切替または適合をサポートするか否かをネットワークに報告する制御部(制御部270)とを備える端末(UE200)である。
(【0011】以降は省略されています)
この特許をJ-PlatPat(特許庁公式サイト)で参照する
関連特許
個人
監視カメラシステム
5日前
キーコム株式会社
光伝送線路
6日前
WHISMR合同会社
収音装置
1か月前
サクサ株式会社
中継装置
11日前
サクサ株式会社
中継装置
12日前
個人
スキャン式車載用撮像装置
5日前
アイホン株式会社
電気機器
1か月前
キヤノン株式会社
撮像装置
1か月前
サクサ株式会社
無線システム
10日前
株式会社リコー
画像形成装置
1か月前
キヤノン電子株式会社
画像読取装置
1か月前
株式会社リコー
画像形成装置
1か月前
キヤノン電子株式会社
画像読取装置
4日前
サクサ株式会社
無線通信装置
11日前
株式会社リコー
画像形成装置
2か月前
個人
ワイヤレスイヤホン対応耳掛け
1か月前
サクサ株式会社
無線通信装置
11日前
株式会社ニコン
撮像装置
2か月前
個人
発信機及び発信方法
10日前
日本電気株式会社
海底分岐装置
6日前
キヤノン株式会社
撮像システム
1か月前
ブラザー工業株式会社
読取装置
2か月前
パテントフレア株式会社
超高速電波通信
1か月前
沖電気工業株式会社
画像形成装置
21日前
株式会社NTTドコモ
端末
5日前
株式会社NTTドコモ
端末
5日前
株式会社NTTドコモ
端末
6日前
大日本印刷株式会社
写真撮影装置
1か月前
DXO株式会社
情報処理システム
2か月前
キヤノン電子株式会社
シート材搬送装置
2か月前
株式会社NTTドコモ
端末
5日前
パテントフレア株式会社
水中電波通信法
2か月前
株式会社小糸製作所
画像照射装置
1か月前
株式会社NTTドコモ
端末
6日前
キヤノン電子株式会社
画像処理システム
4日前
株式会社松平商会
携帯機器カバー
1か月前
続きを見る
他の特許を見る