TOP
|
特許
|
意匠
|
商標
特許ウォッチ
Twitter
他の特許を見る
公開番号
2025155291
公報種別
公開特許公報(A)
公開日
2025-10-14
出願番号
2024059043
出願日
2024-04-01
発明の名称
化粧関連製品セット
出願人
三菱鉛筆株式会社
代理人
弁理士法人太陽国際特許事務所
主分類
A45D
33/00 20060101AFI20251006BHJP(手持品または旅行用品)
要約
【課題】化粧を行う際に用いられる、使用態様が異なる複数の化粧関連製品をまとめて携行可能な化粧関連製品セットを提供する。
【解決手段】化粧関連製品セット1は、化粧を行う際に用いられる化粧関連製品の一種である第1の化粧関連製品が収容された第1の容器10と、第1の化粧関連製品とは使用態様が異なる第2の化粧関連製品が収容された第2の容器20と、を備え、第1の容器10及び第2の容器20は、それぞれ、相互に連結させるための連結用構造を有する。
【選択図】図1
特許請求の範囲
【請求項1】
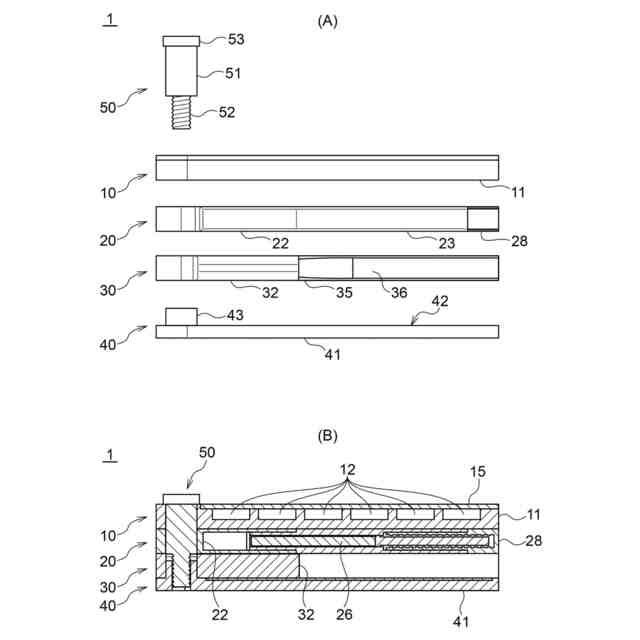
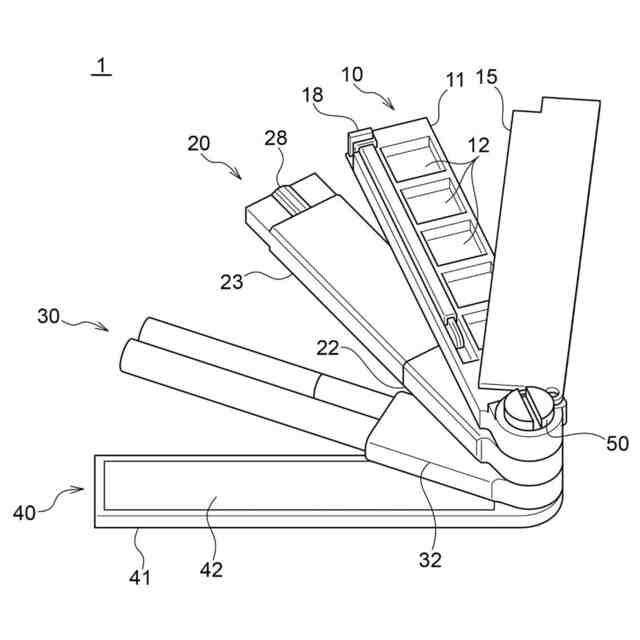
化粧を行う際に用いられる化粧関連製品の一種である第1の化粧関連製品が収容された第1の容器と、
前記第1の化粧関連製品とは使用態様が異なる第2の化粧関連製品が収容された第2の容器と、を備え、
前記第1の容器及び前記第2の容器は、それぞれ、相互に連結させるための連結用構造を有する、
化粧関連製品セット。
続きを表示(約 930 文字)
【請求項2】
前記第1の化粧関連製品及び前記第2の化粧関連製品とは使用態様が異なる前記化粧関連製品が収容された1つ又は複数の追加の容器を備え、
前記追加の容器は、前記第1の容器及び前記第2の容器の少なくとも一方に対して連結させるための連結用構造を有する、
請求項1に記載の化粧関連製品セット。
【請求項3】
それぞれの前記化粧関連製品は、仕上用化粧品、皮膚用化粧品、香水、及び化粧用具からなる群から1つ又は複数が選択されて構成されたものである、
請求項1又は請求項2に記載の化粧関連製品セット。
【請求項4】
複数の前記容器のそれぞれの前記連結用構造は軸孔を含み、
複数の前記容器のそれぞれの前記軸孔に通されたシャフトを備え、
複数の前記容器は、それぞれ、独立して、前記シャフトまわりに回転移動可能に連結されている、
請求項1又は請求項2に記載の化粧関連製品セット。
【請求項5】
前記シャフトは端部の側面にねじ山が形成されており、
複数の前記容器のうち、連結されたときに最外部に配置される前記容器は、前記軸孔の内面に前記シャフトのねじ山と掛かり合うねじ山が形成されていると共に、鏡が設けられている、
請求項4に記載の化粧関連製品セット。
【請求項6】
複数の前記容器のうちの少なくとも1つは、化粧料を収容する化粧皿を複数含むパレットである、
請求項1又は請求項2に記載の化粧関連製品セット。
【請求項7】
複数の前記容器のうちの少なくとも1つは、前記連結用構造が設けられた蓋部と、前記蓋部に対して着脱可能な本体部とを有すると共に、前記本体部は固形の化粧料を繰り出し及び繰り戻し可能な繰出式容器で構成されている、
請求項1又は請求項2に記載の化粧関連製品セット。
【請求項8】
複数の前記容器のうちの少なくとも1つは、前記連結用構造が設けられたキャップ部と、前記キャップ部に対して着脱可能な筆記具型の筒状部とを有する、
請求項1又は請求項2に記載の化粧関連製品セット。
発明の詳細な説明
【技術分野】
【0001】
本開示は化粧関連製品セットに関する。
続きを表示(約 1,200 文字)
【背景技術】
【0002】
化粧をする人は、気分や状況に応じて好みの色や質感の化粧料を選択するために、複数の化粧料を保有していることが多い。外出時においても複数の化粧料を美しくまとめて携行する容器として、皿状の容器本体の側面に基台部を設け、該基台部に嵌合連結部を設けて、容器本体を複数連結すると共に、嵌合連結部を中心として容器本体を回動させて展開可能としたものがある(例えば、特許文献1参照。)。
【先行技術文献】
【特許文献】
【0003】
特開2021-013662号公報
【発明の概要】
【発明が解決しようとする課題】
【0004】
しかしながら、特許文献1の化粧料用容器は、同形状の皿容器のみを複数連結させており、化粧を行う際に用いる他の化粧道具を別途携行する必要がある。複数の使用態様の化粧道具を個々に携行すると、化粧箱の中で嵩張ると共に探す手間がかかる。
【0005】
本開示は上述の課題に鑑み、化粧を行う際に用いられる、使用態様が異なる複数の化粧関連製品をまとめて携行可能な化粧関連製品セットを提供することに関する。
【課題を解決するための手段】
【0006】
本開示の第1の態様に係る化粧関連製品セットは、化粧を行う際に用いられる化粧関連製品の一種である第1の化粧関連製品が収容された第1の容器と、前記第1の化粧関連製品とは使用態様が異なる第2の化粧関連製品が収容された第2の容器とを備え、前記第1の容器及び前記第2の容器は、それぞれ、相互に連結させるための連結用構造を有する。なお、語句「備え(る)」、「有する」及び「含む」は、特に断りのない限り、オープンエンドターム(すなわち「~を包含するが限らない」という意味)として解釈される。
【0007】
このように構成すると、化粧を行う際に用いられる、使用態様が異なる複数の化粧関連製品がまとめて保管されることとなり、使用の際に効率よく化粧を行うことができる。
【0008】
また、本開示の第2の態様に係る化粧関連製品セットは、上記本開示の第1の態様に係る化粧関連製品セットにおいて、前記第1の化粧関連製品及び前記第2の化粧関連製品とは使用態様が異なる前記化粧関連製品が収容された1つ又は複数の追加の容器を備え、前記追加の容器は、前記第1の容器及び前記第2の容器の少なくとも一方に対して連結させるための連結用構造を有する。
【0009】
このように構成すると、さらに多種の化粧関連製品をまとまりよく携行することができる。
【0010】
また、本開示の第3の態様に係る化粧関連製品セットは、上記本開示の第1の態様又は第2の態様に係る化粧関連製品セットにおいて、それぞれの前記化粧関連製品は、仕上用化粧品、皮膚用化粧品、香水、及び化粧用具からなる群から1つ又は複数が選択されて構成されたものである。
(【0011】以降は省略されています)
この特許をJ-PlatPat(特許庁公式サイト)で参照する
関連特許
三菱鉛筆株式会社
鉛筆
1か月前
三菱鉛筆株式会社
筆記具
1か月前
三菱鉛筆株式会社
塗布具
4日前
三菱鉛筆株式会社
筆記具
9日前
三菱鉛筆株式会社
筆記具
4日前
三菱鉛筆株式会社
化粧料塗布具
11日前
三菱鉛筆株式会社
ノック式筆記具
1か月前
三菱鉛筆株式会社
化粧関連製品セット
4日前
三菱鉛筆株式会社
サイドノック式筆記具
11日前
三菱鉛筆株式会社
スピーカー用塗料組成物
19日前
三菱鉛筆株式会社
炭素繊維-樹脂複合シート
9日前
三菱鉛筆株式会社
筆記具用水性インク組成物
1か月前
三菱鉛筆株式会社
超音波探触子用バッキング材
23日前
三菱鉛筆株式会社
電極作製用単層カーボンナノチューブ分散液
29日前
三菱鉛筆株式会社
非水系カーボンナノチューブスラリー及び正極用分散体
1日前
三菱鉛筆株式会社
水系化粧料組成物用顔料分散液、それを用いた水系化粧料組成物
1か月前
三菱鉛筆株式会社
筆記具用水性インク組成物、この水性インク組成物を搭載した筆記具
15日前
個人
包み箱
1か月前
個人
杖
3か月前
個人
傘
1か月前
個人
傘
6か月前
個人
折り畳み傘
3か月前
個人
財布
4か月前
個人
二重把手袋
6か月前
個人
バッグ
3か月前
個人
眼鏡ホルダー
2か月前
個人
シール
5か月前
個人
肩ベルトカバー
1か月前
個人
傘
8か月前
個人
美容用具
2か月前
個人
刺抜き具
7か月前
個人
シート状パック
6か月前
個人
滑らないヘアピン
9か月前
個人
傘の先端キャップ
5か月前
個人
補助持ち手付き傘
4か月前
ベス工業株式会社
整髪具
5か月前
続きを見る
他の特許を見る