TOP
|
特許
|
意匠
|
商標
特許ウォッチ
Twitter
他の特許を見る
10個以上の画像は省略されています。
公開番号
2025148074
公報種別
公開特許公報(A)
公開日
2025-10-07
出願番号
2024048661
出願日
2024-03-25
発明の名称
化粧料塗布具
出願人
三菱鉛筆株式会社
代理人
弁理士法人太陽国際特許事務所
主分類
A45D
34/04 20060101AFI20250930BHJP(手持品または旅行用品)
要約
【課題】収容する化粧料に比較的大径の粒子が含有されている場合であっても、かかる粒子を含めた化粧料を筆先まで確実に誘導でき、ひいては塗布液を良好な状態で塗布対象面に塗布することができる化粧料塗布具。
【解決手段】軸筒と、前記軸筒の内部に収容されるとともに流動体の化粧料が含浸される中綿と、合成樹脂製の繊維束で構成されるとともに前記軸筒の先端に装着される塗布部材と、を備えるとともに、前記塗布部材は、先端側に位置する筆先部と、後端側に位置し前記中綿の先端部分に穿刺される中継部とが一体に形成されている、化粧料塗布具。
【選択図】図12
特許請求の範囲
【請求項1】
軸筒と、
前記軸筒の内部に収容されるとともに流動体の化粧料が含浸される中綿と、
合成樹脂製の繊維束で構成されるとともに前記軸筒の先端に装着される塗布部材と、
を備えるとともに、
前記塗布部材は、先端側に位置する筆先部と、後端側に位置し前記中綿の先端部分に穿刺される中継部とが一体に形成されている、化粧料塗布具。
続きを表示(約 140 文字)
【請求項2】
前記中継部の外周が溶融されて固化している、請求項1に記載の化粧料塗布具。
【請求項3】
前記中継部を長手方向に貫通する誘導孔と、
前記誘導孔の周囲に形成される長手方向の溝である誘導溝と、
をさらに備える、請求項2に記載の化粧料塗布具。
発明の詳細な説明
【技術分野】
【0001】
本開示は、化粧料塗布具に関する。
続きを表示(約 1,300 文字)
【背景技術】
【0002】
軸筒内に液状の化粧料が含浸された中綿を収容し、これをたとえば顔面のような塗布対象面に塗布するための塗布具においては、塗布対象面に接触する筆先と中綿との間を中継する別体の部材が介在するのが一般的であった(特許文献1、特許文献2)。
【先行技術文献】
【特許文献】
【0003】
特開2010-284927号公報
特開2012-101395号公報
【発明の概要】
【発明が解決しようとする課題】
【0004】
化粧料には、目的に応じて、たとえばラメのような比較的大径の粒子が含有されている場合がある。しかしながら、このような大径の粒子は、筆先と中継する部材との境界で目詰まりし、塗布対象面には到達しづらいことがあった。
【0005】
本開示は、収容する化粧料に比較的大径の粒子が含有されている場合であっても、かかる粒子を含めた化粧料を筆先まで確実に誘導でき、ひいては塗布液を良好な状態で塗布対象面に塗布することができる化粧料塗布具を提供する。
【課題を解決するための手段】
【0006】
本開示の実施態様の化粧料塗布具は、軸筒と、前記軸筒の内部に収容されるとともに流動体の化粧料が含浸される中綿と、合成樹脂製の繊維束で構成されるとともに前記軸筒の先端に装着される塗布部材と、を備える。前記塗布部材はさらに、先端側に位置する筆先部と、後端側に位置し前記中綿の先端部分に穿刺される中継部とが一体に形成されている。
【0007】
上記化粧料塗布具においては、前記中継部の外周が溶融されて固化していることが望ましい。
【0008】
上記化粧料塗布具においては、前記中継部を長手方向に貫通する誘導孔と、
前記誘導孔の周囲に形成される長手方向の溝である誘導溝と、
をさらに備えることが望ましい。
【発明の効果】
【0009】
本開示によると、収容する化粧料に比較的大径の粒子が含有されている場合であっても、かかる粒子を含めた化粧料を筆先まで確実に誘導でき、ひいては塗布液を良好な状態で塗布対象面に塗布することができる化粧料塗布具を提供することが可能となる。
【図面の簡単な説明】
【0010】
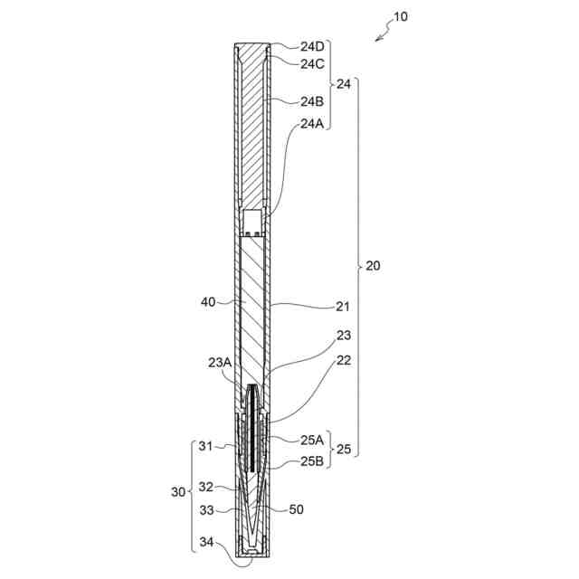
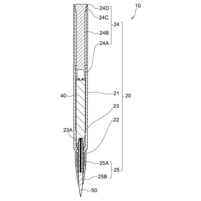
実施形態の化粧料塗布具の正面図である。
図1の化粧料塗布具の前方斜視図である。
図1の化粧料塗布具の平面図である。
図1の化粧料塗布具の底面図である。
図1の化粧料塗布具からキャップを外した状態を正面図で示す。
図5の化粧料塗布具の前方斜視図である。
図1のA-A断面図である。
図5のB-B断面図である。
実施形態の化粧料塗布具に使用される塗布部材の正面図である。
図9の塗布部材の平面図を拡大して示す。
図9の塗布部材の底面図である。
図9のC-C断面図である。
【発明を実施するための形態】
(【0011】以降は省略されています)
この特許をJ-PlatPat(特許庁公式サイト)で参照する
関連特許
三菱鉛筆株式会社
鉛筆
1か月前
三菱鉛筆株式会社
筆記具
1か月前
三菱鉛筆株式会社
塗布具
4日前
三菱鉛筆株式会社
筆記具
9日前
三菱鉛筆株式会社
筆記具
4日前
三菱鉛筆株式会社
化粧料塗布具
11日前
三菱鉛筆株式会社
ノック式筆記具
1か月前
三菱鉛筆株式会社
化粧関連製品セット
4日前
三菱鉛筆株式会社
サイドノック式筆記具
11日前
三菱鉛筆株式会社
スピーカー用塗料組成物
19日前
三菱鉛筆株式会社
炭素繊維-樹脂複合シート
9日前
三菱鉛筆株式会社
筆記具用水性インク組成物
1か月前
三菱鉛筆株式会社
超音波探触子用バッキング材
23日前
三菱鉛筆株式会社
電極作製用単層カーボンナノチューブ分散液
29日前
三菱鉛筆株式会社
非水系カーボンナノチューブスラリー及び正極用分散体
1日前
三菱鉛筆株式会社
水系化粧料組成物用顔料分散液、それを用いた水系化粧料組成物
1か月前
三菱鉛筆株式会社
筆記具用水性インク組成物、この水性インク組成物を搭載した筆記具
15日前
個人
包み箱
1か月前
個人
杖
3か月前
個人
傘
1か月前
個人
傘
6か月前
個人
折り畳み傘
3か月前
個人
財布
4か月前
個人
二重把手袋
6か月前
個人
バッグ
3か月前
個人
眼鏡ホルダー
2か月前
個人
シール
5か月前
個人
肩ベルトカバー
1か月前
個人
傘
8か月前
個人
美容用具
2か月前
個人
刺抜き具
7か月前
個人
シート状パック
6か月前
個人
滑らないヘアピン
9か月前
個人
傘の先端キャップ
5か月前
個人
補助持ち手付き傘
4か月前
ベス工業株式会社
整髪具
5か月前
続きを見る
他の特許を見る