TOP
|
特許
|
意匠
|
商標
特許ウォッチ
Twitter
他の特許を見る
公開番号
2025155040
公報種別
公開特許公報(A)
公開日
2025-10-14
出願番号
2024058355
出願日
2024-03-30
発明の名称
ガスエジェクションノズル、ガス溶解装置及びガス溶解方法
出願人
株式会社アクアフューチャー研究所
,
中島産業株式会社
,
ノリタケ株式会社
代理人
個人
主分類
B01F
25/312 20220101AFI20251003BHJP(物理的または化学的方法または装置一般)
要約
【課題】キャビテーションねじ部材の使用によりガス溶解能力を高く維持しつつガスの自吸能力にも優れたガスエジェクションノズルと、それを用いたガス溶解装置及びガス溶解方法を提供する。
【解決手段】ガスエジェクションノズル1は、一端に液体入口3を、他端に液体出口4を有する単一の液体流路11が形成され、液体入口3よりも径小となるように液体流路11の途中に絞り部9が形成されたノズル本体2と、絞り部9内に配置され、キャビテーションねじ部材10と、液体流路11の一部をなす形で絞り部9の下流側に接続するとともに、液体出口4に向け軸断面積が連続的又は段階的に拡大するガス溶解拡径部13とを備える。ノズル本体2のガス導入孔6が、絞り部9内に位置する全てのキャビテーションねじ部材10よりも下流側にて絞り部9又はガス溶解拡径部13に連通するとともに、ノズル本体2の外部と液体流路11とを接続するように形成される。
【選択図】図1
特許請求の範囲
【請求項1】
一端に液体入口を、他端に液体出口を有する単一の液体流路が形成され、前記液体入口よりも径小となるように前記液体流路の途中に絞り部が形成されたノズル本体と、
前記絞り部内に配置され、ねじ山ピッチが0.20mm以上0.40mm以下、ねじ谷深さが0.20mm以上0.40mm以下、呼び径が1.0mm以上2.0mm以下のねじ部が外周面に形成されたキャビテーションねじ部材と、
前記液体流路の一部をなす形で前記絞り部の下流側に接続するとともに、前記液体出口に向け軸断面積が連続的又は段階的に拡大するガス溶解拡径部とを備え、
前記ノズル本体がガス導入孔を備え、該ガス導入孔が、前記絞り部内に位置する全ての前記キャビテーションねじ部材よりも下流側にて前記絞り部又は前記ガス溶解拡径部に連通するとともに、前記ノズル本体の外部と前記液体流路とを接続するように形成されたことを特徴とするガスエジェクションノズル。
続きを表示(約 1,300 文字)
【請求項2】
前記キャビテーションねじ部材は、前記絞り部の軸断面のあらかじめ定められた1つの直径に沿って、前記絞り部内に位置する前記ねじ部材の脚部長が前記絞り部の半径よりも大きくなるように配置されている請求項1記載のガスエジェクションノズル。
【請求項3】
前記キャビテーションねじ部材は、前記絞り部内に位置する前記脚部が前記絞り部の軸断面の前記直径の全域にまたがるように配置されている請求項2記載のガスエジェクションノズル。
【請求項4】
前記絞り部は、前記液体出口を開放として前記液体入口に対し動水圧0.1MPaにて水を供給したとき、流量が1L/分以上35L/分以下、キャビテーションねじ部材の配置位置における平均流速が9m/秒以上となるよう、前記軸断面の内径が2.0mm以上8.0mm以下の範囲内にて定められる請求項1に記載のガスエジェクションノズル。
【請求項5】
前記ガス溶解拡径部は前記絞り部から下流側に遠ざかるほど軸断面積が連続的に拡大するテーパ面として形成され、前記ガス導入孔は、前記絞り部内に位置する前記キャビテーションねじ部材の外周面の下流側縁から、前記ガス溶解拡径部の内周面上にて断面径が前記絞り部の内径の1.5倍となる位置に至る区間内にて前記液体流路に連通する請求項1記載のガスエジェクションノズル。
【請求項6】
前記テーパ面をなす前記ガス溶解拡径部は、内周面の前記絞り部の中心線に対する勾配角をθとしたとき、tanθが0.04以上0.14以下の勾配区間が前記ガス溶解拡径部の区間長の90%以上を占めるように形成されている請求項5記載のガスエジェクションノズル。
【請求項7】
前記ノズル本体に対しノズル出口側を開放状態にて通水するときの、動水圧値と前記ガス導入孔に生ずる吸引負圧との関係を示す負圧動水圧特性曲線において、前記吸引負圧の値が-0.07MPa以下となるための臨界動水圧値が0.07MPa以下である請求項6記載のガスエジェクションノズル。
【請求項8】
前記ノズル本体に対しノズル出口側を開放状態にて通水するときの、前記絞り部の平均流速値と前記ガス導入孔に生ずる吸引負圧との関係を示す負圧流速特性曲線において、前記吸引負圧の値が-0.07MPa以下となるための臨界流速値が13m/秒以下である請求項6記載のガスエジェクションノズル。
【請求項9】
前記ノズル本体に通水するときの動水圧値と前記ガス導入孔に生ずる吸引負圧との関係を示す負圧動水圧特性曲線において、前記吸引負圧の値が-0.09MPa以下となるための臨界動水圧値が0.09MPa以下である請求項6記載のガスエジェクションノズル。
【請求項10】
前記ノズル本体に通水するときの前記絞り部の平均流速値と前記ガス導入孔に生ずる吸引負圧との関係を示す負圧流速特性曲線において、前記吸引負圧の値が-0.09MPa以下となるための臨界流速値が14m/秒以下である請求項6記載のガスエジェクションノズル。
(【請求項11】以降は省略されています)
発明の詳細な説明
【技術分野】
【0001】
この発明はガスエジェクションノズルと、それを用いたガス溶解装置及びガス溶解方法に関する。
続きを表示(約 3,000 文字)
【背景技術】
【0002】
気液混合を行なうためのガスエジェクションノズルとして、ベンチュリエジェクタ(特許文献1及び2)が知られている。これらガスエジェクションノズルは流路の途中に絞り部を設け、該絞り部かその直下位置にガス導入孔を設け、絞り部にて高速化する液体流に供給されたガスを巻き込んで混合するようにする。これらガスエジェクションノズルは絞り部内に障害物が存在せず圧損が比較的小さいため、絞りに生ずる減圧作用によりガスを自吸しやすい利点がある。一方、特許文献3には、ベンチュリ形状のノズル本体の絞り部にねじ部材を立設し、ねじ部材の下流に生ずるキャビテーション乱流にガスを巻き込んで混合するガスエジェクションノズルが開示されている。該ガスエジェクションノズルはキャビテーション乱流による気液混合効果が大きいため、比較的低い液体供給圧力が採用されている場合にも高い液体溶解能力を発揮できる利点がある。
【先行技術文献】
【特許文献】
【0003】
特開2015-085237号公報
特開2023-066081号公報
WO2016/195116号公報
【発明の概要】
【発明が解決しようとする課題】
【0004】
特許文献1~3が開示するベンチュリエジェクタやオリフィスエジェクタは、ガスの自吸能力を十分発揮させるために高い液体流速値が必要であり、圧力抵抗の大きい絞り部に十分な液体流速を確保するために液体供給圧力を相当高く設定しなければならない。結果、ポンプ等の送液部の大型化が避けられない欠点がある。
【0005】
また、特許文献3が開示するガスエジェクションノズルについては、キャビテーションポイントを形成するためのねじ部材の上流にガス導入孔が開口している。この構造の場合、以下のような問題を生じる。
(1)ねじ部材に液体流が衝突する際の背圧がガス導入孔に強く作用するため、ガスを自吸することが全くできない。実際、特許文献3に開示されている炭酸ガス溶解試験においては、送液圧(0.1MPa)よりも高い圧力(0.2MPa)にてガス導入孔に炭酸ガスを強制圧入している。よって、ガス圧送のためのボンベやポンプが不可欠となり、使用形態が限定される問題がある。
(2)液体だけでなくガスもねじ部材の上流側から供給されるので、液体は粗大な気泡との混相状態でねじ部材を通過し、粗大気泡と接触するねじ谷がキャビテーションポイントとして機能できなくなる。その結果、液体だけを流通させた場合と比較してキャビテーション乱流が生じにくくなり、ガス溶解効率の低下を招きやすい。
【0006】
本発明の課題は、キャビテーションねじ部材を使用しつつもガスの自吸能力に優れ、高いガス溶解能力を実現できるガスエジェクションノズルと、それを用いたガス溶解装置及びガス溶解方法を提供することにある。
【課題を解決するための手段】
【0007】
上記の課題を解決するために本発明のガスエジェクションノズルは、一端に液体入口を、他端に液体出口を有する単一の液体流路が形成され、液体入口よりも径小となるように液体流路の途中に絞り部が形成されたノズル本体と、
絞り部内に配置され、ねじ山ピッチが0.20mm以上0.40mm以下、ねじ谷深さが0.20mm以上0.40mm以下、呼び径が1.0mm以上2.0mm以下のねじ部が外周面に形成されたキャビテーションねじ部材と、
液体流路の一部をなす形で絞り部の下流側に接続するとともに、液体出口に向け軸断面積が連続的又は段階的に拡大するガス溶解拡径部とを備え、
ノズル本体がガス導入孔を備え、該ガス導入孔が、絞り部内に位置する全てのキャビテーションねじ部材よりも下流側にて絞り部又はガス溶解拡径部に連通するとともに、ノズル本体の外部と液体流路とを接続するように形成されたことを特徴とする。
【0008】
また、本発明のガス溶解装置は、一端に液体入口を、他端に液体出口を有する単一の液体流路が形成され、液体入口よりも径小となるように液体流路の途中に絞り部が形成されたノズル本体と、絞り部内に配置され、ねじ山ピッチが0.20mm以上0.40mm以下、ねじ谷深さが0.20mm以上0.40mm以下、呼び径が1.0mm以上2.0mm以下のねじ部が外周面に形成されたキャビテーションねじ部材と、液体流路の一部をなす形で絞り部の下流側に接続するとともに、液体出口に向け軸断面積が連続的又は段階的に拡大するガス溶解拡径部とを備え、ノズル本体がガス導入孔を備え、該ガス導入孔が、絞り部内に位置する全てのキャビテーションねじ部材よりも下流側にて絞り部又はガス溶解拡径部に連通するとともに、ノズル本体の外部と液体流路とを接続するように形成されたガスエジェクションノズルと、ノズル本体の液体入口に液体を送液する送液部と、ノズル本体のガス導入孔にガスを供給するガス供給部と、を備え、液体流路内にてキャビテーションねじ部材よりも下流に生ずる負圧に基づきガス導入孔を通じてガスを液体内に吸引しつつ、ガス溶解拡径部内に生ずる乱流に巻き込んで溶解することを特徴とする。
【0009】
さらに、本発明のガス溶解方法は、一端に液体入口を、他端に液体出口を有する単一の液体流路が形成され、液体入口よりも径小となるように液体流路の途中に絞り部が形成されたノズル本体と、絞り部内に配置され、ねじ山ピッチが0.20mm以上0.40mm以下、ねじ谷深さが0.20mm以上0.40mm以下、呼び径が1.0mm以上2.0mm以下のねじ部が外周面に形成されたキャビテーションねじ部材と、液体流路の一部をなす形で絞り部の下流側に接続するとともに、液体出口に向け軸断面積が連続的又は段階的に拡大するガス溶解拡径部とを備え、ノズル本体がガス導入孔を備え、絞り部内に位置するキャビテーションねじ部材よりも下流側にて絞り部又はガス溶解拡該ガス導入孔が、径部に連通するとともに、ノズル本体の外部と液体流路とを接続するように形成されたガスエジェクションノズルのノズル本体の液体入口に液体を送液する一方、ノズル本体のガス導入孔にガスを供給し、液体流路内にてキャビテーションねじ部材よりも下流に生ずる負圧に基づきガス導入孔からのガスを液体内に吸引しつつ、ガス溶解拡径部内に生ずる乱流に巻き込んで溶解することを特徴とする。
【発明の効果】
【0010】
上記本発明のガスエジェクションノズルは、キャビテーションねじ部材の使用によりガス溶解能力を高く維持しつつガスの自吸能力にも優れる。また、本発明のガス溶解装置及びガス溶解方法は、上記本発明のガスエジェクションノズルを用いることにより、液体にガスを高効率にて溶解できる。特に、ガスを圧送するためのボンベやポンプを用いずとも気液混合を容易に行なうことができるようになり、使用形態の拡大が可能である。
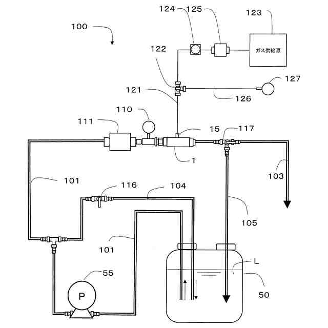
【図面の簡単な説明】
(【0011】以降は省略されています)
この特許をJ-PlatPat(特許庁公式サイト)で参照する
関連特許
株式会社西部技研
除湿装置
1か月前
株式会社日本触媒
ドロー溶質
1か月前
プライミクス株式会社
攪拌装置
10日前
日本バイリーン株式会社
フィルタ
24日前
サンノプコ株式会社
消泡剤
1か月前
東レ株式会社
遠心ポッティング方法
1か月前
トヨタ自動車株式会社
濾過装置
25日前
株式会社切川物産
撹拌装置
11日前
トヨタ紡織株式会社
フィルタ
4日前
個人
気液混合装置
1か月前
栗田工業株式会社
ギ酸の回収方法
11日前
大和ハウス工業株式会社
反応装置
1か月前
トヨタ紡織株式会社
水流帯電装置
4日前
松岡紙業 株式会社
油吸着体の製造方法
1か月前
株式会社フクハラ
圧縮空気圧回路ユニット
1か月前
東芝ライテック株式会社
光照射装置
25日前
富士電機株式会社
ガス処理システム
1か月前
株式会社明電舎
成膜装置
1か月前
東芝ライテック株式会社
紫外線処理装置
10日前
日本化薬株式会社
直鎖ブテン製造用触媒及びその使用
1か月前
本田技研工業株式会社
二酸化炭素回収装置
1か月前
本田技研工業株式会社
二酸化炭素回収装置
1か月前
ノリタケ株式会社
触媒材料およびその利用
1か月前
ノリタケ株式会社
触媒材料およびその利用
1か月前
ノリタケ株式会社
触媒材料およびその利用
1か月前
本田技研工業株式会社
二酸化炭素回収装置
1か月前
株式会社ダイセル
圧力容器
2日前
本田技研工業株式会社
二酸化炭素回収装置
1か月前
本田技研工業株式会社
二酸化炭素回収装置
1か月前
個人
フッ化炭素糸物にフッ素をコーティングした浄水手段
1か月前
いであ株式会社
PFAS除去用バイオ炭の製造方法
26日前
東京応化工業株式会社
ろ過処理方法、及び多孔質膜
1か月前
三浦工業株式会社
撹拌装置
1か月前
株式会社プロテリアル
触媒複合物および触媒前駆体複合物
1か月前
栗田工業株式会社
有機物含有水の脱泡処理装置
18日前
TPR株式会社
多孔質ブリーザ
1か月前
続きを見る
他の特許を見る