TOP
|
特許
|
意匠
|
商標
特許ウォッチ
Twitter
他の特許を見る
10個以上の画像は省略されています。
公開番号
2025154731
公報種別
公開特許公報(A)
公開日
2025-10-10
出願番号
2024057901
出願日
2024-03-29
発明の名称
室外機
出願人
パナソニックIPマネジメント株式会社
代理人
弁理士法人クシブチ国際特許事務所
主分類
F24F
1/24 20110101AFI20251002BHJP(加熱;レンジ;換気)
要約
【課題】電子部品への埃や糸くず等の付着を抑制することができる電装箱を備えた室外機を提供する。
【解決手段】室外機は、送風室と、機械室と、電装箱と、を有する室外機において、前記電装箱は、前記電装箱の下面に形成される吸気口と、前記電装箱の一側側面に形成される排出口と、を備えており、基板の前面及び背面には、電子部品が配置され、前記基板の背面に配置された電子部品において、少なくとも1つにはヒートシンクが設けられ、前記吸気口は、前記基板の後面よりも前方に設けられる。
【選択図】図4
特許請求の範囲
【請求項1】
送風室と、機械室と、電装箱と、を有する室外機において、
前記電装箱は、前記電装箱の下面に形成される吸気口と、前記電装箱の一側側面に形成される排出口と、を備えており、
基板の前面及び背面には、電子部品が配置され、
前記基板の背面に配置された電子部品において、少なくとも1つにはヒートシンクが設けられ、
前記吸気口は、前記基板の後面よりも前方に設けられる、
室外機。
続きを表示(約 600 文字)
【請求項2】
前記吸気口は、上面視にて前記基板の前面に設けられた電子部品と重なる位置に設けられる、
請求項1に記載の室外機。
【請求項3】
前記基板は、少なくとも第一基板と第二基板が設けられており、
前記電装箱の下面から前記第一基板及び第二基板の下端部までの高さに応じて、前記第一基板及び前記第二基板の前面に設けられた電子部品に対応する前記吸気口の奥行が規定され、
前記吸気口から前記第一基板及び第二基板の下端部までの高さが高いほど、前記吸気口から前記基板の下端部までの高さが低いものに比べて、前記第一基板及び前記第二基板の前面に設けられた電子部品と重なる吸気口の奥行が長くなる、
請求項1に記載の室外機。
【請求項4】
前記基板は、少なくとも第一基板と第二基板が設けられており、
前記電装箱の下面から前記第一基板及び第二基板の下端部までの高さに応じて、前記第一基板及び前記第二基板の前面に設けられた電子部品に対応する前記吸気口の最前端の位置が規定され、
前記吸気口の最前端の位置は、前記吸気口から前記第一基板及び第二基板の下端部までの高さが高いほど、前記吸気口から前記第一基板及び第二基板の下端部までの高さが低いものと比べて、前記吸気口の最前端が前記電装箱の前方側に設けられる、
請求項1に記載の室外機。
発明の詳細な説明
【技術分野】
【0001】
本開示は、室外機に関する。
続きを表示(約 1,600 文字)
【背景技術】
【0002】
特許文献1は、室外機筐体と、機械室と、送風機と、電装箱と、を備える室外機において、電装箱は、電装箱の下面に設けられた空気の流入口によって電装箱外から空気を吸気し、電装箱の側面に設けられた空気の流出口によって電装箱内の空気を排出することで、電装箱内に気流経路を形成し、電装箱内の基板を冷却する技術を開示する。
【先行技術文献】
【特許文献】
【0003】
国際公開2021/166237号公報号公報
【発明の概要】
【発明が解決しようとする課題】
【0004】
本開示は、電子部品への埃や糸くず等の付着を抑制することができる電装箱を備えた室外機を提供する。
【課題を解決するための手段】
【0005】
本開示における室外機は、送風室と、機械室と、電装箱と、を有する室外機において、前記電装箱は、前記電装箱の下面に形成される吸気口と、前記電装箱の一側側面に形成される排出口と、を備えており、前記基板の前面及び背面には、電子部品が配置され、前記基板の背面に配置された電子部品において、少なくとも1つにはヒートシンクが設けられ、前記吸気口は、前記基板の後面よりも前方に設けられる。
【発明の効果】
【0006】
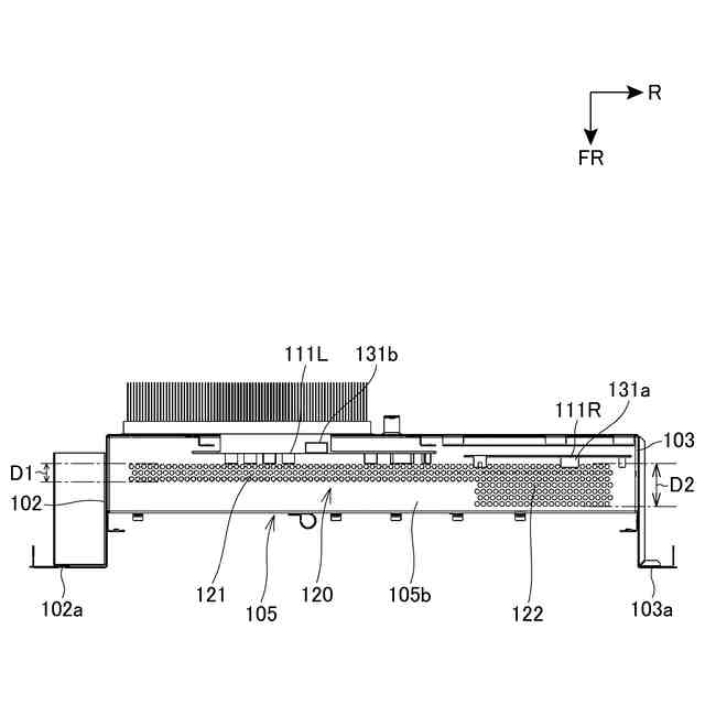
本開示における室外機は、上面視にて基板の前側にのみ流入口が形成される。よって、基板の後側に配置された電子部品への埃や糸くず等の付着を抑制できる。
【図面の簡単な説明】
【0007】
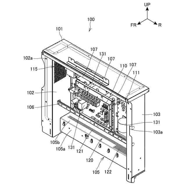
実施の形態1における室外機の斜視図
実施の形態1における前面カバーを外した室外機の斜視図
実施の形態1における室外機から一部の部品を取り外した斜視図
実施の形態1における電装箱の斜視図
実施の形態1における電装箱の上面図
実施の形態1における電装箱の正面図
実施の形態1における電装箱下面部の斜視図
他の実施の形態における電装箱下面部の斜視図
他の実施の形態における電装箱下面部の斜視図
【発明を実施するための形態】
【0008】
(本開示の基礎となった知見等)
発明者らが本開示に想到するに至った当時、電装箱に空気吸気口と空気排出口を設け、ファンにより空気を吸入することで気流を生じさせ、気流との接触により基板及び電子部品を冷却するという技術があった。しかしながら、従来の技術では、空気吸気口より吸い込まれた埃や糸くずが、電装箱内の電子部品に絡まることで、電子部品がショートする恐れがあると言う課題を発明者らは発見し、その課題を解決するために、本開示の主題を構成するに至った。
そこで、本開示は、電装箱内の電子部品への埃や糸くず等の付着を抑制できる電装箱を備えた室外機を提供する。
【0009】
以下、図面を参照しながら実施の形態を詳細に説明する。但し、必要以上に詳細な説明を省略する場合がある。例えば、既によく知られた事項の詳細説明、または、実質的に同一の構成に対する重複説明を省略する場合がある。
なお、添付図面および以下の説明は、当業者が本開示を十分に理解するために提供されるのであって、これらにより特許請求の範囲に記載の主題を限定することを意図していない。
【0010】
(実施の形態1)
[1-1.構成]
[1-1-1.室外機の構成]
以下、図面を参照して本開示の実施形態について説明する。各図には、室外機10の設置状態における方向を矢印で示している。符号UPは上方を示し、符号FRは前方を示し、符号Rは右方を示す。説明中、前後左右および上下といった方向の記載は、特に記載がなければ、図1の室外機10を基準とする。
(【0011】以降は省略されています)
この特許をJ-PlatPat(特許庁公式サイト)で参照する
関連特許
株式会社コロナ
空調装置
5日前
株式会社ノーリツ
給湯装置
4日前
極東開発工業株式会社
給湯システム
4日前
大和ハウス工業株式会社
建物
4日前
リンナイ株式会社
コンロバーナ
4日前
株式会社ノーリツ
ヒートポンプ給湯装置
4日前
株式会社シアーコーポレーション
冷暖房システム
4日前
ジオシステム株式会社
井水を熱源とする空調システム
4日前
パナソニックIPマネジメント株式会社
送風システム
4日前
パナソニックIPマネジメント株式会社
空調システム
5日前
ウエットマスター株式会社
加湿器
5日前
ウエットマスター株式会社
加湿器
5日前
株式会社インターセントラル
ハイブリッド空調システム
5日前
ダイキン工業株式会社
空気調和装置
4日前
ダイキン工業株式会社
空気調和装置
4日前
パナソニックIPマネジメント株式会社
貯湯式給湯機
5日前
清水建設株式会社
床吹き出し空調装置
4日前
パナソニックIPマネジメント株式会社
空気調和装置
5日前
パナソニックIPマネジメント株式会社
空気調和装置
4日前
株式会社富士通ゼネラル
空気調和機
4日前
株式会社富士通ゼネラル
空気調和機
4日前
河村電器産業株式会社
風向板付扉及びキャビネット
4日前
株式会社ササクラ
空調システム
4日前
大和ハウス工業株式会社
空調システム
5日前
大和ハウス工業株式会社
建物の空調構造
5日前
ダイキン工業株式会社
空調ゾーニング方法
5日前
パナソニックIPマネジメント株式会社
室外機
4日前
パナソニックIPマネジメント株式会社
室外機
4日前
ダイキン工業株式会社
連携制御装置、連携制御方法、連携制御プログラム
4日前
三菱電機株式会社
換気装置、送風装置および制御装置
5日前
大和ハウス工業株式会社
複数床部屋の空調システム
5日前
ダイキン工業株式会社
空調機のための保守システム
4日前
パナソニックIPマネジメント株式会社
ガス処理装置
4日前
三菱電機株式会社
温度調節機能付き換気装置及び換気システム
5日前
株式会社富士通ゼネラル
ヒートポンプ装置および熱源ユニット
5日前
日立グローバルライフソリューションズ株式会社
加熱調理器
4日前
続きを見る
他の特許を見る