TOP
|
特許
|
意匠
|
商標
特許ウォッチ
Twitter
他の特許を見る
10個以上の画像は省略されています。
公開番号
2025154662
公報種別
公開特許公報(A)
公開日
2025-10-10
出願番号
2024057780
出願日
2024-03-29
発明の名称
ストレージシステム、及びストレージにおけるデータ複製方法
出願人
日立ヴァンタラ株式会社
代理人
弁理士法人サンネクスト国際特許事務所
主分類
G06F
11/14 20060101AFI20251002BHJP(計算;計数)
要約
【課題】ストレージシステムにおいて、ペア関係を付与できない論理ボリューム同士でもSnapshotの管理操作を可能にする。
【解決手段】ストレージシステム201は、ファミリー識別情報とファミリー内識別情報と参照先メタ情報との対応を管理するメタ情報管理情報を生成する。またストレージシステム201は、複製元論理ボリュームの識別情報と複製先論理ボリュームの識別情報のそれぞれとファミリー識別情報とファミリー内識別情報との対応を管理する変換情報を生成する。ストレージシステム201は、上位装置からのアクセス要求に応じて、変換情報を参照し、複製元論理ボリュームと複製先論理ボリュームの識別情報から対応するファミリー識別情報とファミリー内識別情報を取得する。そして取得情報を基にメタ情報管理情報を参照し、複製元論理ボリュームと複製先論理ボリュームのそれぞれに対応する参照先メタ情報を取得して各データにアクセスする。
【選択図】図1
特許請求の範囲
【請求項1】
上位装置に対して複数の論理ボリュームを提供し、複製元論理ボリュームの複製である複製先論理ボリュームとしてスナップショットを作成可能なストレージコントローラを有するストレージシステムであって、
前記ストレージコントローラは、
前記複製元論理ボリュームと前記複製先論理ボリュームの前記スナップショットのペア関係を示す前記複製元論理ボリュームの識別情報と前記複製先論理ボリュームの識別情報の組と、該複製先論理ボリュームに格納されているデータの参照先を示す第1の参照先メタ情報と、の対応を管理するペア管理情報と、
前記複製元論理ボリュームの識別情報と、該複製元論理ボリュームに格納されているデータの参照先を示す第2の参照先メタ情報と、の対応を管理する複製元管理情報と、
の各情報を管理し、
前記複製元論理ボリュームと前記複製先論理ボリュームが前記論理ボリュームのグループを示すファミリーの内の同一のファミリーに所属するように、該複製元論理ボリュームと該複製先論理ボリュームに該ファミリーを一意に識別する同一のファミリー識別情報を割り当て、
前記第1の参照先メタ情報と前記第2の参照先メタ情報に、前記同一のファミリー内で前記論理ボリュームを一意に識別するファミリー内識別情報を割り当て、
前記ファミリー識別情報と、前記ファミリー内識別情報と、前記第1の参照先メタ情報及び前記第2の参照先メタ情報と、の対応を管理するメタ情報管理情報を生成し、
前記複製元論理ボリュームの識別情報と前記複製先論理ボリュームの識別情報のそれぞれと、該複製元論理ボリュームと該複製先論理ボリュームが所属する前記ファミリー識別情報と、該複製元論理ボリュームと該複製先論理ボリュームの前記ファミリー内識別情報と、の対応を管理する変換情報を生成し、
前記上位装置からの前記複製元論理ボリュームと前記複製先論理ボリュームに格納されている各前記データへのアクセス要求に応じて、前記変換情報を参照して、前記複製元論理ボリュームの識別情報と前記複製先論理ボリュームの識別情報からそれぞれに対応する前記ファミリー識別情報と前記ファミリー内識別情報を取得し、
取得した前記ファミリー識別情報と前記ファミリー内識別情報を基に前記メタ情報管理情報を参照して、前記複製元論理ボリュームと前記複製先論理ボリュームのそれぞれに対応する前記第1の参照先メタ情報と前記第2の参照先メタ情報を取得し、
取得した前記第1の参照先メタ情報と前記第2の参照先メタ情報を基に前記複製元論理ボリュームと前記複製先論理ボリュームに格納されている各前記データにアクセスする
ことを特徴とするストレージシステム。
続きを表示(約 2,800 文字)
【請求項2】
請求項1に記載のストレージシステムであって、
前記ストレージコントローラは、
前記複製元論理ボリュームのリストアの指示を受け付けると、前記複製先論理ボリュームから前記複製元論理ボリュームをリストアする
ことを特徴とするストレージシステム。
【請求項3】
請求項1に記載のストレージシステムであって、
前記ストレージコントローラは、
前記ペア管理情報において、
前記複製元論理ボリュームの識別情報と前記複製先論理ボリュームの識別情報を無効化して、該複製元論理ボリュームと該複製先論理ボリュームの前記ペア関係を無効化する
ことを特徴とするストレージシステム。
【請求項4】
請求項3に記載のストレージシステムであって、
前記ストレージコントローラは、
前記ペア管理情報において、
前記複製元論理ボリュームの識別情報と前記複製先論理ボリュームの識別情報に任意の前記論理ボリュームの識別情報を設定することで、該任意の論理ボリューム間の前記ペア関係を有効化する
ことを特徴とするストレージシステム。
【請求項5】
請求項4に記載のストレージシステムであって、
前記ストレージコントローラは、
入出力画面の第1の領域に、前記グループ毎に、前記ペア関係が有効化されている前記複製元論理ボリュームと前記複製先論理ボリュームの組を表示し、
前記入出力画面において、前記複製元論理ボリュームと前記複製先論理ボリュームのうちの該複製先論理ボリュームの選択を受け付け、
前記ペア管理情報において、選択を受け付けた前記複製先論理ボリュームの識別情報と、該複製先論理ボリュームの間で前記ペア関係が有効化されている前記複製元論理ボリュームの識別情報と、に無効値を設定して、該ペア関係を無効化し、
前記入出力画面の第2の領域に、前記ペア関係を無効化した前記複製元論理ボリュームと前記複製先論理ボリュームの組を移動させて表示する
ことを特徴とするストレージシステム。
【請求項6】
請求項5に記載のストレージシステムであって、
前記ストレージコントローラは、
前記入出力画面において、任意の2つの前記論理ボリュームの選択を受け付け、
前記ペア管理情報において、前記複製元論理ボリュームの識別情報と前記複製先論理ボリュームの識別情報に、前記任意の2つの論理ボリュームの識別情報を設定して、該任意の2つの論理ボリューム間の前記ペア関係を有効化し、
前記第1の領域に、前記ペア関係を有効化した前記論理ボリュームを移動させて表示する
ことを特徴とするストレージシステム。
【請求項7】
請求項1に記載のストレージシステムであって、
前記ストレージコントローラは、
前記複製元論理ボリュームと前記複製先論理ボリュームに、異なる前記ファミリー識別情報を付与し、
前記第1の参照先メタ情報と前記第2の参照先メタ情報に、前記異なるファミリー識別情報をそれぞれ割り当てて前記メタ情報管理情報及び前記変換情報を生成し、
前記異なるファミリー識別情報のうちの何れかの前記同一のファミリー識別情報を、前記第1の参照先メタ情報と前記第2の参照先メタ情報に同様に再割り当てし、
前記同一のファミリー識別情報の再割り当てに応じて、前記メタ情報管理情報において、該同一のファミリー識別情報と、該同一のファミリー識別情報に該当するファミリー内で前記複製元論理ボリュームと前記複製先論理ボリュームを一意に識別する前記ファミリー内識別情報と、前記第1の参照先メタ情報と前記第2の参照先メタ情報と、の対応を管理するように前記メタ情報管理情報を更新する
ことを特徴とするストレージシステム。
【請求項8】
上位装置に対して複数の論理ボリュームを提供し、複製元論理ボリュームの複製である複製先論理ボリュームとしてスナップショットを作成可能なストレージコントローラを有するストレージシステムが実行するストレージシステムにおけるデータ複製方法であって、
前記ストレージコントローラが、
前記複製元論理ボリュームと前記複製先論理ボリュームの前記スナップショットのペア関係を示す前記複製元論理ボリュームの識別情報と前記複製先論理ボリュームの識別情報の組と、該複製先論理ボリュームに格納されているデータの参照先を示す第1の参照先メタ情報と、の対応を管理するペア管理情報と、
前記複製元論理ボリュームの識別情報と、該複製元論理ボリュームに格納されているデータの参照先を示す第2の参照先メタ情報と、の対応を管理する複製元管理情報と、
の各情報を管理し、
前記複製元論理ボリュームと前記複製先論理ボリュームが前記論理ボリュームのグループを示すファミリーの内の同一のファミリーに所属するように、該複製元論理ボリュームと該複製先論理ボリュームに該ファミリーを一意に識別する同一のファミリー識別情報を割り当て、
前記第1の参照先メタ情報と前記第2の参照先メタ情報に、前記同一のファミリー内で前記論理ボリュームを一意に識別するファミリー内識別情報を割り当て、
前記ファミリー識別情報と、前記ファミリー内識別情報と、前記第1の参照先メタ情報及び前記第2の参照先メタ情報と、の対応を管理するメタ情報管理情報を生成し、
前記複製元論理ボリュームの識別情報と前記複製先論理ボリュームの識別情報のそれぞれと、該複製元論理ボリュームと該複製先論理ボリュームが所属する前記ファミリー識別情報と、該複製元論理ボリュームと該複製先論理ボリュームの前記ファミリー内識別情報と、の対応を管理する変換情報を生成し、
前記上位装置からの前記複製元論理ボリュームと前記複製先論理ボリュームに格納されている各前記データへのアクセス要求に応じて、前記変換情報を参照して、前記複製元論理ボリュームの識別情報と前記複製先論理ボリュームの識別情報からそれぞれに対応する前記ファミリー識別情報と前記ファミリー内識別情報を取得し、
取得した前記ファミリー識別情報と前記ファミリー内識別情報を基に前記メタ情報管理情報を参照して、前記複製元論理ボリュームと前記複製先論理ボリュームのそれぞれに対応する前記第1の参照先メタ情報と前記第2の参照先メタ情報を取得し、
取得した前記第1の参照先メタ情報と前記第2の参照先メタ情報を基に前記複製元論理ボリュームと前記複製先論理ボリュームに格納されている各前記データにアクセスする
各処理を有することを特徴とするストレージシステムにおけるデータ複製方法。
発明の詳細な説明
【技術分野】
【0001】
本発明は、ストレージシステム、及びストレージにおけるデータ複製方法に関する。
続きを表示(約 3,200 文字)
【背景技術】
【0002】
近年、データ利活用のニーズが高まり、データ複製の機会が増えている。これに伴い、ストレージシステムにおいて、ボリューム複製機能がますます重要になっている。ボリューム複製機能として、例えば、ローカルストレージ内で論理ボリューム(LDEV)のSnapshotを高速に作成する技術がある。この技術では、データのコピー(移動)を行わず、データの格納位置を示すメタデータのみを更新する方式(追書方式:Redirect-on-Write(RoW))を採用することで、高速な分割(Snapshot作成)、高速なリストア(Snapshotからのデータ回復)を実現している。そしてRoWにおいて、データの分割時及びリストア時にメタ情報のコピーを行うことで、I/O性能の低下を防止する従来技術が提案されている(例えば特許文献1参照)。
【0003】
この従来技術では、Snapshotの複製元論理ボリュームと複製先論理ボリュームのペアと呼ばれる関係を定義することで、データの関連性が管理され、データの分割やリストアといったSnapshotの管理操作が、ペア単位で実行される。
【先行技術文献】
【特許文献】
【0004】
特開2022-26812号公報
【発明の概要】
【発明が解決しようとする課題】
【0005】
しかしながら上述の従来技術では、Snapshotに係る論理ボリュームであっても、ペア関係を付与できない論理ボリューム同士では、Snapshotの管理操作が実行できないという問題があった。ペア関係を付与できない論理ボリュームには、例えば複製元論理ボリュームに対する複製先論理ボリュームをさらに複製した論理ボリュームと、複製元論理ボリュームとがあり、また複製元論理ボリュームに対する2つの複製先論理ボリュームがある。このように、Snapshotの世代が連続しない論理ボリューム同士は、ペア関係を付与できず、Snapshotの管理操作が実行できない。
【0006】
本発明は上記の課題に鑑みてなされたもので、ストレージシステムにおいて、ペア関係を付与できない論理ボリューム同士でもSnapshotの管理操作を可能にすることを目的とする。
【課題を解決するための手段】
【0007】
上記目的を達成するために、本発明では、上位装置に対して複数の論理ボリュームを提供し、複製元論理ボリュームの複製である複製先論理ボリュームとしてスナップショットを作成可能なストレージコントローラを有するストレージシステムであって、前記ストレージコントローラは、前記複製元論理ボリュームと前記複製先論理ボリュームの前記スナップショットのペア関係を示す前記複製元論理ボリュームの識別情報と前記複製先論理ボリュームの識別情報の組と、該複製先論理ボリュームに格納されているデータの参照先を示す第1の参照先メタ情報と、の対応を管理するペア管理情報と、前記複製元論理ボリュームの識別情報と、該複製元論理ボリュームに格納されているデータの参照先を示す第2の参照先メタ情報と、の対応を管理する複製元管理情報と、の各情報を管理し、前記複製元論理ボリュームと前記複製先論理ボリュームが前記論理ボリュームのグループを示すファミリーの内の同一のファミリーに所属するように、該複製元論理ボリュームと該複製先論理ボリュームに該ファミリーを一意に識別する同一のファミリー識別情報を割り当て、前記第1の参照先メタ情報と前記第2の参照先メタ情報に、前記同一のファミリー内で前記論理ボリュームを一意に識別するファミリー内識別情報を割り当て、前記ファミリー識別情報と、前記ファミリー内識別情報と、前記第1の参照先メタ情報及び前記第2の参照先メタ情報と、の対応を管理するメタ情報管理情報を生成し、前記複製元論理ボリュームの識別情報と前記複製先論理ボリュームの識別情報のそれぞれと、該複製元論理ボリュームと該複製先論理ボリュームが所属する前記ファミリー識別情報と、該複製元論理ボリュームと該複製先論理ボリュームの前記ファミリー内識別情報と、の対応を管理する変換情報を生成し、前記上位装置からの前記複製元論理ボリュームと前記複製先論理ボリュームに格納されている各前記データへのアクセス要求に応じて、前記変換情報を参照して、前記複製元論理ボリュームの識別情報と前記複製先論理ボリュームの識別情報からそれぞれに対応する前記ファミリー識別情報と前記ファミリー内識別情報を取得し、取得した前記ファミリー識別情報と前記ファミリー内識別情報を基に前記メタ情報管理情報を参照して、前記複製元論理ボリュームと前記複製先論理ボリュームのそれぞれに対応する前記第1の参照先メタ情報と前記第2の参照先メタ情報を取得し、取得した前記第1の参照先メタ情報と前記第2の参照先メタ情報を基に前記複製元論理ボリュームと前記複製先論理ボリュームに格納されている各前記データにアクセスすることを特徴とする。
【発明の効果】
【0008】
本発明によれば、ストレージシステムにおいて、ペア関係を付与できない論理ボリューム同士でもSnapshotの管理操作ができる。
【図面の簡単な説明】
【0009】
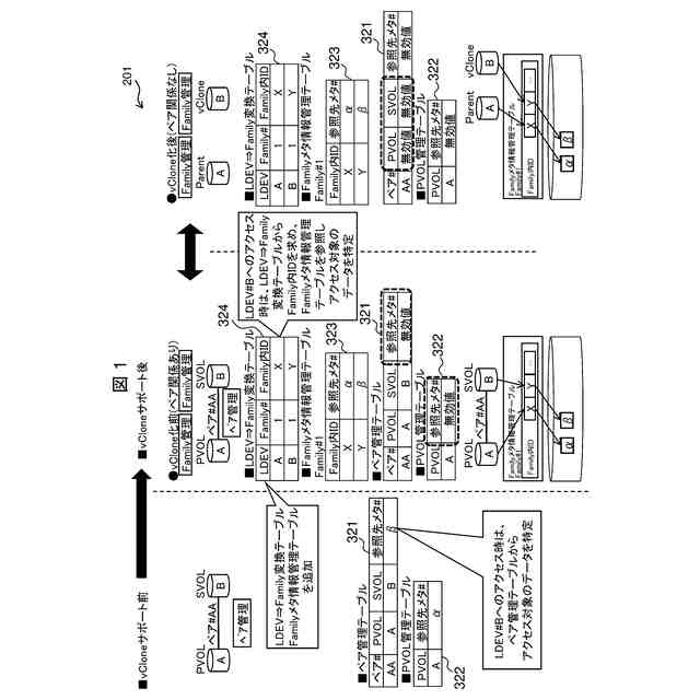
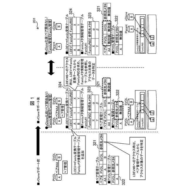
実施形態に係るストレージシステムの機能概要の説明図。
実施形態に係るストレージシステムの構成図。
実施形態に係るストレージシステムのメモリの構成図。
実施形態に係るペア管理テーブルの構成図。
実施形態に係るPVOL管理テーブルの構成図。
実施形態に係るFamilyメタ情報管理テーブルの構成図。
実施形態に係るLDEV⇒Family変換テーブルの構成図。
実施形態に係るvCloneサポート前SS⇒vCloneサポート後SS変換処理を示すシーケンス図。
実施形態に係るvCloneサポート前SS⇒vCloneサポート後SS変換処理を示すフローチャート。
実施形態に係るvCloneサポート前SS⇒vCloneサポート後SS変換処理の概要図。
実施形態に係るvCloneサポート前SS⇒vCloneサポート後SS変換処理の概要図。
実施形態に係るvCloneサポート前SS⇒vCloneサポート後SS変換処理の概要図。
実施形態に係るvCloneサポート前SS⇒vCloneサポート後SS変換処理の概要図。
実施形態に係るvCloneサポート後SS⇒vClone変換処理を示すシーケンス図。
実施形態に係るvCloneサポート後SS⇒vClone変換処理の概要図。
実施形態に係るvClone⇒vCloneサポート後SS変換処理を示すシーケンス図。
実施形態に係るvClone⇒vCloneサポート後SS変換処理の概要図。
実施形態に係るvCloneサポート後SS⇒vClone変換の入出力画面を示す図。
実施形態に係るvClone⇒vCloneサポート後SS変換の入出力画面を示す図。
【発明を実施するための形態】
【0010】
以下、本発明の実施形態について、図面を参照して説明する。なお、以下に説明する実施形態は特許請求の範囲に係る発明を限定するものではなく、また実施形態の中で説明されている諸要素及びその組み合わせの全てが発明の解決手段に必須であるとは限らない。また、発明の構成に必須だが周知である構成については、図示及び説明を省略する場合がある。
(【0011】以降は省略されています)
この特許をJ-PlatPat(特許庁公式サイト)で参照する
関連特許
日立ヴァンタラ株式会社
データ転送装置及び方法
3日前
日立ヴァンタラ株式会社
グループ生成装置、グループの決定方法
8日前
日立ヴァンタラ株式会社
ストレージシステム、及びストレージにおけるデータ複製方法
14日前
日立ヴァンタラ株式会社
ストレージシステム及びストレージシステムにおけるデータ複製方法
7日前
日立ヴァンタラ株式会社
ストレージシステム及び記憶制御方法
9日前
個人
詐欺保険
10日前
個人
縁伊達ポイン
10日前
個人
地球保全システム
23日前
個人
QRコードの彩色
14日前
個人
為替ポイント伊達夢貯
1か月前
個人
冷凍食品輸出支援構造
1か月前
個人
残土処理システム
16日前
個人
表変換編集支援システム
1か月前
個人
農作物用途分配システム
9日前
個人
知財出願支援AIシステム
1か月前
個人
タッチパネル操作指代替具
3日前
個人
知的財産出願支援システム
17日前
個人
AIによる情報の売買の仲介
1か月前
個人
スケジュール調整プログラム
2日前
個人
携帯端末障害問合せシステム
2日前
個人
行動時間管理システム
1か月前
個人
パスワード管理支援システム
1か月前
個人
海外支援型農作物活用システム
1か月前
個人
パスポートレス入出国システム
1か月前
個人
AIキャラクター制御システム
1か月前
株式会社キーエンス
受発注システム
22日前
個人
食品レシピ生成システム
22日前
株式会社キーエンス
受発注システム
22日前
株式会社キーエンス
受発注システム
22日前
株式会社アジラ
進入判定装置
1か月前
日本精機株式会社
施工管理システム
1か月前
個人
システム及びプログラム
1か月前
個人
SaaS型勤務調整支援システム
1か月前
個人
食事受注会計処理システム
1か月前
個人
人格進化型対話応答制御システム
1か月前
個人
音声対話型帳票生成支援システム
1か月前
続きを見る
他の特許を見る