TOP
|
特許
|
意匠
|
商標
特許ウォッチ
Twitter
他の特許を見る
公開番号
2025154603
公報種別
公開特許公報(A)
公開日
2025-10-10
出願番号
2024057702
出願日
2024-03-29
発明の名称
紐状物およびその製造方法、ならびに農業用誘引紐および梱包用紐
出願人
国立大学法人信州大学
,
大和紡績株式会社
代理人
個人
,
個人
,
個人
主分類
D02G
3/22 20060101AFI20251002BHJP(糸;糸またはロープの機械的な仕上げ;整経またはビーム巻き取り)
要約
【課題】所望の撚りを形成でき、かつ当該撚りの形状が維持され易く、加えて優れた取り扱い性を有する紐状物およびその製造方法を提供する。
【解決手段】帯状の不織布を撚って形成された紐状物であり、前記帯状の不織布は、前記紐状物の長手方向と交差する方向に並び、かつ、前記長手方向に沿って延びる、目付の異なる複数の部分を備え、前記複数の部分は、第1部分と、前記第1部分の目付より小さい目付を有する第2部分とを含む、紐状物。
【選択図】なし
特許請求の範囲
【請求項1】
帯状の不織布を撚って形成された紐状物であり、
前記帯状の不織布は、前記紐状物の長手方向と交差する方向に並び、かつ、前記長手方向に沿って延びる、目付の異なる複数の部分を備え、
前記複数の部分は、第1部分と、前記第1部分の目付より小さい目付を有する第2部分とを含む、紐状物。
続きを表示(約 700 文字)
【請求項2】
前記第1部分は、2層以上の繊維層を含み、
前記第2部分は、前記第1部分よりも少ない層数の繊維層を含む、請求項1に記載の紐状物。
【請求項3】
前記第1部分は、パルプを含む、請求項1に記載の紐状物。
【請求項4】
前記第1部分と当該第1部分に隣接する前記第2部分との境界線が、直線状である、請求項1に記載の紐状物。
【請求項5】
前記第1部分と当該第1部分に隣接する前記第2部分との境界線が、非直線状である、請求項1に記載の紐状物。
【請求項6】
前記第1部分の目付と前記第2部分の目付との差は、3.0g/m
2
以上である、請求項1に記載の紐状物。
【請求項7】
前記第1部分は、第1a部分と、前記第1a部分の目付よりも小さく、かつ、前記第2部分の目付よりも大きい目付を有する第1b部分と、を含む、請求項1に記載の紐状物。
【請求項8】
前記第2部分は、前記第1a部分と前記第1b部分との間に位置する、請求項7に記載の紐状物。
【請求項9】
前記第1a部分は、前記帯状の不織布の前記長手方向と交差する方向の一方の端部に位置し、
前記第1b部分は、前記帯状の不織布の前記長手方向と交差する方向の他方の端部に位置する、請求項7に記載の紐状物。
【請求項10】
前記第1b部分と、当該第1b部分に隣接する前記第1a部分または前記第2部分との境界線が、直線状である、請求項7に記載の紐状物。
(【請求項11】以降は省略されています)
発明の詳細な説明
【技術分野】
【0001】
本開示は、紐状物およびその製造方法、ならびに農業用誘引紐および梱包用紐に関する。
続きを表示(約 1,300 文字)
【背景技術】
【0002】
特許文献1~3は、不織布を裁断して紐状に加工することを提案している。
【先行技術文献】
【特許文献】
【0003】
特開平11-279962号公報
特開平08-126437号公報
特開平06-073676号公報
【発明の概要】
【発明が解決しようとする課題】
【0004】
上記の不織布の加工性および得られた紐状物の取り扱い性には、改善の余地がある。本開示は、不織布から得られ、所望の撚りを形成でき、かつ当該撚りの形状が維持され易く、加えて優れた取り扱い性を有する紐状物を提供することを目的とする。
【課題を解決するための手段】
【0005】
本開示は、
帯状の不織布を撚って形成された紐状物であり、
前記帯状の不織布は、前記紐状物の長手方向と交差する方向に並び、かつ、前記長手方向に沿って延びる、目付の異なる複数の部分を備え、
前記複数の部分は、第1部分と、前記第1部分の目付より小さい目付を有する第2部分とを含む、紐状物を提供する。
【0006】
本開示はまた、
紐状物の製造方法であって、
前記紐状物の長手方向と交差する方向に並び、かつ、前記長手方向に沿って延びる、目付の異なる複数の部分を備える不織布原反から、第1部分と前記第1部分の目付より小さい目付を有する第2部分とを含む帯状の不織布を取得することと、
前記帯状の不織布を、前記不織布のMD方向が前記紐状物の前記長手方向になるように撚ることと、を備える、紐状物の製造方法を提供する。
【発明の効果】
【0007】
本開示によれば、所望の撚りを形成でき、かつ当該撚りの形状が維持され易く、加えて優れた取り扱い性を有する紐状物が提供される。
【図面の簡単な説明】
【0008】
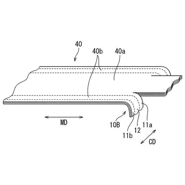
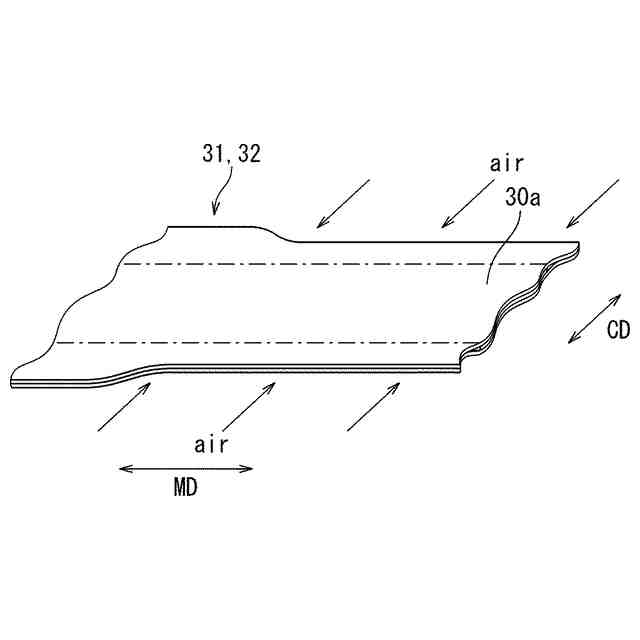
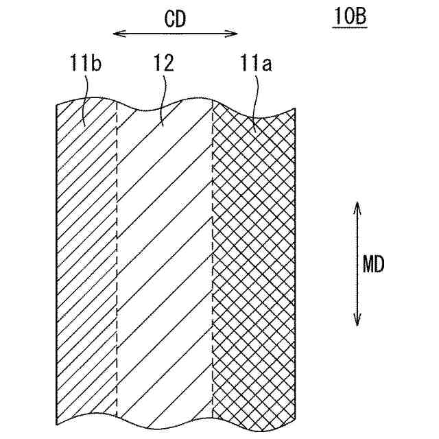
帯状の不織布の一例を模式的に示す上面図である。
図1で示される帯状の不織布から紐状物が製造される様子を模式的に示す上面図である。
帯状の不織布の他の例を模式的に示す上面図である。
図3で示される帯状の不織布から紐状物が製造される様子を模式的に示す上面図である。
不織布原反の一例を展開して示す斜視図である。
エッジ処理の様子を示す斜視図である。
不織布原反が裁断される様子を示す斜視図である。
【発明を実施するための形態】
【0009】
本開示の紐状物は、帯状の不織布を撚って形成されている。帯状の不織布は、紐状物の長手方向と交差する方向に並び、かつ、長手方向に沿って延びる、目付の異なる第1部分および第2部分を備える。長手方向に沿って延びる目付の異なる複数の部分によって、所望の撚りが形成され易くなるとともに、撚りの形状が維持され易くなる。加えて、取り扱い性が向上する。
【0010】
以下、撚りの形成され易さ、および、撚りの形状の維持され易さに関する総合的な性能を、撚り加工性と総称する場合がある。撚り加工性に優れる紐状物は、緊縛性も高い。
(【0011】以降は省略されています)
この特許をJ-PlatPat(特許庁公式サイト)で参照する
関連特許
国立大学法人信州大学
二次電池
7か月前
国立大学法人信州大学
流体デバイス
5か月前
国立大学法人信州大学
食品鮮度センサー
2か月前
国立大学法人信州大学
モータ用コイル基板
23日前
国立大学法人信州大学
卵巣機能調節用組成物
1か月前
国立大学法人信州大学
遺伝子疾患の検出方法
1か月前
国立大学法人信州大学
固定子及び可変磁束モータ
2か月前
国立大学法人信州大学
複合材料の製造方法及び複合材料
1か月前
国立大学法人信州大学
複合材料の製造方法及び複合材料
1か月前
国立大学法人信州大学
複合材料の製造方法及び複合材料
1か月前
セイコーエプソン株式会社
固体電解質
5か月前
国立大学法人信州大学
股関節用アシスト機構及びアシスト装置
1か月前
国立大学法人信州大学
苗育成用灌水装置および苗育成用灌水方法
4か月前
国立大学法人信州大学
無線通信ネットワーク内隠れ端末特定方法
5か月前
株式会社タカギ
複層化グラフェンの製造方法
8か月前
国立大学法人信州大学
反芻動物反芻胃からのメタンガス発生量推定方法
2か月前
株式会社ENEOSマテリアル
重合体の製造方法
2か月前
多摩川精機株式会社
ステータ構造及び同期電動機
1か月前
国立大学法人信州大学
水分解光触媒シート、その製造方法および水分解装置
6か月前
国立大学法人信州大学
気体貯蔵材、及びその製造方法、並びに、気体貯蔵方法
5か月前
信越化学工業株式会社
Y2Ti2O5S2の製造方法
5か月前
国立大学法人信州大学
イオン吸着剤造粒体及びイオン吸着剤造粒体の製造方法
1か月前
新日本電工株式会社
カラム型水処理装置及び水処理方法
6か月前
株式会社タクマ
脱水濃縮装置、及び二酸化炭素回収設備
4か月前
株式会社チャーリーラボ
シルクフィブロイン管状体
5か月前
住友金属鉱山株式会社
水素生成活性光触媒及びその製造方法
2か月前
国立大学法人京都大学
二酸化炭素を回収する方法および装置
3か月前
セイコーエプソン株式会社
ガーネット型結晶および前駆体溶液
6か月前
国立大学法人信州大学
オルニチンおよび/またはシトルリンの産生能に優れた新規微生物
8か月前
日本特殊陶業株式会社
微粒子分離装置、及び微粒子分離回収装置
4か月前
日本特殊陶業株式会社
微粒子分離装置、及び微粒子分離回収装置
4か月前
国立大学法人信州大学
紐状物およびその製造方法、ならびに農業用誘引紐および梱包用紐
1か月前
国立大学法人信州大学
紐状物およびその製造方法、ならびに農業用誘引紐および梱包用紐
1か月前
国立大学法人信州大学
環状ケテンアセタールの分解抑制方法、重合用組成物およびポリマー
8か月前
株式会社ユーグレナ
パラミロン-セルロース混合繊維及びその製造方法
3か月前
三和油化工業株式会社
酸化グラフェンの製造方法
7か月前
続きを見る
他の特許を見る