TOP
|
特許
|
意匠
|
商標
特許ウォッチ
Twitter
他の特許を見る
10個以上の画像は省略されています。
公開番号
2025154478
公報種別
公開特許公報(A)
公開日
2025-10-10
出願番号
2024057504
出願日
2024-03-29
発明の名称
脱色装置
出願人
株式会社ミマキエンジニアリング
代理人
弁理士法人紀尾井坂テーミス
主分類
D06B
3/10 20060101AFI20251002BHJP(繊維または類似のものの処理;洗濯;他に分類されない可とう性材料)
要約
【課題】脱色装置において、設備コストを低減しつつ、脱色液と電気機器の接触を防ぎ、安全性を高める。
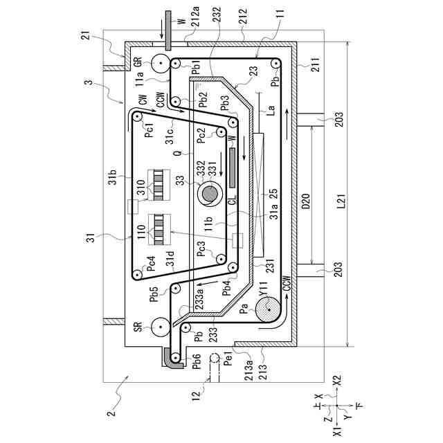
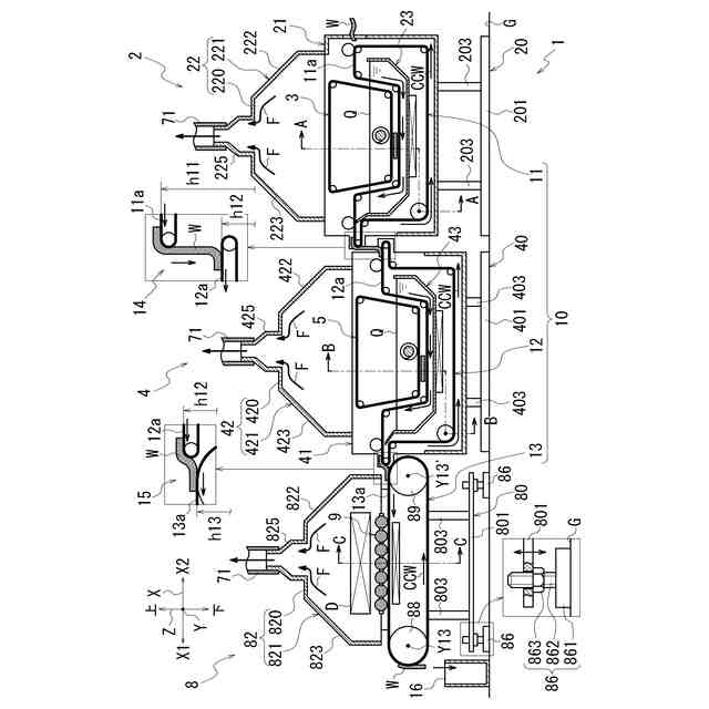
【解決手段】脱色装置1は、染料により染色又は着色された繊維を含むワークWを、脱色液Qにより脱色する。脱色装置1において、脱色液Qの漏出可能性のある処理部である脱色部2、すすぎ部4および乾燥部8に対して、少なくとも電気機器を有する部分を、離隔して配置する。
【選択図】図1
特許請求の範囲
【請求項1】
染料により染色又は着色された繊維を含むワークを、脱色液により脱色する脱色装置であって、
前記脱色液の漏出可能性のある処理部に対して、少なくとも電気機器を有する部分を、離隔して配置することを特徴とする脱色装置。
続きを表示(約 370 文字)
【請求項2】
請求項1において、
前記脱色液を加熱する加熱装置と、
前記加熱装置で気化した前記脱色液を液体に戻して回収する回収装置と、を備え、
前記回収装置は、前記電気機器と離隔して配置されることを特徴とする脱色装置。
【請求項3】
請求項1において、
前記脱色液の貯留部を備え、前記貯留部は、前記電気機器と離隔して配置されることを特徴とする脱色装置。
【請求項4】
請求項1において、
前記脱色液は、前記処理部での加熱温度を超える沸点を有する有機溶剤を含むことを特徴とする脱色装置。
【請求項5】
請求項1において、
前記処理部と前記電気機器を有する部分との離隔距離は、設置場所の規則に応じて設定することを特徴とする脱色装置。
発明の詳細な説明
【技術分野】
【0001】
本発明は、脱色装置に関する。
続きを表示(約 1,000 文字)
【背景技術】
【0002】
ポリエステル等の繊維を含むワークに対して、染料を昇華転写して染色を行うことができる。染色後のワークを脱色することで、ワークをリサイクル可能とする技術が提案されている(例えば、特許文献1)。例えば、ワークを脱色液に浸漬させて加熱した後、ワークを吸収体にプレスする。これによって、染料がワークから吸収体に移動するため、ワークを脱色することができる。
【先行技術文献】
【特許文献】
【0003】
特開2007-224128号公報
【発明の概要】
【発明が解決しようとする課題】
【0004】
脱色液として有機溶剤を含むものを用いることがある。脱色液を用いる処理部から漏出した脱色液が電気機器に接触すると、引火する可能性がある。脱色液と電気機器の接触を防ぐために、脱色液を用いる処理部を防爆構造とすることも考えられるが、設備コストが増加する。
【0005】
脱色装置において、設備コストを低減しつつ、脱色液と電気機器の接触を防ぎ、安全性を高めることが求められている。
【課題を解決するための手段】
【0006】
本発明のある態様における脱色装置は、
(1)染料により染色又は着色された繊維を含むワークを、脱色液により脱色する脱色装置であって、
前記脱色液の漏出可能性のある処理部に対して、少なくとも電気機器を有する部分を、離隔して配置する。
【0007】
(2)前記(1)の脱色装置において、
前記脱色液を加熱する加熱装置と、
前記加熱装置で気化した前記脱色液を液体に戻して回収する回収装置と、を備え、
前記回収装置は、前記電気機器と離隔して配置される。
【0008】
(3)前記(1)または(2)の脱色装置において、
前記脱色液の貯留部を備え、前記貯留部は、前記電気機器と離隔して配置される。
【0009】
(4)前記(1)~(3)のいずれかの脱色装置において、
前記脱色液は、前記処理部での加熱温度を超える沸点を有する有機溶剤を含む。
【0010】
(5)前記(1)~(4)のいずれかの脱色装置において、
前記処理部と前記電気機器を有する部分との離隔距離は、設置場所の規則に応じて設定する。
【発明の効果】
(【0011】以降は省略されています)
この特許をJ-PlatPat(特許庁公式サイト)で参照する
関連特許
個人
洗濯装置
2か月前
個人
洗濯物干しハンガー
2日前
株式会社青柳
染め加工方法
1か月前
東レ株式会社
繊維断面の検査方法
1か月前
東レ株式会社
ゴム補強用合成繊維コード
1か月前
東レ株式会社
炭素繊維シートの製造方法
2か月前
株式会社槌屋
加飾用表皮材
28日前
有限会社高田紙器製作所
紙製洗濯バサミ
3か月前
東レ株式会社
樹脂含浸繊維束の製造方法
3か月前
リンナイ株式会社
衣類乾燥機
22日前
株式会社大阪ソーダ
撥水撥油性繊維処理剤
2か月前
個人
ポリエステル染色物の製造方法
23日前
株式会社創和
ボックス状洗濯ネット
1か月前
リンテック株式会社
耐水性基材
27日前
シャープ株式会社
洗濯機
2か月前
個人
洗濯用洗剤容器の蓋
2か月前
アイリスオーヤマ株式会社
洗濯機
2日前
松本油脂製薬株式会社
繊維用処理剤及びその利用
2か月前
大阪瓦斯株式会社
衣類乾燥機
2か月前
大阪瓦斯株式会社
衣類乾燥機
2か月前
大阪瓦斯株式会社
衣類乾燥機
2か月前
個人
開閉角度調整可能な角型折畳みピンチハンガー
2か月前
シャープ株式会社
洗濯機
3か月前
シャープ株式会社
洗濯機
3か月前
ダイニック株式会社
ターポリン、及びその製造方法
23日前
シャープ株式会社
衣類処理システム
2か月前
東レ株式会社
人工皮革およびその製造方法ならびに雑貨
1か月前
東芝ライフスタイル株式会社
洗濯機
2か月前
東レ株式会社
抗菌性アクリル系繊維およびその製造方法
1か月前
東芝ライフスタイル株式会社
洗濯機
1か月前
シャープ株式会社
洗濯機
3か月前
株式会社コーワ
乾燥機のフィルター清掃装置及び乾燥機
27日前
株式会社wash-plus
ランドリーシステム
2日前
個人
パイプ用係止、固定装置及び洗濯バサミ取り付け具
2か月前
シャープ株式会社
洗濯機
3か月前
住友金属鉱山株式会社
赤外線遮蔽繊維構造物
28日前
続きを見る
他の特許を見る