TOP
|
特許
|
意匠
|
商標
特許ウォッチ
Twitter
他の特許を見る
公開番号
2025153874
公報種別
公開特許公報(A)
公開日
2025-10-10
出願番号
2024056566
出願日
2024-03-29
発明の名称
繊維及びその製造方法、並びに、繊維構造体及びその製造方法
出願人
株式会社カネカ
代理人
弁理士法人有古特許事務所
主分類
D01F
6/92 20060101AFI20251002BHJP(天然または人造の糸または繊維;紡績)
要約
【課題】本発明は、毛羽立ちの少なさと優れたフィルター性能とを両立する繊維構造体を提供し得るポリ(3-ヒドロキシアルカノエート)系樹脂含有繊維等を提供する。
【解決手段】本発明は、樹脂組成物を含む繊維であって、前記樹脂組成物は、ポリ(3-ヒドロキシアルカノエート)系樹脂およびポリ乳酸系樹脂を含み、前記ポリ(3-ヒドロキシアルカノエート)系樹脂および前記ポリ乳酸系樹脂の合計100重量部に対し、前記ポリ(3-ヒドロキシアルカノエート)系樹脂を40~95重量部含み、前記繊維の結晶化温度が85℃以下である、繊維等である。
【選択図】 なし
特許請求の範囲
【請求項1】
樹脂組成物を含む繊維であって、
前記樹脂組成物は、ポリ(3-ヒドロキシアルカノエート)系樹脂およびポリ乳酸系樹脂を含み、
前記ポリ(3-ヒドロキシアルカノエート)系樹脂および前記ポリ乳酸系樹脂の合計100重量部に対し、前記ポリ(3-ヒドロキシアルカノエート)系樹脂を40~95重量部含み、
前記繊維の結晶化温度が85℃以下である、繊維。
続きを表示(約 830 文字)
【請求項2】
前記繊維の190℃、荷重2.16kgにおけるメルトフローレートが20~1500g/10minである、請求項1に記載の繊維。
【請求項3】
繊維径が100μm以下である、請求項1又は2に記載の繊維。
【請求項4】
実質的にペンタエリスリトールを含有しない、請求項1又は2に記載の繊維。
【請求項5】
前記ポリ(3-ヒドロキシアルカノエート)系樹脂は、ポリ(3-ヒドロキシブチレート)系樹脂を含む、請求項1または2に記載の繊維。
【請求項6】
前記ポリ(3-ヒドロキシブチレート)系樹脂は、ポリ(3-ヒドロキシブチレート)、ポリ(3-ヒドロキシブチレート-コ-3-ヒドロキシヘキサノエート)、ポリ(3-ヒドロキシブチレート-コ-3-ヒドロキシバリレート)、ポリ(3-ヒドロキシブチレート-コ-4-ヒドロキシブチレート)、ポリ(3-ヒドロキシブチレート-コ-3-ヒドロキシオクタノエート)及びポリ(3-ヒドロキシブチレート-コ-3-ヒドロキシオクタデカノエート)からなる群より選択される少なくとも1種である、請求項5に記載の繊維。
【請求項7】
前記ポリ(3-ヒドロキシブチレート)系樹脂は、ポリ(3-ヒドロキシブチレート-コ-3-ヒドロキシヘキサノエート)及び/又はポリ(3-ヒドロキシブチレート-コ-4-ヒドロキシブチレート)である、請求項6に記載の繊維。
【請求項8】
前記ポリ(3-ヒドロキシブチレート)系樹脂は、ポリ(3-ヒドロキシブチレート-コ-3-ヒドロキシヘキサノエート)である、請求項7に記載の繊維。
【請求項9】
請求項1又は2に記載の繊維を含む、繊維構造体。
【請求項10】
スパンボンド不織布またはメルトブローン不織布である、請求項9に記載の繊維構造体。
(【請求項11】以降は省略されています)
発明の詳細な説明
【技術分野】
【0001】
本発明は、繊維及びその製造方法、並びに、繊維構造体及びその製造方法に関する。
続きを表示(約 2,000 文字)
【背景技術】
【0002】
近年、使い捨てマスクなどに代表される繊維構造体(不織布、織物、編物など)の使用量増加に伴い、マイクロファイバーの海洋流出による環境汚染が顕在化していることから、植物由来のポリ乳酸系樹脂(略称:PLA系樹脂)を使用した不織布などが提案されている(例えば、特許文献1)
また、ポリ(3-ヒドロキシアルカノエート)系樹脂(略称:P3HA系樹脂)は、ホームコンポストが可能であり、また、海洋生分解性に優れる等の利点を有することから注目されており、P3HA系樹脂を使用した不織布なども提案されている(特許文献2)。
【先行技術文献】
【特許文献】
【0003】
特許第5356960号公報
国際公開第2019/142920号
【発明の概要】
【発明が解決しようとする課題】
【0004】
ところで、繊維構造体は、毛羽立ちが少ないことや、フィルター性能に優れることが求められている。
しかしながら、ポリ(3-ヒドロキシアルカノエート)系樹脂を含有する繊維を使用した繊維構造体であって、毛羽立ちが少なく、フィルター性能に優れる繊維構造体については、これまで十分に検討がなされていない。
【0005】
そこで、本発明は、毛羽立ちの少なさと優れたフィルター性能とを両立する繊維構造体を提供し得るポリ(3-ヒドロキシアルカノエート)系樹脂含有繊維、及び、該繊維を含む繊維構造体を提供することを課題とする。
【課題を解決するための手段】
【0006】
本発明者が鋭意研究したところ、ポリ(3-ヒドロキシアルカノエート)系樹脂とポリ乳酸系樹脂とが所定の割合で含まれ、且つ、結晶化温度が85℃以下である繊維で繊維構造体を構成することにより、繊維構造体は、毛羽立ちの少なさと優れたフィルター性能とを両立した繊維構造体となることを見出し、本発明を完成するに至った。
【0007】
すなわち、本発明は、樹脂組成物を含む繊維であって、
前記樹脂組成物は、ポリ(3-ヒドロキシアルカノエート)系樹脂およびポリ乳酸系樹脂を含み、
前記ポリ(3-ヒドロキシアルカノエート)系樹脂および前記ポリ乳酸系樹脂の合計100重量部に対し、前記ポリ(3-ヒドロキシアルカノエート)系樹脂を40~95重量部含み、
前記繊維の結晶化温度が85℃以下である、繊維に関する。
また、本発明は、前記繊維を含む、繊維構造体にも関する。
さらに、本発明は、溶融紡糸法によって繊維を製造する製造方法であって、
ポリ(3-ヒドロキシアルカノエート)系樹脂およびポリ乳酸系樹脂を含む原料組成物を溶融する工程を含み、
前記原料組成物は、前記ポリ(3-ヒドロキシアルカノエート)系樹脂および前記ポリ乳酸系樹脂の合計100重量部に対し、前記ポリ(3-ヒドロキシアルカノエート)系樹脂を40~95重量部含み、
前記繊維の結晶化温度が85℃以下である、繊維の製造方法にも関する。
また、本発明は、前記繊維の製造方法で前記繊維を含む繊維構造体を製造し、
前記溶融紡糸法がメルトブローン法またはスパンボンド法である、繊維構造体の製造方法にも関する。
【発明の効果】
【0008】
本発明によれば、毛羽立ちの少なさと優れたフィルター性能とを両立する繊維構造体を提供し得るポリ(3-ヒドロキシアルカノエート)系樹脂含有繊維、及び、該繊維を含む繊維構造体を提供し得る。
【図面の簡単な説明】
【0009】
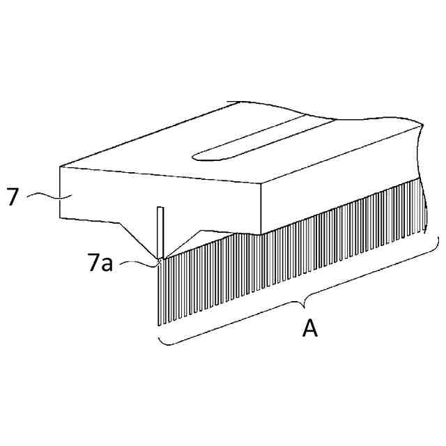
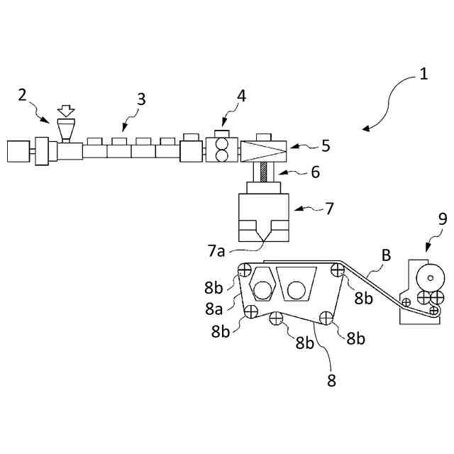
繊維の製造装置の概略図。
ノズルの概略斜視図。
ノズル孔とコンベアベルトとの概略断面図。
実施例1の繊維構造体の毛羽等級の評価試験後における試料の表面を撮影した写真。
実施例2の繊維構造体の毛羽等級の評価試験後における試料の表面を撮影した写真。
実施例3の繊維構造体の毛羽等級の評価試験後における試料の表面を撮影した写真。
実施例4の繊維構造体の毛羽等級の評価試験後における試料の表面を撮影した写真。
比較例2の繊維構造体の毛羽等級の評価試験後における試料の表面を撮影した写真。
比較例3の繊維構造体の毛羽等級の評価試験後における試料の表面を撮影した写真。
比較例4の繊維構造体の毛羽等級の評価試験後における試料の表面を撮影した写真。
【発明を実施するための形態】
【0010】
以下、添付図面を参照しつつ、本発明の一実施形態について説明する。
(【0011】以降は省略されています)
この特許をJ-PlatPat(特許庁公式サイト)で参照する
関連特許
株式会社カネカ
断熱材
4日前
株式会社カネカ
通報システム
4日前
株式会社カネカ
太陽電池パネルの検査装置
28日前
株式会社クラレ
樹脂組成物
25日前
株式会社カネカ
熱可塑性フィルムの製造方法
21日前
株式会社カネカ
チルド麺類用油脂組成物及びチルド麺類
28日前
株式会社カネカ
有機エレクトロルミネッセンスデバイス
21日前
株式会社カネカ
メタクリル樹脂組成物及び樹脂フィルム
28日前
株式会社カネカ
熱伝導シート及び熱伝導シートの製造方法
4日前
株式会社カネカ
熱伝導シート及び熱伝導シートの製造方法
4日前
株式会社カネカ
熱伝導シート及び熱伝導シートの製造方法
28日前
株式会社カネカ
熱伝導シート及び熱伝導シートの製造方法
28日前
株式会社カネカ
成膜方法、太陽電池の製造方法および太陽電池
28日前
株式会社カネカ
リサイクル発泡性スチレン系樹脂粒子の製造方法
21日前
株式会社カネカ
リサイクル発泡性スチレン系樹脂粒子の製造方法
21日前
株式会社カネカ
液晶材料、薄膜、及び有機エレクトロルミネッセンスデバイス
21日前
株式会社カネカ
情報処理システム、情報処理装置、情報処理方法、及びプログラム
1か月前
株式会社カネカ
常温流通用ホイップドクリーム向け起泡性水中油型乳化油脂組成物
28日前
株式会社カネカ
情報処理システム、情報処理装置、情報処理方法、及びプログラム
1か月前
株式会社カネカ
偏光子保護フィルム、偏光板、液晶パネルおよびアクリル樹脂組成物
28日前
株式会社カネカ
偏光子保護フィルム、偏光板、液晶パネルおよびアクリル樹脂組成物
28日前
株式会社カネカ
ケービング抑制剤、該ケービング抑制剤を含有するパン生地及びパン
28日前
株式会社カネカ
多液型硬化性組成物および硬化物
27日前
株式会社カネカ
発泡性スチレン系樹脂粒子、スチレン系樹脂発泡粒子、及びスチレン系樹脂発泡成形体
7日前
株式会社カネカ
積層体、片面金属張積層板および多層プリント配線板
4日前
株式会社大林組
繊維材供給システム
12日前
TMTマシナリー株式会社
糸巻取機
14日前
TMTマシナリー株式会社
紡糸設備
18日前
村田機械株式会社
玉揚装置及び自動ワインダ
5日前
マクセル株式会社
樹脂発泡糸の製造方法及びラム押出成形機
6日前
KBセーレン株式会社
繊維、ポリオレフィン繊維、及びポリオレフィン繊維の製造方法
4日前
ユニチカトレーディング株式会社
セルロース繊維製品のリサイクル方法及び短繊維状物
25日前
華巧國際有限公司
生体エネルギー混紡撚繊維およびその使用
28日前
レンチング アクチエンゲゼルシャフト
難燃性リヨセルフィラメント
4日前
国立大学法人 奈良先端科学技術大学院大学
アガロースナノファイバーおよびその製造方法
4日前
美津濃株式会社
芯鞘複合繊維及びそれを含む織編物ならびに芯鞘複合繊維の製造方法
25日前
続きを見る
他の特許を見る