TOP
|
特許
|
意匠
|
商標
特許ウォッチ
Twitter
他の特許を見る
10個以上の画像は省略されています。
公開番号
2025153856
公報種別
公開特許公報(A)
公開日
2025-10-10
出願番号
2024056526
出願日
2024-03-29
発明の名称
液体吐出ヘッド及び液体吐出装置
出願人
キヤノン株式会社
代理人
弁理士法人谷・阿部特許事務所
主分類
B41J
2/175 20060101AFI20251002BHJP(印刷;線画機;タイプライター;スタンプ)
要約
【課題】液体吐出ヘッドに対して最小限の工数で複数のチューブを接続する。
【解決手段】液体吐出ヘッド1は、液体を吐出するための吐出口と、吐出口に供給される液体が流れる液体流路、及び液体流路内の泡を排出するための脱気流路を有する筐体部と、液体流路と繋がる第1ヘッド側接続部と、脱気流路と繋がる第2ヘッド側接続部と、を備え、第1ヘッド側接続部は、液体流路に流入させるための液体が流れる供給チューブと繋がる本体側接続部材470の第1本体側接続部と接続され、第2ヘッド側接続部は、脱気流路を介して液体流路内の泡を排出するための脱気チューブと繋がる本体側接続部材470の第2本体側接続部と接続され、本体側接続部材470を移動させるレバー870の操作によって、第1ヘッド側接続部と第1本体側接続部とが接続されるとともに第2ヘッド側接続部と第2本体側接続部とが接続される。
【選択図】図58
特許請求の範囲
【請求項1】
液体を吐出するための吐出口と、
前記吐出口に供給される液体が流れる液体流路、及び前記液体流路内の泡を排出するための脱気流路を有する筐体部と、
前記液体流路と繋がる第1ヘッド側接続部と、
前記脱気流路と繋がる第2ヘッド側接続部と、
を備え、
前記第1ヘッド側接続部は、前記液体流路に流入させるための液体が流れる供給チューブと繋がる本体側接続部材の第1本体側接続部と接続され、
前記第2ヘッド側接続部は、前記脱気流路を介して前記液体流路内の泡を排出するための脱気チューブと繋がる前記本体側接続部材の第2本体側接続部と接続され、
前記本体側接続部材を移動させるレバーの操作によって、前記第1ヘッド側接続部と前記第1本体側接続部とが接続されるとともに前記第2ヘッド側接続部と前記第2本体側接続部とが接続されることを特徴とする液体吐出ヘッド。
続きを表示(約 1,400 文字)
【請求項2】
前記第1ヘッド側接続部及び前記第2ヘッド側接続部を有するヘッド側接続部材を備える、請求項1に記載の液体吐出ヘッド。
【請求項3】
前記第1ヘッド側接続部と前記第2ヘッド側接続部とは、前記ヘッド側接続部材における鉛直方向で同じ高さの位置に配置される、請求項2に記載の液体吐出ヘッド。
【請求項4】
前記第1ヘッド側接続部は、前記第1本体側接続部と嵌合可能な管状に形成され、
前記第2ヘッド側接続部は、前記第2本体側接続部と嵌合可能な管状に形成され、
前記第1本体側接続部は、前記第1ヘッド側接続部との隙間を封止可能なシール部材を用いて筒状に形成され、
前記第2本体側接続部は、前記第2ヘッド側接続部との隙間を封止可能なシール部材を用いて筒状に形成される、請求項2に記載の液体吐出ヘッド。
【請求項5】
前記第1ヘッド側接続部の基端部と前記第2ヘッド側接続部の基端部とは、前記ヘッド側接続部材において鉛直方向に延びる同一平面上に配置される、請求項4に記載の液体吐出ヘッド。
【請求項6】
複数の前記筐体部を備え、
複数の前記筐体部に対応して複数の前記第1ヘッド側接続部が設けられ、
前記ヘッド側接続部材は、複数の前記筐体部の前記脱気流路と1つの前記第2ヘッド側接続部とに繋がるヘッド側脱気流路を有する、請求項2に記載の液体吐出ヘッド。
【請求項7】
前記ヘッド側接続部材は、
複数の前記第1ヘッド側接続部を有する第1ヘッド側接続部材と、
1つの前記第2ヘッド側接続部を有して前記第1ヘッド側接続部材と結合される第2ヘッド側接続部材と、
を有し、
前記第1ヘッド側接続部材と前記第2ヘッド側接続部材との間に前記ヘッド側脱気流路が形成される、請求項6に記載の液体吐出ヘッド。
【請求項8】
前記筐体部は、
前記液体流路内の泡が捕集される泡溜め室と、
前記泡溜め室と気体透過膜を介して隣接して前記脱気流路と連通する減圧室と、
を有する、請求項1に記載の液体吐出ヘッド。
【請求項9】
前記液体流路を流れる液体を循環させるための循環ポンプを備える、請求項1に記載の液体吐出ヘッド。
【請求項10】
液体を吐出する液体吐出ヘッドを備え、
前記液体吐出ヘッドは、
液体を吐出するための吐出口と、
前記吐出口に供給される液体が流れる液体流路、及び前記液体流路内の泡を排出するための脱気流路を有する筐体部と、
前記液体流路と繋がる第1ヘッド側接続部と、
前記脱気流路と繋がる第2ヘッド側接続部と、
を備えており、
前記液体流路に流入させるための液体が流れる供給チューブと、
前記脱気流路を介して前記液体流路内の泡を排出するための脱気チューブと、
前記供給チューブと繋がる第1本体側接続部、及び前記脱気チューブと繋がる第2本体側接続部を有する本体側接続部材と、
前記本体側接続部材を移動させるレバーと、
を備え、
前記レバーの操作によって、前記第1ヘッド側接続部と前記第1本体側接続部とが接続されるとともに前記第2ヘッド側接続部と前記第2本体側接続部とが接続されることを特徴とする液体吐出装置。
(【請求項11】以降は省略されています)
発明の詳細な説明
【技術分野】
【0001】
本開示は、液体吐出ヘッド及び液体吐出装置に関する。
続きを表示(約 3,300 文字)
【背景技術】
【0002】
液体吐出装置において、タンクの交換時、液体吐出ヘッドの交換時などに、泡が混入することがある。この泡が液体吐出ヘッドの圧力室に侵入すると、インクなどの液体を吐出するための圧力が十分に得られず、液体の吐出性能に影響が生じ得る。また、泡が液体吐出ヘッドの流路中に残った場合、液体吐出装置の外部環境の変化によっては泡が膨張し、液体が漏れることなども考えられる。従って、液体吐出装置及び液体吐出ヘッドの使用安定性を高めるには、液体吐出ヘッドの内部に侵入した泡を外部に排出できるような構成とすることが望ましい。
【0003】
特許文献1には、液体流路内の泡を排出するための気体透過膜及び脱気流路(排気流路とも称される)を有する液体吐出ヘッドが開示されている。気体透過膜及び脱気流路を有する液体吐出ヘッドには、液体流路と繋がる第1の接続部と、脱気流路と繋がる第2の接続部とが設けられるものがある。
【先行技術文献】
【特許文献】
【0004】
特開2009-051123号公報
【発明の概要】
【発明が解決しようとする課題】
【0005】
液体流路及び脱気流路を有する液体吐出ヘッドでは、液体吐出ヘッドの装着時、または液体吐出ヘッドの交換時に、液体吐出ヘッドに対してチューブを接続する工数が増加する。例えば、前述の第1の接続部及び第2の接続部が設けられる液体吐出ヘッドでは、液体吐出ヘッドの装着時、または液体吐出ヘッドの交換時に、第1の接続部にチューブを接続するのに加え、第2の接続部に他のチューブを接続する必要がある。
【0006】
本開示は、液体吐出ヘッドに対して最小限の工数で複数のチューブを接続することを目的とする。
【課題を解決するための手段】
【0007】
本開示の一態様に係る液体吐出ヘッドは、液体を吐出するための吐出口と、前記吐出口に供給される液体が流れる液体流路、及び前記液体流路内の泡を排出するための脱気流路を有する筐体部と、前記液体流路と繋がる第1ヘッド側接続部と、前記脱気流路と繋がる第2ヘッド側接続部と、を備え、前記第1ヘッド側接続部は、前記液体流路に流入させるための液体が流れる供給チューブと繋がる本体側接続部材の第1本体側接続部と接続され、前記第2ヘッド側接続部は、前記脱気流路を介して前記液体流路内の泡を排出するための脱気チューブと繋がる前記本体側接続部材の第2本体側接続部と接続され、前記本体側接続部材を移動させるレバーの操作によって、前記第1ヘッド側接続部と前記第1本体側接続部とが接続されるとともに前記第2ヘッド側接続部と前記第2本体側接続部とが接続される。
【発明の効果】
【0008】
本開示によれば、液体吐出ヘッドに対して最小限の工数で複数のチューブを接続することができる。
【図面の簡単な説明】
【0009】
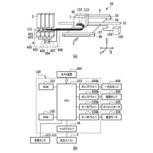
液体吐出装置を説明する図である。
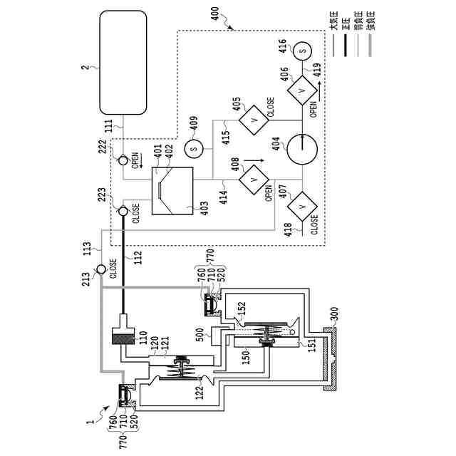
インク供給部の流路を示す模式図である。
圧力室加圧動作を説明する模式図である。
加圧維持動作を説明する模式図である。
インク補給動作を説明する模式図である。
泡抜き減圧動作を説明する模式図である。
液体吐出ヘッドの分解斜視図である。
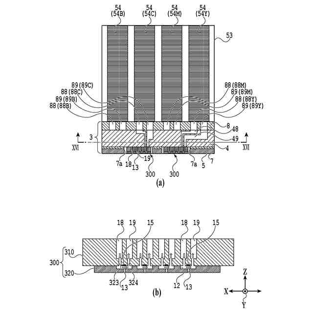
液体吐出ヘッド及び吐出モジュールの断面図である。
循環ユニットの外観概略図である。
循環経路を示す縦断面図である。
循環経路を模式的に示すブロック図である。
圧力調整手段の例を示す断面図である。
循環ポンプの外観斜視図である。
図13(a)に示した循環ポンプのXIV-XIV線断面図である。
液体吐出ヘッド内のインクの流れを説明する図である。
吐出ユニットにおける循環経路を示した模式図である。
開口プレートを示した図である。
吐出素子基板を示した図である。
吐出ユニットのインク流れを示した断面図である。
吐出口の近傍を示した断面図である。
吐出口の近傍の比較例を示した断面図である。
吐出素子基板の比較例を示した図である。
液体吐出ヘッドの流路構成を示した図である。
吐出口付近におけるインクの逆流を模式的に示す図である。
吐出モジュール内のインク供給を説明する図である。
液体吐出装置の本体部と液体吐出ヘッドとの接続状態を示す概略図である。
泡抜きユニットの概略図である。
泡抜きユニットの変形例を示す断面図である。
変形抑制部材の変形例を示す断面図である。
変形抑制部材の変形例を示す概略図である。
初期充填及び泡抜きユニットの動作を示す模式図である。
インク経路の第1構成例を模式的に示す図である。
循環経路の第1変形例を模式的に示す図である。
加熱式循環ポンプの近傍を模式的に示す図である。
循環経路の第1変形例を模式的に示す図である。
循環経路の第2変形例を模式的に示す図である。
循環経路の第2変形例を模式的に示す図である。
循環経路の第3変形例を模式的に示す図である。
循環経路の第3変形例を模式的に示す図である。
インク経路の第2構成例を模式的に示す図である。
循環経路の第4変形例を模式的に示す図である。
循環経路の第4変形例を模式的に示す図である。
循環経路の第5変形例を模式的に示す図である。
循環経路の第5変形例を模式的に示す図である。
循環経路の第6変形例を模式的に示す図である。
循環経路の第6変形例を模式的に示す図である。
循環経路の他の変形例を模式的に示すブロック図である。
循環経路の他の変形例を模式的に示すブロック図である。
循環経路の他の変形例を模式的に示すブロック図である。
液体吐出ヘッドを詳細に示す分解斜視図である。
循環ユニット内の一部を示す模式図である。
ヘッド側接続部材の分解斜視図である。
ヘッド側接続部材の一部を示す断面図である。
ヘッド側接続部材の外観図である。
本体側接続部材の外観図である。
ヘッド側接続部材と本体側接続部材とが接続された状態を模式的に示す断面図である。
ヘッド側接続部材と本体側接続部材とが接続された状態を示す模式図である。
ヘッド側接続部材に対する本体側接続部材の着脱を示す斜視図である。
レバーによる本体側接続部材の着脱を示す模式図である。
【発明を実施するための形態】
【0010】
<<実施形態1>>
以下、添付図面を参照して本開示の好適な実施の形態を詳しく説明する。尚、以下の実施の形態は本開示事項を限定するものでなく、また本実施の形態で説明されている特徴の組み合わせすべてが本開示の解決手段に必須のものとは限らない。尚、同一の構成要素には同一の参照番号を付す。本実施形態では、液体を吐出する吐出素子として、電熱変換素子により気泡を発生させて液体を吐出するサーマル方式を採用した例を用いて説明するが、これに限られない。圧電素子(ピエゾ)を用いて液体を吐出する吐出方式、または、他の吐出方式が採用された液体吐出ヘッドにも適用することができる。さらに、以下に説明するポンプ及び圧力調整手段等も、実施形態及び図面に記載されている構成自体に限定されるものではない。以下の説明では、まず、本開示の基本的構成を述べ、その後、本開示の特徴部について説明を行う。
(【0011】以降は省略されています)
この特許をJ-PlatPat(特許庁公式サイト)で参照する
関連特許
キヤノン株式会社
トナー
8日前
キヤノン株式会社
トナー
8日前
キヤノン株式会社
トナー
8日前
キヤノン株式会社
トナー
13日前
キヤノン株式会社
測距装置
1日前
キヤノン株式会社
現像容器
6日前
キヤノン株式会社
定着装置
7日前
キヤノン株式会社
記録装置
13日前
キヤノン株式会社
記録装置
6日前
キヤノン株式会社
撮影装置
6日前
キヤノン株式会社
電子機器
15日前
キヤノン株式会社
撮像装置
9日前
キヤノン株式会社
撮像装置
13日前
キヤノン株式会社
現像装置
6日前
キヤノン株式会社
現像容器
6日前
キヤノン株式会社
現像装置
6日前
キヤノン株式会社
モジュール
8日前
キヤノン株式会社
半導体装置
15日前
キヤノン株式会社
現像剤容器
14日前
キヤノン株式会社
光学センサ
8日前
キヤノン株式会社
画像形成装置
7日前
キヤノン株式会社
画像処理装置
14日前
キヤノン株式会社
画像表示装置
13日前
キヤノン株式会社
画像形成装置
7日前
キヤノン株式会社
画像処理装置
6日前
キヤノン株式会社
画像形成装置
7日前
キヤノン株式会社
画像形成装置
6日前
キヤノン株式会社
カートリッジ
6日前
キヤノン株式会社
画像形成装置
6日前
キヤノン株式会社
画像形成装置
2日前
キヤノン株式会社
画像形成装置
14日前
キヤノン株式会社
画像形成装置
13日前
キヤノン株式会社
表示システム
14日前
キヤノン株式会社
画像形成装置
6日前
キヤノン株式会社
画像形成装置
14日前
キヤノン株式会社
情報処理装置
6日前
続きを見る
他の特許を見る