TOP
|
特許
|
意匠
|
商標
特許ウォッチ
Twitter
他の特許を見る
10個以上の画像は省略されています。
公開番号
2025153614
公報種別
公開特許公報(A)
公開日
2025-10-10
出願番号
2024056173
出願日
2024-03-29
発明の名称
ヘッドアップディスプレイ
出願人
パナソニックオートモーティブシステムズ株式会社
代理人
個人
,
個人
,
個人
主分類
G02B
27/01 20060101AFI20251002BHJP(光学)
要約
【課題】重量化及び製造コストの高騰化を抑制することができるヘッドアップディスプレイを提供する。
【解決手段】ヘッドアップディスプレイ1は、表示画像となる表示光を出射する画像生成部20と、画像生成部20が出射した表示画像となる表示光をウィンドシールド3に導くことによって、ウィンドシールド3に対して観察者と反対側に虚像を形成する第2反射ミラー40~40gと、画像生成部20及び第2反射ミラー40~40gを収容する筐体10とを備え、第2反射ミラー40~40gは、表示光をウィンドシールド3に導く反射面を有する第1面141と、第1面141の裏面である第2面142とを有する長尺な基体45と、基体45の長手方向に沿って第2面142の端縁から立ち上がる立壁46とを有し、立壁46における長手方向の中央部分41a、42aは、立壁46における長手方向の両端部分41b、42bよりも高さが高い。
【選択図】図3
特許請求の範囲
【請求項1】
表示媒体に虚像を投射するヘッドアップディスプレイであって、
表示画像となる表示光を出射する画像生成部と、
前記画像生成部が出射した前記表示画像となる前記表示光を前記表示媒体に導くことによって、前記表示媒体に対して観察者と反対側に虚像を形成するミラーと、
前記画像生成部及び前記ミラーを収容する筐体とを備え、
前記ミラーは、
前記表示光を前記表示媒体に導く反射面を有する第1面と、前記第1面の裏面である第2面とを有する長尺な基体と、
前記基体の長手方向に沿って前記第2面の端縁から立ち上がる立壁とを有し、
前記立壁における前記長手方向の中央部分は、前記立壁における前記長手方向の両端部分よりも高さが高い
ヘッドアップディスプレイ。
続きを表示(約 660 文字)
【請求項2】
前記立壁は、前記長手方向に沿って延びる第1リブと、前記長手方向に沿って延び、前記第1リブよりも前記表示媒体から遠い位置に配置される第2リブとを有し、
前記ミラーは、
前記筐体の内部の壁面に対し、前記長手方向が傾くような姿勢で配置され、
前記第1リブ及び前記第2リブは、前記ミラーが回転しても前記筐体と接触しないような高さである
請求項1に記載のヘッドアップディスプレイ。
【請求項3】
前記ミラーは、前記長手方向に沿った直線に対して非対称な形状である
請求項1又は2に記載のヘッドアップディスプレイ。
【請求項4】
前記第1リブの高さは、前記第2リブの高さよりも高い
請求項2に記載のヘッドアップディスプレイ。
【請求項5】
前記ミラーを前記長手方向に沿った軸心周りで回転させるギアと、
前記ミラーより下方の前記筐体の底部に配置され、前記ギアと接続される駆動部とをさらに備える
請求項4に記載のヘッドアップディスプレイ。
【請求項6】
前記長手方向における前記第1リブの両端部分は、前記長手方向における前記第2リブの両端部分の位置と異なっている
請求項2に記載のヘッドアップディスプレイ。
【請求項7】
前記ミラーは、前記長手方向と交差する短手方向に沿った直線に対して非対称な形状である
請求項1又は2に記載のヘッドアップディスプレイ。
発明の詳細な説明
【技術分野】
【0001】
本開示は、例えば車両などに搭載されるヘッドアップディスプレイに関する。
続きを表示(約 1,700 文字)
【背景技術】
【0002】
従来、例えば車両などに搭載されるヘッドアップディスプレイが提案されている(特許文献1参照)。特許文献1には、表示画像となる表示光を出射する表示部と、表示部によって表示される画像を表示媒体に導くことによって、表示媒体に対して観察者と反対側に虚像を形成する第1ミラーとを備えたヘッドアップディスプレイが開示されている。第1ミラーは、第1面と第1面の裏面である第2面が形成され、リブが設けられた縁部を有する基体と、第1面に設けられた反射面とを有している。
【先行技術文献】
【特許文献】
【0003】
特開2022-139310号公報
【発明の概要】
【発明が解決しようとする課題】
【0004】
特許文献1のヘッドアップディスプレイでは、基体にリブを設けて第1ミラーの剛性を確保し、第1ミラーの重量化及び製造コストの高騰化を抑制することができている。
【0005】
しかしながら、ヘッドアップディスプレイでは、さらなる軽量化、及び、さらなる製造コストの低廉化が求められている。特許文献1のヘッドアップディスプレイでは、リブが大きくなれば、第1ミラーの重量が増加してしまい、ヘッドアップディスプレイが重量化し、製造コストが高騰化してしまうという課題がある。
【0006】
そこで、本開示は、重量化及び製造コストの高騰化を抑制することができるヘッドアップディスプレイを提供することを目的とする。
【課題を解決するための手段】
【0007】
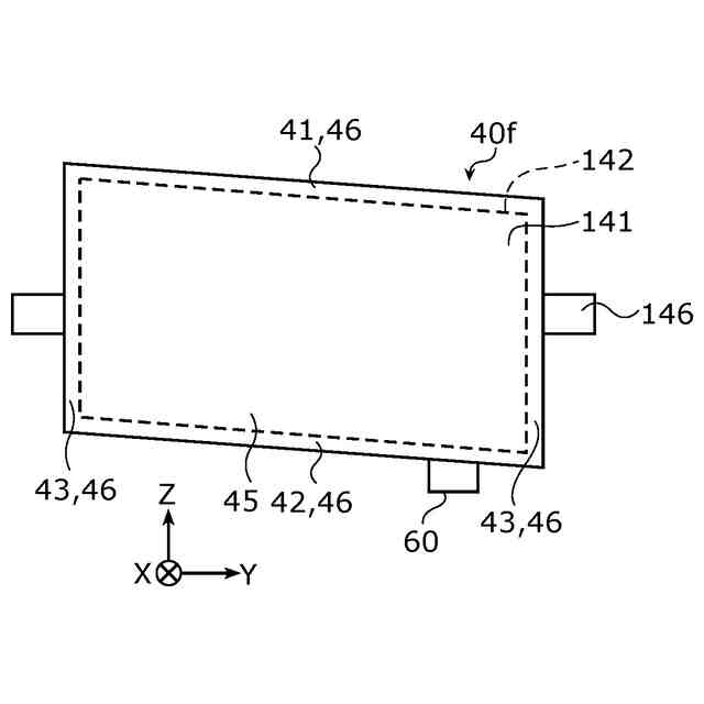
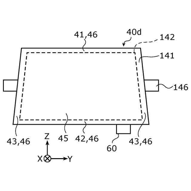
本開示の一態様に係るヘッドアップディスプレイは、表示媒体に虚像を投射するヘッドアップディスプレイであって、表示画像となる表示光を出射する画像生成部と、前記画像生成部が出射した前記表示画像となる前記表示光を前記表示媒体に導くことによって、前記表示媒体に対して観察者と反対側に虚像を形成するミラーと、前記画像生成部及び前記ミラーを収容する筐体とを備え、前記ミラーは、前記表示光を前記表示媒体に導く反射面を有する第1面と、前記第1面の裏面である第2面とを有する長尺な基体と、前記基体の長手方向に沿って前記第2面の端縁から立ち上がる立壁とを有し、前記立壁における前記長手方向の中央部分は、前記立壁における前記長手方向の両端部分よりも高さが高い。
【発明の効果】
【0008】
本開示の一態様に係るヘッドアップディスプレイによれば、重量化及び製造コストの高騰化を抑制することができる。
【図面の簡単な説明】
【0009】
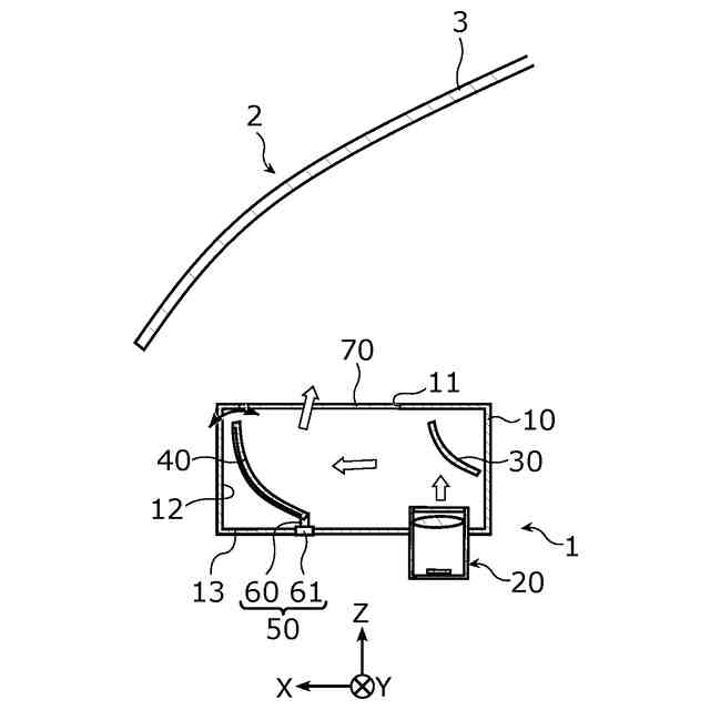
図1は、車両に搭載された実施の形態に係るヘッドアップディスプレイを示す斜視図である。
図2は、ウィンドシールドとヘッドアップディスプレイとを示す断面図である。
図3は、ヘッドアップディスプレイを示す図である。
図4は、凹部が形成された第1リブ及び凹部が形成された第2リブを有するヘッドアップディスプレイを示す図である。
図5は、第1リブの両端部分及び第2リブの両端部分が形成されていないヘッドアップディスプレイを示す図である。
図6は、第1リブの中央部分と第2リブの中央部分との位置がズレて形成されているヘッドアップディスプレイを示す図である。
図7は、第1リブが第2リブよりも短い第2反射ミラーを有するヘッドアップディスプレイを示す図である。
図8は、第2リブが第1リブよりも短い第2反射ミラーを有するヘッドアップディスプレイを示す図である。
図9は、菱形状の第2反射ミラーを有するヘッドアップディスプレイを示す図である。
図10は、一辺が欠けた多角形状の第2反射ミラーを有するヘッドアップディスプレイを示す図である。
図11は、本実施の形態に係るヘッドアップディスプレイの筐体と第2反射ミラーとの関係と、比較例の筐体と第2反射ミラーとの関係を示す概略説明図である。
【発明を実施するための形態】
【0010】
以下、実施の形態について、図面を参照しながら具体的に説明する。
(【0011】以降は省略されています)
この特許をJ-PlatPat(特許庁公式サイト)で参照する
関連特許
個人
立体像表示装置
今日
東レ株式会社
積層フィルム
6日前
東レ株式会社
貼合体の製造方法
今日
東レ株式会社
赤外線遮蔽構成体
今日
アイカ工業株式会社
反射防止フィルム
12日前
スタンレー電気株式会社
照明装置
7日前
日本電気株式会社
光集積回路素子
4日前
住友化学株式会社
偏光板
今日
住友化学株式会社
偏光板
今日
住友化学株式会社
積層体
4日前
日東電工株式会社
調光フィルム
5日前
日本精機株式会社
ヘッドアップディスプレイ装置
5日前
住友化学株式会社
光学積層体
今日
住友化学株式会社
偏光積層体
今日
旭化成株式会社
成形体
11日前
日本分光株式会社
赤外顕微鏡
11日前
旭化成株式会社
成形体
11日前
キヤノン株式会社
レンズ装置および撮像装置
13日前
住友ベークライト株式会社
積層体の製造方法
5日前
キヤノン株式会社
画像表示装置
11日前
キヤノン株式会社
レンズ装置および撮像装置
5日前
Orbray株式会社
MEMS光スイッチの制御方法
5日前
レーザーテック株式会社
検査装置及び検査方法
15日前
古河電気工業株式会社
光モジュール、光接続構造
5日前
住友化学株式会社
偏光板及び画像表示装置
6日前
京セラ株式会社
走査装置及び制御装置
4日前
京セラ株式会社
走査装置及び制御装置
4日前
住友ベークライト株式会社
光学シート
4日前
日東電工株式会社
積層光学部材及び光学装置
4日前
TDK株式会社
メタサーフェスレンズ
4日前
KDDI株式会社
光増幅器
12日前
株式会社精工技研
光コネクタプラグおよびロック工具
6日前
住友ベークライト株式会社
光学性積層体
4日前
住友ベークライト株式会社
光学性積層体
4日前
日本カーバイド工業株式会社
微小球型再帰反射シート
4日前
株式会社表面・界面工房
反射防止膜
今日
続きを見る
他の特許を見る