TOP
|
特許
|
意匠
|
商標
特許ウォッチ
Twitter
他の特許を見る
10個以上の画像は省略されています。
公開番号
2025153539
公報種別
公開特許公報(A)
公開日
2025-10-10
出願番号
2024056071
出願日
2024-03-29
発明の名称
洗濯機
出願人
パナソニックIPマネジメント株式会社
代理人
弁理士法人クシブチ国際特許事務所
主分類
D06F
39/14 20060101AFI20251002BHJP(繊維または類似のものの処理;洗濯;他に分類されない可とう性材料)
要約
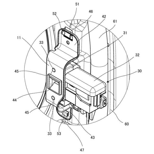
【課題】本開示は、蓋ロック装置を前面板に取り付けることができる洗濯機を提供する。
【解決手段】本開示の洗濯機は、本体開口を有する筐体と、前記本体開口を開閉自在に閉塞する開閉蓋と、前記筐体に設けられ、前記開閉蓋が閉じた状態で前記開閉蓋を施錠可能に構成された蓋ロック装置と、前記筐体の前面板に取り付けられた取付用部材と、を備え、前記蓋ロック装置は、前記取付用部材に取り付けられている。
【選択図】図6
特許請求の範囲
【請求項1】
本体開口を有する筐体と、
前記本体開口を開閉自在に閉塞する開閉蓋と、
前記筐体に設けられ、前記開閉蓋が閉じた状態で前記開閉蓋を施錠可能に構成された蓋ロック装置と、
前記筐体の前面板に取り付けられた取付用部材と、
を備え、
前記蓋ロック装置は、前記取付用部材に取り付けられている、
洗濯機。
続きを表示(約 570 文字)
【請求項2】
前記取付用部材は、前記蓋ロック装置が取り付けられる取付部と、前記取付部の両側に設けられ、前記前面板に固定される固定部と、を備え、
前記蓋ロック装置は、前記取付部の後面側に取り付けられている、
請求項1に記載の洗濯機。
【請求項3】
前記前面板から前方に突出する係合部をさらに備え、
前記係合部は、前方に延伸する第1部分と、前記第1部分から前記取付部と反対方向に延伸し、前記前面板との間に間隙を有する第2部分と、を含み、
前記固定部には、前記係合部が挿入される係合用孔が形成され、
前記取付用部材が前記前面板に取り付けられた状態で、前記固定部は、前記前面板と前記第2部分との間に位置する、
請求項2に記載の洗濯機。
【請求項4】
前記第1部分の少なくとも一方は、前記係合用孔の幅寸法と略同一に形成されている、
請求項3に記載の洗濯機。
【請求項5】
前記間隙の寸法は、前記固定部の厚み寸法と略同一に形成されている、
請求項3に記載の洗濯機。
【請求項6】
前記前面板の前記蓋ロック装置に対応する位置には、後面側に凹んだホース収容部が形成されている、
請求項1に記載の洗濯機。
発明の詳細な説明
【技術分野】
【0001】
本開示は、洗濯機に関する。
続きを表示(約 1,500 文字)
【背景技術】
【0002】
特許文献1は、洗濯機の外郭を形成する筐体と、筐体の内部に設けられた槽と、筐体の前面に形成され、洗濯物を投入する筐体開口と、筐体開口に対して開閉可能に構成された蓋体と、前面に配置され、蓋体が閉じた状態で蓋体を施錠可能に構成された蓋体ロック装置と、を備えた洗濯機を開示する。
【先行技術文献】
【特許文献】
【0003】
特開2023-047664号公報
【発明の概要】
【発明が解決しようとする課題】
【0004】
本開示は、蓋ロック装置を前面板に取り付けることができる洗濯機を提供する。
【課題を解決するための手段】
【0005】
本開示における洗濯機は、本体開口を有する筐体と、前記本体開口を開閉自在に閉塞する開閉蓋と、前記筐体に設けられ、前記開閉蓋が閉じた状態で前記開閉蓋を施錠可能に構成された蓋ロック装置と、前記筐体の前面板に取り付けられた取付用部材と、を備え、前記蓋ロック装置は、前記取付用部材に取り付けられている。
【発明の効果】
【0006】
本開示における洗濯機は、蓋ロック装置を前面板に取り付けることができる。
【図面の簡単な説明】
【0007】
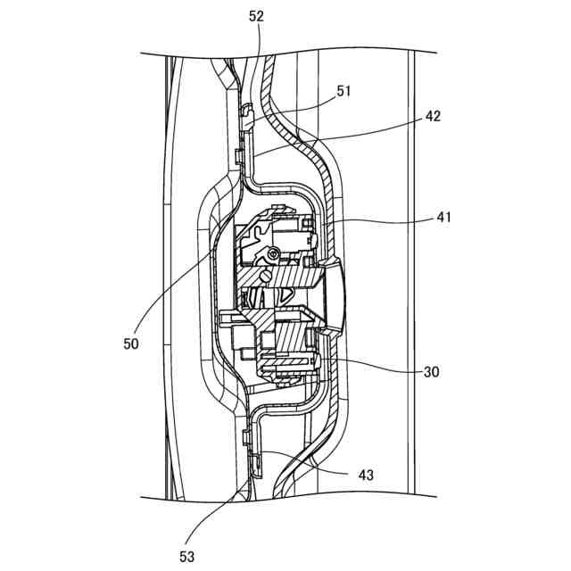
実施の形態1に係る洗濯機の外観を示す斜視図
実施の形態1における洗濯機の前面パネルを取り外した状態を示す斜視図
実施の形態1における洗濯機の筐体を示す斜視図
実施の形態1における前面板を示す斜視図
実施の形態1における前面板を示す正面図
実施の形態1における取付用部材および蓋ロック装置を示す斜視図
実施の形態1における取付用部材および蓋ロック装置を示す正面図
実施の形態1における取付用部材を前面板に取り付ける状態を示す断面図
図5のC-C線における断面図
図5のA-A線における断面図
【発明を実施するための形態】
【0008】
(本開示の基礎となった知見等)
従来の洗濯機では、蓋ロック装置を筐体の前面板に直接固定するようにしていた。
しかしながら、蓋ロック装置として大型の蓋ロック装置を用いる場合、筐体の前面板の絞り加工などが困難であり、蓋ロック装置を前面板に直接固定することが極めて困難であるという課題を発明者らは発見し、その課題を解決するために、本開示の主題を構成するに至った。
そこで、本開示は、蓋ロック装置を前面板に取り付けることができる洗濯機を提供する。
【0009】
以下、図面を参照しながら実施の形態を詳細に説明する。但し、必要以上に詳細な説明を省略する場合がある。例えば、既によく知られた事項の詳細説明、または、実質的に同一の構成に対する重複説明を省略する場合がある。
なお、添付図面および以下の説明は、当業者が本開示を十分に理解するために提供されるのであって、これらにより特許請求の範囲に記載の主題を限定することを意図していない。
【0010】
(実施の形態1)
以下、図面を用いて、実施の形態1を説明する。なお、実施の形態1では、洗濯機として洗濯機に適用した場合の例について説明する。
[1-1.構成]
[1-1-1.洗濯機の全体構成]
図1は、実施の形態1に係る洗濯機の外観を示す斜視図である。図2は、実施の形態1における洗濯機の開閉蓋を開いた状態を示す斜視図である。図3は、実施の形態1における洗濯機の筐体を示す斜視図である。
(【0011】以降は省略されています)
この特許をJ-PlatPat(特許庁公式サイト)で参照する
関連特許
個人
洗濯装置
2か月前
個人
洗濯物干しハンガー
1日前
東レ株式会社
繊維断面の検査方法
1か月前
株式会社青柳
染め加工方法
1か月前
東レ株式会社
炭素繊維シートの製造方法
2か月前
東レ株式会社
樹脂含浸繊維束の製造方法
3か月前
株式会社槌屋
加飾用表皮材
27日前
有限会社高田紙器製作所
紙製洗濯バサミ
3か月前
東レ株式会社
ゴム補強用合成繊維コード
1か月前
リンナイ株式会社
衣類乾燥機
21日前
個人
ポリエステル染色物の製造方法
22日前
株式会社創和
ボックス状洗濯ネット
1か月前
株式会社大阪ソーダ
撥水撥油性繊維処理剤
2か月前
個人
洗濯用洗剤容器の蓋
2か月前
リンテック株式会社
耐水性基材
26日前
シャープ株式会社
洗濯機
2か月前
アイリスオーヤマ株式会社
洗濯機
1日前
大阪瓦斯株式会社
衣類乾燥機
2か月前
大阪瓦斯株式会社
衣類乾燥機
2か月前
松本油脂製薬株式会社
繊維用処理剤及びその利用
2か月前
大阪瓦斯株式会社
衣類乾燥機
2か月前
個人
開閉角度調整可能な角型折畳みピンチハンガー
2か月前
シャープ株式会社
洗濯機
3か月前
シャープ株式会社
洗濯機
3か月前
ダイニック株式会社
ターポリン、及びその製造方法
22日前
シャープ株式会社
洗濯機
3か月前
シャープ株式会社
洗濯機
3か月前
シャープ株式会社
衣類処理システム
2か月前
株式会社コーワ
乾燥機のフィルター清掃装置及び乾燥機
26日前
個人
パイプ用係止、固定装置及び洗濯バサミ取り付け具
2か月前
東芝ライフスタイル株式会社
洗濯機
2か月前
東レ株式会社
人工皮革およびその製造方法ならびに雑貨
1か月前
株式会社wash-plus
ランドリーシステム
1日前
東芝ライフスタイル株式会社
洗濯機
1か月前
東レ株式会社
抗菌性アクリル系繊維およびその製造方法
1か月前
住友金属鉱山株式会社
赤外線遮蔽繊維構造物
27日前
続きを見る
他の特許を見る