TOP
|
特許
|
意匠
|
商標
特許ウォッチ
Twitter
他の特許を見る
10個以上の画像は省略されています。
公開番号
2025152945
公報種別
公開特許公報(A)
公開日
2025-10-10
出願番号
2024055135
出願日
2024-03-29
発明の名称
モータ部品、および、モータ
出願人
株式会社デンソー
代理人
個人
,
個人
主分類
H02K
1/278 20220101AFI20251002BHJP(電力の発電,変換,配電)
要約
【課題】特定領域の磁束の増大が抑制されたモータ部品、および、モータを提供する。
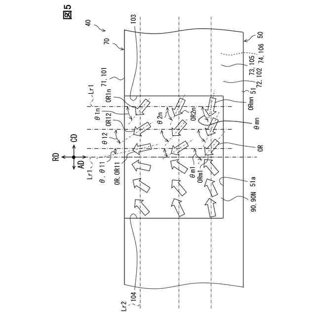
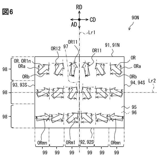
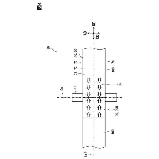
【解決手段】介在コア100は、周方向CDに隣り合う2つの磁石90の間に設けられている。磁石90の外面には、第1対向面91、第2対向面92、第1端面93及び第2端面94が含まれている。第1対向面91と第2対向面92とは、径方向RDに並べられており、第1端面93と第2端面94とは、周方向CDに並べられている。磁石90には、複数の配向ORが分布している。複数の配向ORの少なくとも一部は、径方向RDに沿う第1配向成分ORaと、周方向CDに沿う第2配向成分ORbとを有している。第2配向成分ORbは、第1対向面91側よりも第2対向面92側の方が大きく、縦中央部97側よりも端面93,94側の方が大きい。第1配向成分ORaは、第1対向面91側よりも第2対向面92側の方が小さく、縦中央部97側よりも端面93,94側の方が小さい。
【選択図】図6
特許請求の範囲
【請求項1】
第1方向(RD;AD;RD)に交差する第2方向(CD;CD;AD)に並ぶ複数のモータ磁石(90)と、前記第2方向で隣り合って並ぶ2つの前記モータ磁石の間に設けられ、軟磁性材料を含む介在部(100)と、を備えるモータ部品(40;140;240)であって、
前記モータ磁石は、
前記第1方向に並ぶ第1表面(91)および第2表面(92)と、
前記第2方向に並ぶ第1端部(93)および第2端部(94)と、
前記第1表面と前記第2表面との間、および、前記第1端部と前記第2端部との間で分布する複数の配向(OR)と、を備え、
複数の前記配向の少なくとも一部は、前記第1方向に沿う第1配向成分(ORa)、および、前記第2方向に沿う第2配向成分(ORb)を有し、
前記第1配向成分は、前記第1方向において、前記第1表面および前記第2表面の一方から他方に向かい、前記第1方向において、前記第1表面側よりも前記第2表面側の方が小さく、前記第2方向において、前記第1端部と前記第2端部との間の中央部(97)側よりも前記第1端部側と前記第2端部側それぞれの方が小さく、
前記第2配向成分は、前記第1方向において、前記第1表面側よりも前記第2表面側の方が大きく、前記第2方向において、前記第1端部と前記第2端部との間の中央部(97)側よりも前記第1端部側と前記第2端部側それぞれの方が大きく、
前記中央部から前記第1端部までの間と、前記中央部から前記第2端部までの間とでは、前記第2配向成分が逆向きであるモータ部品。
続きを表示(約 1,000 文字)
【請求項2】
前記第2配向成分は、前記第2方向において、前記中央部側から前記第1端部側と前記第2端部側それぞれに向かうにしたがって徐々に大きくなる請求項1に記載のモータ部品。
【請求項3】
前記第2配向成分は、前記第1方向において、前記第1表面側から前記第2表面側に向かうにしたがって徐々に大きくなる請求項1又は2に記載のモータ部品。
【請求項4】
前記第1配向成分は、前記第2方向において、前記中央部側から前記第1端部側と前記第2端部側それぞれに向かうにしたがって徐々に小さくなる請求項1又は2に記載のモータ部品。
【請求項5】
前記第1配向成分は、前記第1方向において、前記第1表面側から前記第2表面側に向かうにしたがって徐々に小さくなる請求項1又は2に記載のモータ部品。
【請求項6】
前記第2方向における1つの前記モータ磁石の長さを電気角に換算した角度は、前記第2方向における電気角180°に相当する角度以上である請求項1又は2に記載のモータ部品。
【請求項7】
前記介在部における前記モータ磁石側の側部(103,104)の前記第2方向の長さは、前記第1方向において前記第2表面側から前記第1表面側に向かうにしたがって長くなり、前記側部が前記第1方向において前記モータ磁石と並んでいる請求項1又は2に記載のモータ部品。
【請求項8】
前記第1方向において前記第2表面側から前記第1表面側に向かうにしたがって長くなる、前記側部の前記第2方向の長さの変化量は、一定である、減少している、若しくは、増大している請求項7に記載のモータ部品。
【請求項9】
軟磁性材料を含む支持部(51)を有し、
前記モータ磁石の前記第2表面側が前記支持部に対向し、前記モータ磁石が前記支持部に設けられている請求項1又は2に記載のモータ部品。
【請求項10】
前記モータ磁石は、前記第1方向において前記第1表面から前記第2表面に向かう前記第1配向成分を有する複数の前記配向を備える第1モータ磁石(90S)、若しくは、前記第1方向において前記第2表面から前記第1表面に向かう前記第1配向成分を有する複数の前記配向を備える第2モータ磁石(90N)である請求項1又は2に記載のモータ部品。
(【請求項11】以降は省略されています)
発明の詳細な説明
【技術分野】
【0001】
この明細書における開示は、モータ部品、および、モータに関する。
続きを表示(約 2,100 文字)
【背景技術】
【0002】
特許文献1には、径方向で対向配置されたステータとロータとを備える永久磁石モータが記載されている。このロータは、周方向で並ぶ複数の永久磁石を有している。
【先行技術文献】
【特許文献】
【0003】
特開2011-217517号公報
【発明の概要】
【発明が解決しようとする課題】
【0004】
特許文献1に記載の永久磁石は径方向に着磁されている。そのため、永久磁石の磁束によって形成される磁路が径方向に形成されやすくなる。永久磁石を備えるロータにおけるステータとの対向領域とは反対側の磁束が増える虞がある。
【0005】
本開示の1つの目的は、特定領域の磁束の増大が抑制されたモータ部品、および、モータを提供することである。
【課題を解決するための手段】
【0006】
この明細書に開示された複数の態様は、それぞれの目的を達成するために、互いに異なる技術的手段を採用する。また、特許請求の範囲及びこの項に記載した括弧内の符号は、一つの態様として後述する実施形態に記載の具体的手段との対応関係を示す一例であって、技術的範囲を限定するものではない。
【0007】
上記目的を達成するため、開示された態様は、
第1方向(RD;AD;RD)に交差する第2方向(CD;CD;AD)に並ぶ複数のモータ磁石(90)と、第2方向で隣り合って並ぶ2つのモータ磁石の間に設けられ、軟磁性材料を含む介在部(100)と、を備えるモータ部品(40;140;240)であって、
モータ磁石は、
第1方向に並ぶ第1表面(91)および第2表面(92)と、
第2方向に並ぶ第1端部(93)および第2端部(94)と、
第1表面と第2表面との間、および、第1端部と第2端部との間で分布する複数の配向(OR)と、を備え、
複数の配向の少なくとも一部は、第1方向に沿う第1配向成分(ORa)、および、第2方向に沿う第2配向成分(ORb)を有し、
第1配向成分は、第1方向において、第1表面および第2表面の一方から他方に向かい、第1方向において、第1表面側よりも第2表面側の方が小さく、第2方向において、第1端部と第2端部との間の中央部(97)側よりも第1端部側と第2端部側それぞれの方が小さく、
第2配向成分は、第1方向において、第1表面側よりも第2表面側の方が大きく、第2方向において、第1端部と第2端部との間の中央部(97)側よりも第1端部側と第2端部側それぞれの方が大きく、
中央部から第1端部までの間と、中央部から第2端部までの間とでは、第2配向成分が逆向きであるモータ部品である。
【0008】
これによれば、モータ磁石の第2表面側での磁路の形成が抑制される。モータ磁石がモータに組み込まれた構成において、モータ磁石の第2表面側(特定領域)で磁束が増大することが抑制される。
【0009】
また、モータ磁石から介在部を通る磁束が少なくなることが抑制される。この結果、介在部の疑似極としての機能が低まることが抑制される。
【0010】
開示された態様は、
通電に伴って励磁される励磁子(30;130;230)と、
第1方向(RD;AD;RD)で励磁子と並び、第1方向と交差する第2方向(CD;CD;AD)において励磁子に対して相対的に動く界磁子(40;140;240)と、を備えるモータ(10;110;210)であって、
界磁子は、第2方向に並ぶ複数のモータ磁石(90)と、第2方向で隣接して並ぶ2つのモータ磁石の間に設けられ、磁束を通して磁路を形成する介在部(100)と、を備え、
モータ磁石は、
第1方向に並ぶ第1表面(91)および第2表面(92)と、
第2方向に並ぶ第1端部(93)および第2端部(94)と、
第1表面と第2表面との間、および、第1端部と第2端部との間で分布する複数の配向(OR)と、を備え、
複数の配向の少なくとも一部は、第1方向に沿う第1配向成分(ORa)、および、第2方向に沿う第2配向成分(ORb)を有し、
第1配向成分は、第1方向において、第1表面および第2表面の一方から他方に向かい、第1方向において、第1表面側よりも第2表面側の方が小さく、第2方向において、第1端部と第2端部との間の中央部(97)側よりも第1端部側と第2端部側それぞれの方が小さく、
第2配向成分は、第1方向において、第1表面側よりも第2表面側の方が大きく、第2方向において、第1端部と第2端部との間の中央部(97)側よりも第1端部側と第2端部側それぞれの方が大きく、
中央部から第1端部までの間と、中央部から第2端部までの間とでは、第2配向成分が逆向きであるモータである。
(【0011】以降は省略されています)
この特許をJ-PlatPat(特許庁公式サイト)で参照する
関連特許
株式会社デンソー
車載器
9日前
株式会社デンソー
接合体
23日前
株式会社デンソー
電子装置
3日前
株式会社デンソー
電子装置
13日前
株式会社デンソーエレクトロニクス
発音装置
13日前
株式会社デンソー
平滑回路
1か月前
株式会社デンソー
反力装置
3日前
株式会社デンソー
通信装置
1か月前
株式会社デンソー
ねじ部材
9日前
株式会社デンソー
電子装置
4日前
株式会社デンソー
ステータ
9日前
株式会社デンソー
光学部材
1か月前
株式会社デンソー
ステータ
9日前
株式会社デンソー
ステータ
24日前
株式会社デンソー
太陽電池
25日前
株式会社デンソー
ステータ
24日前
株式会社デンソーエレクトロニクス
発音装置
1か月前
株式会社デンソー
電子装置
1か月前
株式会社デンソー
書込装置
1か月前
株式会社デンソー
駆動装置
1か月前
株式会社デンソー
センサ素子
1か月前
株式会社デンソー
レーダ装置
13日前
株式会社デンソー
ガスセンサ
1か月前
株式会社デンソー
半導体装置
9日前
株式会社デンソーテン
インバータ
3日前
株式会社デンソー
農業用装置
5日前
株式会社デンソー
回転体装置
1か月前
株式会社デンソー
レーダ装置
2日前
株式会社デンソー
電子制御装置
9日前
株式会社デンソーテン
車載映像装置
9日前
株式会社デンソー
電圧検出回路
5日前
株式会社デンソー
電力変換装置
9日前
株式会社デンソー
電力変換装置
1か月前
株式会社デンソー
電子制御装置
13日前
株式会社デンソーエアクール
換気空調装置
10日前
株式会社デンソー
電力変換装置
17日前
続きを見る
他の特許を見る