TOP
|
特許
|
意匠
|
商標
特許ウォッチ
Twitter
他の特許を見る
10個以上の画像は省略されています。
公開番号
2025152173
公報種別
公開特許公報(A)
公開日
2025-10-09
出願番号
2024053951
出願日
2024-03-28
発明の名称
半導体装置及び半導体装置の製造方法
出願人
ダイキン工業株式会社
代理人
弁理士法人前田特許事務所
主分類
H01L
25/07 20060101AFI20251002BHJP(基本的電気素子)
要約
【課題】半導体チップに対して複数の接続配線を接続するためのスペースを十分に確保できるようにする。
【解決手段】導電部材(25)は、第1電極(11)又は第2電極(12)に積層して接続される。接続配線(26)は、導電部材(25)と第2配線部材(22)とを接続する。導電部材(25)は、第1方向から見て、導電部材(25)が接続された第1電極(11)又は第2電極(12)よりも第2方向及び第3方向の少なくとも一方に突出するように延びる。接続配線(26)は、第2方向又は第3方向から見て、曲線状に延びる。
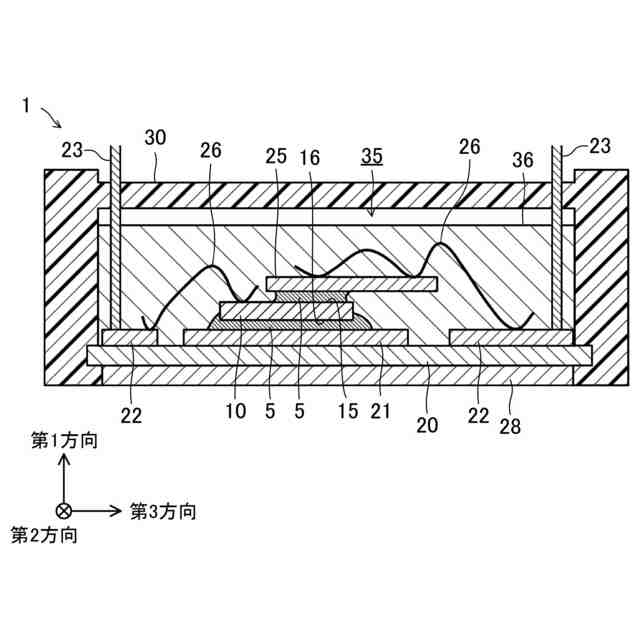
【選択図】図1
特許請求の範囲
【請求項1】
第1面(15)と、前記第1面(15)とは反対側の第2面(16)と、を有し、前記第1面(15)に、第1電極(11)と、前記第1電極(11)と間隔をあけて配置された第2電極(12)と、が設けられた半導体チップ(10)と、
導電性を有する板状の部材で構成され、前記第2面(16)側が対向するように前記半導体チップ(10)が載置された第1配線部材(21)と、
導電性を有する板状の部材で構成され、前記第1配線部材(21)に対して、前記第1配線部材(21)の板厚方向と直交する方向に間隔をあけて配置された第2配線部材(22)と、
導電性を有する部材で構成され、前記第1電極(11)又は前記第2電極(12)に積層して接続された導電部材(25)と、
前記導電部材(25)と前記第2配線部材(22)とを接続する接続配線(26)と、を備え、
前記導電部材(25)が前記第1電極(11)又は前記第2電極(12)に積層された方向を第1方向、前記第1方向に直交する方向を第2方向、前記第1方向及び前記第2方向に直交する方向を第3方向とし、
前記導電部材(25)は、前記第1方向から見て、前記導電部材(25)が接続された前記第1電極(11)又は前記第2電極(12)よりも前記第2方向及び前記第3方向の少なくとも一方に突出するように延び、
前記接続配線(26)は、前記第2方向又は前記第3方向から見て、曲線状に延びる
半導体装置。
続きを表示(約 1,100 文字)
【請求項2】
請求項1の半導体装置において、
前記半導体チップ(10)は、前記第1配線部材(21)に複数実装され、
前記導電部材(25)は、前記複数の半導体チップ(10)の前記第1電極(11)同士又は前記第2電極(12)同士に跨がって接続される
半導体装置。
【請求項3】
請求項1又は2の半導体装置において、
前記半導体チップ(10)の前記第1面(15)には、前記第1電極(11)及び前記第2電極(12)と間隔をあけて配置された第3電極(13)が設けられ、
前記導電部材(25)は、前記第1電極(11)、前記第2電極(12)、又は前記第3電極(13)に接続されるとともに、前記第1方向から見て、前記導電部材(25)が接続された前記第1電極(11)、前記第2電極(12)、又は前記第3電極(13)よりも前記第2方向及び前記第3方向の少なくとも一方に突出するように延びる
半導体装置。
【請求項4】
請求項1又は2の半導体装置において、
前記半導体チップ(10)の前記第2面(16)には、第3電極(13)が設けられ、
前記第3電極(13)は、前記第1配線部材(21)に接続される
半導体装置。
【請求項5】
請求項1又は2の半導体装置において、
前記導電部材(25)は、前記第1方向から見て、前記第2配線部材(22)に重なり合わないように配置される
半導体装置。
【請求項6】
請求項1又は2の半導体装置において、
前記導電部材(25)は、前記第1方向から見て、前記第1配線部材(21)よりも内側に配置される
半導体装置。
【請求項7】
請求項1又は2の半導体装置において、
前記半導体チップ(10)は、ワイドバンドギャップ半導体である
半導体装置。
【請求項8】
請求項1又は2の半導体装置において、
前記第1配線部材(21)と前記導電部材(25)との間に配置された絶縁性の封止材(36)を備える
半導体装置。
【請求項9】
請求項1又は2の半導体装置において、
前記導電部材(25)は、前記第1方向から見て、前記半導体チップ(10)よりも前記第2方向及び前記第3方向の少なくとも一方に突出するように延びる
半導体装置。
【請求項10】
請求項9の半導体装置において、
前記第1配線部材(21)と前記導電部材(25)との間で前記導電部材(25)を支持する絶縁性のスペーサ部材(40)を備える
半導体装置。
(【請求項11】以降は省略されています)
発明の詳細な説明
【技術分野】
【0001】
本開示は、半導体装置及び半導体装置の製造方法に関するものである。
続きを表示(約 1,700 文字)
【背景技術】
【0002】
特許文献1には、接続配線(ワイヤ)の端部を半導体チップ(半導体素子)の電極に接合する一方、接続配線の屈曲部を回路パターンに接合することで、半導体チップと回路パターンとを電気的に接続させた半導体装置が開示されている。
【先行技術文献】
【特許文献】
【0003】
国際公開第2022/163695号
【発明の概要】
【発明が解決しようとする課題】
【0004】
ところで、特許文献1の発明では、接続配線の端部を、半導体チップの電極に直接接合するようにしている。そのため、半導体チップの小型化に伴って電極の面積が小さくなると、電極上に、複数の接続配線を接続するためのスペースを十分に確保できないという問題がある。
【0005】
本開示の目的は、半導体チップに対して複数の接続配線を接続するためのスペースを十分に確保できるようにすることにある。
【課題を解決するための手段】
【0006】
本開示の第1の態様は、第1面(15)と、前記第1面(15)とは反対側の第2面(16)と、を有し、前記第1面(15)に、第1電極(11)と、前記第1電極(11)と間隔をあけて配置された第2電極(12)と、が設けられた半導体チップ(10)と、導電性を有する板状の部材で構成され、前記第2面(16)側が対向するように前記半導体チップ(10)が載置された第1配線部材(21)と、導電性を有する板状の部材で構成され、前記第1配線部材(21)に対して、前記第1配線部材(21)の板厚方向と直交する方向に間隔をあけて配置された第2配線部材(22)と、導電性を有する部材で構成され、前記第1電極(11)又は前記第2電極(12)に積層して接続された導電部材(25)と、前記導電部材(25)と前記第2配線部材(22)とを接続する接続配線(26)と、を備え、前記導電部材(25)が前記第1電極(11)又は前記第2電極(12)に積層された方向を第1方向、前記第1方向に直交する方向を第2方向、前記第1方向及び前記第2方向に直交する方向を第3方向とし、前記導電部材(25)は、前記第1方向から見て、前記導電部材(25)が接続された前記第1電極(11)又は前記第2電極(12)よりも前記第2方向及び前記第3方向の少なくとも一方に突出するように延び、前記接続配線(26)は、前記第2方向又は前記第3方向から見て、曲線状に延びる半導体装置である。
【0007】
第1の態様では、導電部材(25)における、第1電極(11)又は第2電極(12)よりも第2方向及び第3方向の少なくとも一方に突出する位置に、接続配線(26)を接続するためのスペースを確保することができる。
【0008】
本開示の第2の態様は、第1の態様の半導体装置において、前記半導体チップ(10)は、前記第1配線部材(21)に複数実装され、前記導電部材(25)は、前記複数の半導体チップ(10)の前記第1電極(11)同士又は前記第2電極(12)同士に跨がって接続される。
【0009】
第2の態様では、1つの導電部材(25)によって、複数の半導体チップ(10)の第1電極(11)同士又は第2電極(12)同士をまとめて接続することで、複数の半導体チップ(10)のそれぞれに導電部材(25)を接続した場合に比べて、接続配線(26)を接続する工数を低減することができる。
【0010】
本開示の第3の態様は、第1又は2の態様の半導体装置において、前記半導体チップ(10)の前記第1面(15)には、前記第1電極(11)及び前記第2電極(12)と間隔をあけて配置された第3電極(13)が設けられ、前記導電部材(25)は、前記第1電極(11)、前記第2電極(12)、又は前記第3電極(13)に接続されるとともに、前記第1方向から見て、前記導電部材(25)が接続された前記第1電極(11)、前記第2電極(12)、又は前記第3電極(13)よりも前記第2方向及び前記第3方向の少なくとも一方に突出するように延びる。
(【0011】以降は省略されています)
この特許をJ-PlatPat(特許庁公式サイト)で参照する
関連特許
ダイキン工業株式会社
撥剤
2日前
ダイキン工業株式会社
流体機械
4日前
ダイキン工業株式会社
冷凍装置
5日前
ダイキン工業株式会社
冷凍装置
2日前
ダイキン工業株式会社
監視装置
2日前
ダイキン工業株式会社
電力変換装置
2日前
ダイキン工業株式会社
冷媒充填方法
2日前
ダイキン工業株式会社
空気調和装置
2日前
ダイキン工業株式会社
空気調和装置
9日前
ダイキン工業株式会社
空気調和装置
2日前
ダイキン工業株式会社
固体冷凍装置
9日前
ダイキン工業株式会社
空調ゾーニング方法
3日前
ダイキン工業株式会社
熱交換器及び冷凍装置
11日前
ダイキン工業株式会社
熱源ユニット及び冷凍装置
5日前
ダイキン工業株式会社
電力変換装置及び冷凍装置
2日前
ダイキン工業株式会社
空調機のための保守システム
2日前
ダイキン工業株式会社
ノイズ抑制回路、空気調和機
2日前
ダイキン工業株式会社
電力変換システム、空気調和機
2日前
ダイキン工業株式会社
電力変換システム、空気調和機
2日前
ダイキン工業株式会社
紫外線照射装置および空気調和機
2日前
ダイキン工業株式会社
スクロール圧縮機、及び冷凍装置
9日前
ダイキン工業株式会社
磁気ユニット、圧縮機及び冷凍装置
2日前
ダイキン工業株式会社
樹脂組成物、成形体、及び、相溶化剤
2日前
ダイキン工業株式会社
冷凍装置、および臭気成分の供給方法
2日前
ダイキン工業株式会社
半導体装置及び半導体装置の製造方法
3日前
ダイキン工業株式会社
紫外線照射ユニット、及び空気調和装置
2日前
ダイキン工業株式会社
ベッド構造、及びベッド構造の製造方法
4日前
ダイキン工業株式会社
電力変換装置およびヒートポンプシステム
3日前
ダイキン工業株式会社
ロータ、回転電機、圧縮機、および、冷凍装置
2日前
ダイキン工業株式会社
半導体装置、電力変換装置、及び空気調和装置
4日前
ダイキン工業株式会社
連携制御装置、連携制御方法、連携制御プログラム
2日前
ダイキン工業株式会社
正極合剤用結着剤、正極合剤、正極および二次電池
2日前
ダイキン工業株式会社
監視装置、監視システム、監視方法、監視プログラム
2日前
ダイキン工業株式会社
電力変換装置及びそれを有するヒートポンプシステム
3日前
ダイキン工業株式会社
冷媒放出ユニット、冷凍サイクル装置及び冷媒放出方法
2日前
ダイキン工業株式会社
リモートコントローラ、リモートコントローラの製造方法
3日前
続きを見る
他の特許を見る