TOP
|
特許
|
意匠
|
商標
特許ウォッチ
Twitter
他の特許を見る
10個以上の画像は省略されています。
公開番号
2025146052
公報種別
公開特許公報(A)
公開日
2025-10-03
出願番号
2024046631
出願日
2024-03-22
発明の名称
スクロール圧縮機、及び冷凍装置
出願人
ダイキン工業株式会社
代理人
弁理士法人新樹グローバル・アイピー
主分類
F04C
18/02 20060101AFI20250926BHJP(液体用容積形機械;液体または圧縮性流体用ポンプ)
要約
【課題】スクロール圧縮機において、強度を確保するために可動スクロールのラップの高さを低くすると、スラスト摺動面に形成される隙間に潤滑油が入りにくくなるおそれがある。
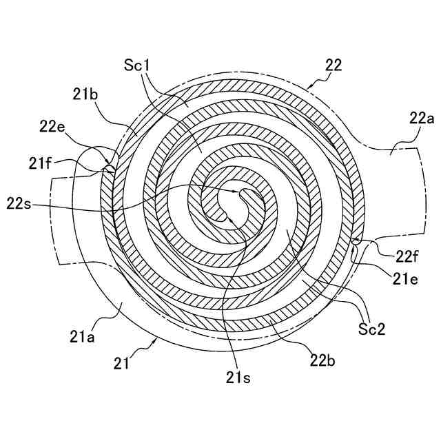
【解決手段】固定スクロール21の固定側ラップ21bは、第1領域R1と第2領域R2とを有する。第1領域R1は、巻き終わり21eから固定側基準点21fまでの領域である。第2領域R2は、固定側基準点21fから巻き始め21sまでの領域である。可動スクロール22の可動側ラップ22bは、第3領域R3と第4領域R4とを有する。第3領域R3は、巻き終わり22eから可動側基準点22fまでの領域である。第4領域R4は、可動側基準点22fから巻き始め22sまでの領域である。第1領域R1における第1寸法は、第2領域R2における第1寸法よりも、第1長さh1だけ短い。第3領域R3における第2寸法は、第4領域R4における第2寸法よりも、第2長さh2だけ短い。
【選択図】図8
特許請求の範囲
【請求項1】
固定側鏡板(21a)と固定側ラップ(21b)とを有する固定スクロール(21)と、可動側鏡板(22a)と可動側ラップ(22b)とを有する可動スクロール(22)と、を有する圧縮機構(20)と、
背圧空間(B0)の圧力によって前記可動スクロールに向かって押されて、前記可動スクロールを前記固定スクロールに向かって押し付けるフローティング部材(30)と、
前記フローティング部材を支持し、前記フローティング部材との間に前記背圧空間を形成するハウジング(40)と、
を備え、
前記固定側ラップは、外周側の端部である第1点(21e)から、内周側の端部である第2点(21s)まで渦巻状に延び、かつ、前記固定側鏡板の第1主表面(21p)から、所定の第1寸法を有して第1方向(D1)に沿って延び、
前記可動側ラップは、外周側の端部である第3点(22e)から、内周側の端部である第4点(22s)まで渦巻状に延び、かつ、前記第1主表面と対向する、前記可動側鏡板の第2主表面(22p)から、所定の第2寸法を有して前記第1方向に沿って延び、
前記固定側ラップは、
前記第1点から、前記可動スクロールの旋回中に前記第3点と接する第5点(21f)までの第1領域(R1)と、
前記第5点から、前記第2点までの第2領域(R2)と、
を有し、
前記可動側ラップは、
前記第3点から、前記可動スクロールの旋回中に前記第1点と接する第6点(22f)までの第3領域(R3)と、
前記第6点から、前記第4点までの第4領域(R4)と、
を有し、
前記第1領域における前記第1寸法は、前記第2領域における前記第1寸法よりも、第1長さ(h1)だけ短く、
前記第3領域における前記第2寸法は、前記第4領域における前記第2寸法よりも、第2長さ(h2)だけ短い、
スクロール圧縮機(101)。
続きを表示(約 1,500 文字)
【請求項2】
固定側鏡板(21a)と固定側ラップ(21b)とを有する固定スクロール(21)と、可動側鏡板(22a)と可動側ラップ(22b)とを有する可動スクロール(22)と、を有する圧縮機構(20)と、
背圧空間(B0)の圧力によって前記可動スクロールに向かって押されて、前記可動スクロールを前記固定スクロールに向かって押し付けるフローティング部材(30)と、
前記フローティング部材を支持し、前記フローティング部材との間に前記背圧空間を形成するハウジング(40)と、
を備え、
前記固定側ラップは、外周側の端部である第1点(21e)から、内周側の端部である第2点(21s)まで渦巻状に延び、かつ、前記固定側鏡板の第1主表面(21p)から、所定の第1寸法を有して第1方向(D1)に沿って延び、
前記可動側ラップは、外周側の端部である第3点(22e)から、内周側の端部である第4点(22s)まで渦巻状に延び、かつ、前記第1主表面と対向する、前記可動側鏡板の第2主表面(22p)から、所定の第2寸法を有して前記第1方向に沿って延び、
前記固定側ラップは、
前記第1点から、前記可動スクロールの旋回中に前記第3点と接する第5点(21f)までの第1領域(R1)と、
前記第5点から、前記第2点までの第2領域(R2)と、
を有し、
前記可動側ラップは、
前記第3点から、前記可動スクロールの旋回中に前記第1点と接する第6点(22f)までの第3領域(R3)と、
前記第6点から、前記第4点までの第4領域(R4)と、
を有し、
前記第3領域の先端面と対向する前記第1主表面は、前記第4領域の先端面と対向する前記第1主表面よりも、前記第2主表面から離れる方向に第1長さ(h1)だけ凹んでおり、
前記第1領域の先端面と対向する前記第2主表面は、前記第2領域の先端面と対向する前記第2主表面よりも、前記第1主表面から離れる方向に第2長さ(h2)だけ凹んでいる、
スクロール圧縮機(101)。
【請求項3】
前記第1長さ及び前記第2長さの下限値は、旋回中の可動スクロールの前記第1方向の変位量である、
請求項1又は2に記載のスクロール圧縮機。
【請求項4】
前記下限値は、前記第3領域における前記第1寸法の1000分の1以上である、
請求項3に記載のスクロール圧縮機。
【請求項5】
前記第1長さ及び前記第2長さの上限値は、前記可動スクロールが旋回していない時における、前記第1方向における、前記可動側ラップの先端面と、前記第1主表面と、の間の距離の最小値である、
請求項1又は2に記載のスクロール圧縮機。
【請求項6】
前記上限値は、150μm~250μmである、
請求項5に記載のスクロール圧縮機。
【請求項7】
前記第3領域の先端面と対向する前記第1主表面は、前記第4領域の先端面と対向する前記第1主表面よりも、前記第2主表面から離れる方向に第3長さだけ凹んでおり、
前記第1領域の先端面と対向する前記第2主表面は、前記第2領域の先端面と対向する前記第2主表面よりも、前記第1主表面から離れる方向に第4長さだけ凹んでいる、
請求項1に記載のスクロール圧縮機。
【請求項8】
請求項1、2及び7のいずれか1項に記載のスクロール圧縮機(101)と、
前記スクロール圧縮機で圧縮された冷媒が流れる冷媒回路(110)と、
を備える、
冷凍装置(100)。
発明の詳細な説明
【技術分野】
【0001】
スクロール圧縮機、及び冷凍装置に関する。
続きを表示(約 2,600 文字)
【背景技術】
【0002】
従来、特許文献1(特開2000-337276号公報)に開示されるように、フローティング部材により可動スクロールを固定スクロールに押し付けて、スクロールのラップの先端面から、圧縮室の冷媒が漏れることを抑制するスクロール圧縮機が知られている。
【発明の概要】
【発明が解決しようとする課題】
【0003】
特許文献1(特開2000-337276号公報)に開示されるスクロール圧縮機では、運転中に、圧縮室の冷媒の圧力によって生じる圧縮荷重が可動スクロールのラップに作用する。圧縮荷重の内、可動スクロールの進行方向とは反対方向に作用する接線方向ガス荷重により、可動スクロールは、固定スクロールに対して傾きながら旋回する。可動スクロールの傾きにより、可動スクロールとフローティング部材との間のスラスト摺動面に隙間が形成され、この隙間に潤滑油が供給される。しかし、ラップの強度を確保するために可動スクロールのラップの高さを低くすると、接線方向ガス荷重が小さくなり、旋回中の可動スクロールの傾きが小さくなる。そのため、スラスト摺動面に形成される隙間に潤滑油が入りにくくなり、スラスト軸受が損傷するおそれがある。
【課題を解決するための手段】
【0004】
第1観点のスクロール圧縮機は、圧縮機構と、フローティング部材と、ハウジングと、を備える。圧縮機構は、固定スクロールと、可動スクロールと、を有する。固定スクロールは、固定側鏡板と、固定側ラップと、を有する。可動スクロールは、可動側鏡板と、可動側ラップと、を有する。フローティング部材は、背圧空間の圧力によって可動スクロールに向かって押されて、可動スクロールを固定スクロールに向かって押し付ける。ハウジングは、フローティング部材を支持し、フローティング部材との間に背圧空間を形成する。固定側ラップは、外周側の端部である第1点から、内周側の端部である第2点まで渦巻状に延びる。固定側ラップは、固定側鏡板の第1主表面から、所定の第1寸法を有して第1方向に沿って延びる。可動側ラップは、外周側の端部である第3点から、内周側の端部である第4点まで渦巻状に延びる。可動側ラップは、第1主表面と対向する、可動側鏡板の第2主表面から、所定の第2寸法を有して第1方向に沿って延びる。固定側ラップは、第1領域と、第2領域と、を有する。第1領域は、第1点から、可動スクロールの旋回中に第3点と接する第5点までの領域である。第2領域は、第5点から、第2点までの領域である。可動側ラップは、第3領域と、第4領域と、を有する。第3領域は、第3点から、可動スクロールの旋回中に第1点と接する第6点までの領域である。第4領域は、第6点から、第4点までの領域である。第1領域における第1寸法は、第2領域における第1寸法よりも、第1長さだけ短い。第3領域における第2寸法は、第4領域における第2寸法よりも、第2長さだけ短い。
【0005】
第1観点のスクロール圧縮機では、旋回中の可動スクロールの傾きを抑制させる作用を有するモーメントが低減され、旋回中の可動スクロールの傾きの過度の低減が抑制される。これにより、可動スクロールとフローティング部材との間に潤滑油が十分に供給されない問題の発生が抑制される。
【0006】
第2観点のスクロール圧縮機は、圧縮機構と、フローティング部材と、ハウジングと、を備える。圧縮機構は、固定スクロールと、可動スクロールと、を有する。固定スクロールは、固定側鏡板と、固定側ラップと、を有する。可動スクロールは、可動側鏡板と、可動側ラップと、を有する。フローティング部材は、背圧空間の圧力によって可動スクロールに向かって押されて、可動スクロールを固定スクロールに向かって押し付ける。ハウジングは、フローティング部材を支持し、フローティング部材との間に背圧空間を形成する。固定側ラップは、外周側の端部である第1点から、内周側の端部である第2点まで渦巻状に延びる。固定側ラップは、固定側鏡板の第1主表面から、所定の第1寸法を有して第1方向に沿って延びる。可動側ラップは、外周側の端部である第3点から、内周側の端部である第4点まで渦巻状に延びる。可動側ラップは、第1主表面と対向する、可動側鏡板の第2主表面から、所定の第2寸法を有して第1方向に沿って延びる。固定側ラップは、第1領域と、第2領域と、を有する。第1領域は、第1点から、可動スクロールの旋回中に第3点と接する第5点までの領域である。第2領域は、第5点から、第2点までの領域である。可動側ラップは、第3領域と、第4領域と、を有する。第3領域は、第3点から、可動スクロールの旋回中に第1点と接する第6点までの領域である。第4領域は、第6点から、第4点までの領域である。第3領域の先端面と対向する第1主表面は、第4領域の先端面と対向する第1主表面よりも、第2主表面から離れる方向に第1長さだけ凹んでいる。第1領域の先端面と対向する第2主表面は、第2領域の先端面と対向する第2主表面よりも、第1主表面から離れる方向に第2長さだけ凹んでいる。
【0007】
第2観点のスクロール圧縮機では、旋回中の可動スクロールの傾きを抑制させる作用を有するモーメントが低減され、旋回中の可動スクロールの傾きの過度の低減が抑制される。これにより、可動スクロールとフローティング部材との間に潤滑油が十分に供給されない問題の発生が抑制される。
【0008】
第3観点のスクロール圧縮機は、第1観点又は第2観点のスクロール圧縮機であって、第1長さ及び第2長さの下限値は、旋回中の可動スクロールの第1方向の変位量である。
【0009】
第4観点のスクロール圧縮機は、第3観点のスクロール圧縮機であって、第1長さ及び第2長さの下限値は、第3領域における第1寸法の1000分の1以上である。
【0010】
第5観点のスクロール圧縮機は、第1乃至第4観点のいずれか1つのスクロール圧縮機であって、第1長さ及び第2長さの上限値は、可動スクロールが旋回していない時における、第1方向における、可動側ラップの先端面と、第1主表面と、の間の距離の最小値である。
(【0011】以降は省略されています)
この特許をJ-PlatPat(特許庁公式サイト)で参照する
関連特許
ダイキン工業株式会社
撥剤
9日前
ダイキン工業株式会社
冷凍装置
9日前
ダイキン工業株式会社
監視装置
9日前
ダイキン工業株式会社
空気調和装置
9日前
ダイキン工業株式会社
冷媒充填方法
9日前
ダイキン工業株式会社
空気調和装置
9日前
ダイキン工業株式会社
空気調和装置
5日前
ダイキン工業株式会社
電力変換装置
9日前
ダイキン工業株式会社
空調ゾーニング方法
10日前
ダイキン工業株式会社
インバータ制御装置
5日前
ダイキン工業株式会社
圧縮機及び冷凍装置
5日前
ダイキン工業株式会社
制御回路及び電子機器
5日前
ダイキン工業株式会社
電力変換装置及び冷凍装置
9日前
ダイキン工業株式会社
空調機のための保守システム
9日前
ダイキン工業株式会社
ノイズ抑制回路、空気調和機
9日前
ダイキン工業株式会社
ノイズ抑制回路、空気調和機
5日前
ダイキン工業株式会社
積層体の製造方法および積層体
5日前
ダイキン工業株式会社
磁気冷凍ユニット及び冷凍装置
5日前
ダイキン工業株式会社
電力変換システム、空気調和機
9日前
ダイキン工業株式会社
電力変換システム、空気調和機
9日前
ダイキン工業株式会社
部材、及び、半導体製造関連装置
5日前
ダイキン工業株式会社
圧縮機、および冷凍サイクル装置
2日前
ダイキン工業株式会社
紫外線照射装置および空気調和機
9日前
ダイキン工業株式会社
圧縮機、および冷凍サイクル装置
2日前
ダイキン工業株式会社
情報生成装置、及び、情報生成方法
5日前
ダイキン工業株式会社
磁気ユニット、圧縮機及び冷凍装置
9日前
ダイキン工業株式会社
樹脂組成物、成形体、及び、相溶化剤
9日前
ダイキン工業株式会社
ゴム部材、及び、半導体製造関連装置
5日前
ダイキン工業株式会社
ゴム部材、及び、半導体製造関連装置
5日前
ダイキン工業株式会社
半導体装置及び半導体装置の製造方法
10日前
ダイキン工業株式会社
冷凍装置、および臭気成分の供給方法
9日前
ダイキン工業株式会社
紫外線照射ユニット、及び空気調和装置
9日前
ダイキン工業株式会社
電力変換装置およびヒートポンプシステム
10日前
ダイキン工業株式会社
粒子、組成物、成形体、及び、粒子の製造方法
5日前
ダイキン工業株式会社
ロータ、回転電機、圧縮機、および、冷凍装置
9日前
ダイキン工業株式会社
連携制御装置、連携制御方法、連携制御プログラム
9日前
続きを見る
他の特許を見る