TOP
|
特許
|
意匠
|
商標
特許ウォッチ
Twitter
他の特許を見る
公開番号
2025150824
公報種別
公開特許公報(A)
公開日
2025-10-09
出願番号
2024051946
出願日
2024-03-27
発明の名称
電力変換装置およびヒートポンプシステム
出願人
ダイキン工業株式会社
代理人
個人
主分類
H02M
7/48 20070101AFI20251002BHJP(電力の発電,変換,配電)
要約
【課題】インバータ装置の受給電流最大値と無関係に電力変換装置から配電線に電流を供給させる場合に比べて、配電設備および/または配電線の容量に適した電流を電力変換装置から供給させる。
【解決手段】電力変換装置は、配電設備から配電線を介して電力を受給するインバータ装置の受電点に接続される電力変換装置であって、受電点に高調波電流を供給し、配電線を介して配電設備に基本波無効電流を供給する供給回路と、供給回路により供給される電流を制御する制御部と、を備え、制御部は、インバータ装置の受給電流を取得し、インバータ装置の受給電流最大値と、インバータ装置の受給電流と、により設定される第1の電流制限値を用いて基本波無効電流を制限する。
【選択図】図2
特許請求の範囲
【請求項1】
配電設備から配電線を介して電力を受給するインバータ装置の受電点に接続される電力変換装置であって、
前記受電点に高調波電流を供給し、前記配電線を介して前記配電設備に基本波無効電流を供給する供給回路と、
前記供給回路により供給される電流を制御する制御部と、
を備え、
前記制御部は、
前記インバータ装置の受給電流を取得し、
前記インバータ装置の受給電流最大値と、前記インバータ装置の受給電流と、により設定される第1の電流制限値を用いて前記基本波無効電流を制限する、
電力変換装置。
続きを表示(約 880 文字)
【請求項2】
前記制御部は、
前記インバータ装置の受給電流の基本波電流を取得し、当該基本波電流の変化又は変化量に応じて前記第1の電流制限値を変動させる、
請求項1に記載の電力変換装置。
【請求項3】
前記制御部は、
前記インバータ装置、または当該インバータ装置が駆動する負荷が搭載された機器が電力を受給する能力に関する能力情報を取得し、
取得した前記能力情報から前記受給電流最大値を決定する、
請求項1または2に記載の電力変換装置。
【請求項4】
前記制御部は、
前記電力変換装置の供給電流最大値と前記受電点に供給する前記高調波電流とにより設定される第2の電流制限値と、前記第1の電流制限値と、のうちの小さい方を用いて前記基本波無効電流を制限する、
請求項1または2に記載の電力変換装置。
【請求項5】
前記制御部は、
前記供給電流最大値を、前記インバータ装置の受給電流の変化又は変化量に応じて変動させる、
請求項4に記載の電力変換装置。
【請求項6】
前記供給回路は複数のスイッチング素子を有し、
前記スイッチング素子はワイドバンドギャップ半導体素子を含む、
請求項1または2に記載の電力変換装置。
【請求項7】
前記電力変換装置は、前記インバータ装置を用いて生成された電力が供給される圧縮機を備えるヒートポンプシステム内に設けられている、
請求項1または2に記載の電力変換装置。
【請求項8】
複数の前記インバータ装置の受電点に接続され、
前記第1の電流制限値は、複数の前記インバータ装置を合わせた受給電流最大値と、複数の当該インバータ装置を合わせた受給電流と、により設定される、
請求項1または2に記載の電力変換装置。
【請求項9】
請求項1または2に記載の電力変換装置と、前記インバータ装置と、を備えたヒートポンプシステム。
発明の詳細な説明
【技術分野】
【0001】
本開示は、電力変換装置およびヒートポンプシステムに関する。
続きを表示(約 4,100 文字)
【背景技術】
【0002】
特許文献1には、分電盤を介して電力供給を受ける電力変換装置に接続されるアクティブフィルタ装置において、電力変換装置の受電経路に出力が接続され、電力変換装置の高調波電流の低減及び基本波力率の改善の少なくとも一方を行うための第1補償分の電流を生成可能な電流源と、電力変換装置の受電経路に流れる電流を検出する第1検出部と、分電盤の受電経路に流れる電流を検出する第2検出部と、第1検出部で検出された検出値に基づいて第1補償分の電流を算出し、第2検出部で検出された検出値に基づいて分電盤の受電経路における高調波電流の低減及び基本波力率の改善の少なくとも一方を行うための第2補償分を算出し、第2補償分の電流と、第1補償分の電流とを重畳した電流を電流源において生成させる制御器と、を備えたアクティブフィルタ装置が開示されている。
【先行技術文献】
【特許文献】
【0003】
特開2018-057201号公報
【発明の概要】
【発明が解決しようとする課題】
【0004】
配電設備から配電線を介して電力を受給するインバータ装置の受電点に接続される電力変換装置が配電線を介して配電設備に補償電流を供給する場合がある。例えば、インバータ装置の受給電流最大値が小さい場合に、電力変換装置が供給電流最大値まで電流を供給すると、配電設備および/または配電線に容量以上の電力が供給されることがある。
本開示は、インバータ装置の受給電流最大値と無関係に電力変換装置から配電線に電流を供給させる場合に比べて、配電設備および/または配電線の容量に適した電流を電力変換装置から供給させることを目的とする。
【課題を解決するための手段】
【0005】
本開示の電力変換装置は、配電設備から配電線を介して電力を受給するインバータ装置の受電点に接続される電力変換装置であって、前記受電点に高調波電流を供給し、前記配電線を介して前記配電設備に基本波無効電流を供給する供給回路と、前記供給回路により供給される電流を制御する制御部と、を備え、前記制御部は、前記インバータ装置の受給電流を取得し、前記インバータ装置の受給電流最大値と、前記インバータ装置の受給電流と、により設定される第1の電流制限値を用いて前記基本波無効電流を制限する。この場合、インバータ装置の受給電流最大値と無関係に電力変換装置から配電線に電流を供給させる場合に比べて、配電設備および/または配電線の容量に適した電流を電力変換装置から供給させることができる。
ここで、前記制御部は、前記インバータ装置の受給電流の基本波電流を取得し、当該基本波電流の変化又は変化量に応じて前記第1の電流制限値を変動させる。この場合、受給電流から第1の電流制限値を決定する場合に比べて、より多くの基本波電流を電力変換装置から供給することができる。
また、前記制御部は、前記インバータ装置、または当該インバータ装置が駆動する負荷が搭載された機器が電力を受給する能力に関する能力情報を取得し、取得した前記能力情報から前記受給電流最大値を決定する。この場合、機器が電力を受給する能力に関する能力情報に応じて第1の電流制限値を決定しない場合に比べて、配電設備および/または配電線の容量に適した電流を電力変換装置から供給することができる。
また、前記制御部は、前記電力変換装置の供給電流最大値と前記受電点に供給する前記高調波電流とにより設定される第2の電流制限値と、前記第1の電流制限値と、のうちの小さい方を用いて前記基本波無効電流を制限する。この場合、電力変換装置の供給能力を超えた電力供給を抑制することができる。
また、前記制御部は、前記供給電流最大値を、前記インバータ装置の受給電流の変化又は変化量に応じて変動させる。この場合、供給電流最大値を変動させない場合に比べて、スイッチング素子の損失の増加および温度上昇を抑制することができる。
また、前記供給回路は複数のスイッチング素子を有し、前記スイッチング素子はワイドバンドギャップ半導体素子を含む。この場合、複数のスイッチング素子にワイドバンドギャップ半導体を採用しない場合に比べて、スイッチング素子の損失を抑制できる。
また、前記電力変換装置は、前記インバータ装置を用いて生成された電力が供給される圧縮機を備えるヒートポンプシステム内に設けられている。この場合、ヒートポンプシステムにおいて、インバータ装置の受給電流最大値と無関係に電力変換装置から配電線に電流を供給させる場合に比べて、配電設備および/または配電線の容量に適した電流を電力変換装置から供給させることができる。
また、本開示の電力変換装置は、複数の前記インバータ装置の受電点に接続され、前記第1の電流制限値は、複数の前記インバータ装置を合わせた受給電流最大値と、複数の当該インバータ装置を合わせた受給電流と、により設定される。この場合、機器に搭載させるインバータ装置が複数台の場合でも、インバータ装置の受給電流最大値と無関係に電力変換装置から配電線に電流を供給させる場合に比べて、配電設備および/または配電線の容量に適した電流を電力変換装置から供給させることができる。
また、本開示のヒートポンプシステムは、請求項1または2に記載の電力変換装置と、前記インバータ装置と、を備える。この場合、インバータ装置の受給電流最大値と無関係に電力変換装置から配電線に電流を供給させる場合に比べて、配電設備および/または配電線の容量に適した電流を電力変換装置から供給させることができる。
【図面の簡単な説明】
【0006】
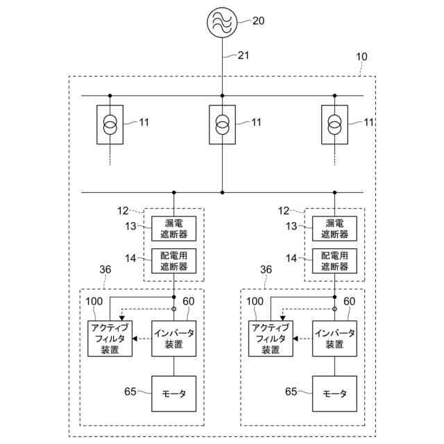
本実施の形態に係るアクティブフィルタ装置が用いられる需要家施設の構成例を示す図である。
本実施の形態に係る空気調和装置の構成例を示す図である。
本実施の形態に係る基本波無効電流指令生成部の構成例を示す図である。
本実施の形態に係るアクティブフィルタ装置を備える空気調和装置の消費電力と第一電流制限値、第二電流制限値との関係例を示す図である。
アクティブフィルタ装置が、2つのインバータ装置の受電点に接続される場合における空気調和装置の構成例を示す図である。
(a)はアクティブフィルタ装置を備える空気調和装置の消費電力とアクティブフィルタ装置が供給する補償電流との関係の一例を示す図であり、(b)はアクティブフィルタ装置を備える空気調和装置の消費電力とアクティブフィルタ装置のスイッチング素子の損失との関係の一例を示す図である。
変形例に係るアクティブフィルタ装置の基本波無効電流指令生成部の構成例を示す図である。
変形例に係る負荷電流と供給電流最大値との関係を示す図である。
(a)は変形例に係るアクティブフィルタ装置を備える空気調和装置の消費電力とアクティブフィルタ装置が供給する補償電流との関係を示す図であり、(b)は変形例に係るアクティブフィルタ装置を備える空気調和装置の消費電力とアクティブフィルタ装置のスイッチング素子の損失との関係を示す図である。
【発明を実施するための形態】
【0007】
以下、添付図面を参照して、実施の形態について詳細に説明する。
<需要家施設の構成>
図1は、本実施の形態に係るアクティブフィルタ装置100が用いられる需要家施設10の構成例を示す図である。図1では、需要家施設10に設置された空気調和装置36がアクティブフィルタ装置100を備える場合を示している。アクティブフィルタ装置100は、電力変換装置の一例である。また、空気調和装置36は、ヒートポンプシステムの一例である。
なお、アクティブフィルタ装置100は空気調和装置36に組み込まれず、空気調和装置36の外部に備えられてもよい。
【0008】
需要家施設10は、例えばビル、工場、マンション等である。需要家施設10には、電源20から配電線21を介して電力が供給されている。ここでは、電源20と配電線21とをまとめて配電系統と表記する。配電線21は、配電線インピーダンス22(図2参照)を有している。電源20は、例えば、三相の交流電源(商用電源)である。電源20は配電設備の一例である。
【0009】
需要家施設10は、配電用変圧器11と、分電盤12と、空気調和装置36とを備える。空気調和装置36は、電源20から配電線21を介して電力が供給される電気機器(以下では、機器と表記する。)の一例である。配電用変圧器11は、電源20から受電した電圧を変換して分電盤12へ送る。配電用変圧器11としては、例えば、6600Vの電圧を200Vに変換する変圧器や、6600Vの電圧を100Vに変換する変圧器等が挙げられる。
分電盤12は、配電用変圧器11から受電した電気を機器へと送る。分電盤12は、漏電遮断器13と配電用遮断器14とを備える。漏電遮断器13は、漏電を検出した際に回路を遮断することで感電を防止する。配電用遮断器14は、配電線に異常な電流が流れた際に回路を遮断し、配電線、機器等を保護する。配電用変圧器11、分電盤12は配電設備の一例である。
【0010】
空気調和装置36は、冷媒が循環して冷凍サイクル運転動作を行う冷媒回路(不図示)を備え、ビル等において室内の冷房や暖房を行う。空気調和装置の冷媒回路は、冷媒を圧縮する圧縮機を備える。空気調和装置36は、インバータ装置60とモータ65とアクティブフィルタ装置100とを備える。
(【0011】以降は省略されています)
この特許をJ-PlatPat(特許庁公式サイト)で参照する
関連特許
ダイキン工業株式会社
撥剤
2日前
ダイキン工業株式会社
冷凍装置
5日前
ダイキン工業株式会社
流体機械
4日前
ダイキン工業株式会社
監視装置
2日前
ダイキン工業株式会社
冷凍装置
2日前
ダイキン工業株式会社
冷媒充填方法
2日前
ダイキン工業株式会社
空気調和装置
2日前
ダイキン工業株式会社
空気調和装置
2日前
ダイキン工業株式会社
電力変換装置
2日前
ダイキン工業株式会社
空調ゾーニング方法
3日前
ダイキン工業株式会社
熱源ユニット及び冷凍装置
5日前
ダイキン工業株式会社
電力変換装置及び冷凍装置
2日前
ダイキン工業株式会社
ノイズ抑制回路、空気調和機
2日前
ダイキン工業株式会社
空調機のための保守システム
2日前
ダイキン工業株式会社
電力変換システム、空気調和機
2日前
ダイキン工業株式会社
電力変換システム、空気調和機
2日前
ダイキン工業株式会社
紫外線照射装置および空気調和機
2日前
ダイキン工業株式会社
磁気ユニット、圧縮機及び冷凍装置
2日前
ダイキン工業株式会社
樹脂組成物、成形体、及び、相溶化剤
2日前
ダイキン工業株式会社
冷凍装置、および臭気成分の供給方法
2日前
ダイキン工業株式会社
半導体装置及び半導体装置の製造方法
3日前
ダイキン工業株式会社
ベッド構造、及びベッド構造の製造方法
4日前
ダイキン工業株式会社
紫外線照射ユニット、及び空気調和装置
2日前
ダイキン工業株式会社
電力変換装置およびヒートポンプシステム
3日前
ダイキン工業株式会社
ロータ、回転電機、圧縮機、および、冷凍装置
2日前
ダイキン工業株式会社
半導体装置、電力変換装置、及び空気調和装置
4日前
ダイキン工業株式会社
連携制御装置、連携制御方法、連携制御プログラム
2日前
ダイキン工業株式会社
正極合剤用結着剤、正極合剤、正極および二次電池
2日前
ダイキン工業株式会社
電力変換装置及びそれを有するヒートポンプシステム
3日前
ダイキン工業株式会社
監視装置、監視システム、監視方法、監視プログラム
2日前
ダイキン工業株式会社
冷媒放出ユニット、冷凍サイクル装置及び冷媒放出方法
2日前
ダイキン工業株式会社
リモートコントローラ、リモートコントローラの製造方法
3日前
ダイキン工業株式会社
発電システムの制御装置、発電システム、水力発電システム
4日前
ダイキン工業株式会社
冷媒放出ユニット、冷凍サイクル装置、および冷媒放出方法
2日前
ダイキン工業株式会社
発泡成形用樹脂組成物、発泡成形体及び発泡成形体の製造方法
3日前
ダイキン工業株式会社
電子デバイス、電子機器、電子機器システム、空調システム及び空調装置
3日前
続きを見る
他の特許を見る