TOP
|
特許
|
意匠
|
商標
特許ウォッチ
Twitter
他の特許を見る
公開番号
2025151410
公報種別
公開特許公報(A)
公開日
2025-10-09
出願番号
2024052814
出願日
2024-03-28
発明の名称
リモートコントローラ、リモートコントローラの製造方法
出願人
ダイキン工業株式会社
代理人
個人
,
個人
主分類
H04Q
9/00 20060101AFI20251002BHJP(電気通信技術)
要約
【課題】本開示は、組立て時の作業性向上と分解時の損傷の抑制が可能なリモートコントローラ、及び、リモートコントローラの製造方法を提供する。
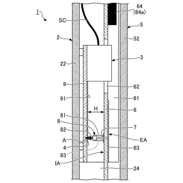
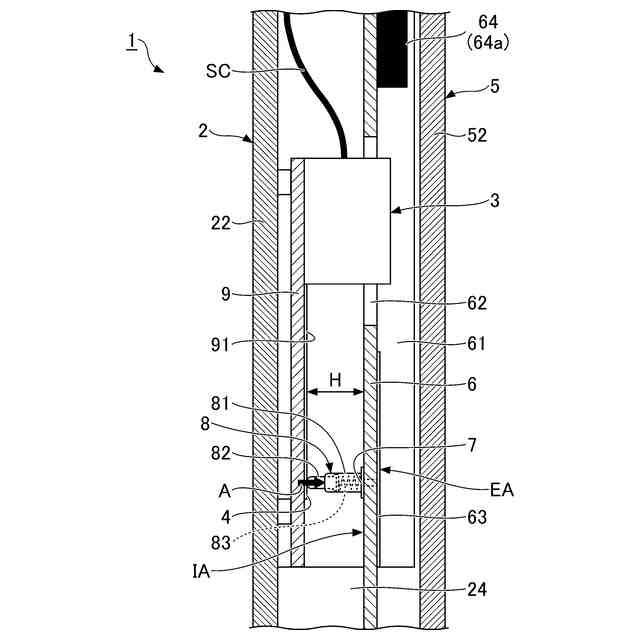
【解決手段】リモートコントローラ(1)は、背面カバー(2)に設けられた端子台(3)及び給電端子(4)と、背面カバー(2)に取り付けられる正面カバー(5)と、正面カバー(5)に設けられた回路基板(6)と、回路基板(6)に設けられた受電端子(7)と、通電部材(8)と、を備える。端子台(3)は、電源に接続され、給電端子(4)は、端子台(3)と離隔して端子台(3)に接続される。通電部材(8)は、背面カバー(2)から正面カバー(5)を取り外した状態で給電端子(4)又は受電端子(7)に配置され、背面カバー(2)に正面カバー(5)を取り付けた状態で給電端子(4)及び受電端子(7)に接触して弾性変形する。
【選択図】図3
特許請求の範囲
【請求項1】
背面カバー(2)と、
前記背面カバー(2)に設けられて電源に接続される端子台(3)と、
前記端子台(3)と離隔して前記背面カバー(2)に設けられ、前記端子台(3)に接続された給電端子(4)と、
前記背面カバー(2)に取り付けられる正面カバー(5)と、
前記正面カバー(5)に設けられた回路基板(6)と、
前記回路基板(6)に設けられた受電端子(7)と、
前記背面カバー(2)から前記正面カバー(5)を取り外した状態で前記給電端子(4)又は前記受電端子(7)に配置され、前記背面カバー(2)に前記正面カバー(5)を取り付けた状態で前記給電端子(4)及び前記受電端子(7)に接触して弾性変形する通電部材(8)と、を備える、
リモートコントローラ(1)。
続きを表示(約 980 文字)
【請求項2】
前記背面カバー(2)に設けられた電源基板(9)をさらに備え、
前記端子台(3)及び前記給電端子(4)は、前記電源基板(9)に設けられている、
請求項1に記載のリモートコントローラ(1)。
【請求項3】
前記背面カバー(2)に前記正面カバー(5)を取り付けた状態で、前記回路基板(6)と前記電源基板(9)の一部又は全体が対向する、
請求項2に記載のリモートコントローラ(1)。
【請求項4】
前記回路基板(6)は、一方の面に前記受電端子(7)が設けられた受電領域(IA)を有し、前記一方の面とは反対側の面の前記受電領域(IA)に対応する位置に電子部品(64)が実装されない除外領域(EA)を有している、
請求項1から請求項3のいずれか一項に記載のリモートコントローラ(1)。
【請求項5】
前記端子台(3)は、前記背面カバー(2)に前記正面カバー(5)を取り付けた状態で、前記回路基板(6)に対向しない位置に配置されている、
請求項1から請求項3のいずれか一項に記載のリモートコントローラ(1)。
【請求項6】
前記通電部材(8)は、前記給電端子(4)及び前記受電端子(7)に接触して弾性変形した状態で、前記回路基板(6)に垂直な方向の高さ(H)が10mm以下である、
請求項1から請求項3のいずれか一項に記載のリモートコントローラ(1)。
【請求項7】
前記通電部材(8)は、ばね(83)を含む、
請求項1から請求項3のいずれか一項に記載のリモートコントローラ(1)。
【請求項8】
背面カバー(2)に設けられた端子台(3)を電源に接続する工程(P1)と、
前記端子台(3)から離隔して前記背面カバー(2)に設けられて前記端子台(3)に接続された給電端子(4)、又は、正面カバー(5)に設けられた回路基板(6)の受電端子(7)に、通電部材(8)が配置された状態で、前記背面カバー(2)に前記正面カバー(5)を取り付けることで、前記通電部材(8)を前記給電端子(4)及び前記受電端子(7)に接触させて弾性変形させる工程(P2)と、を含む、
リモートコントローラの製造方法(PM)。
発明の詳細な説明
【技術分野】
【0001】
本開示は、リモートコントローラ、及び、リモートコントローラの製造方法に関する。
続きを表示(約 1,600 文字)
【背景技術】
【0002】
従来からリモートコントローラ(以下、「リモコン」と表記する場合がある。)のカバーの取り外し構造が知られている(例えば、特許文献1を参照)。特許文献1に記載された壁取付け用リモコンは、壁に固定される基台部と、基台部に着脱自在に装着され、後面が開口した箱状に形成されて基台部の前面を覆うカバーとを備えている。
【0003】
上記カバーの底面には挿入口が貫通形成されている。上記基台部の前面下部には、基台部の前面から前方に延出する支柱部と、支柱部の端部から下方に向かった後に後方に延出するフック部とを有するバネフックが設けられている。フック部の後方延出部分の下面には、挿入口に係合するフック突起が形成されている。
【0004】
上記挿入口から挿入された工具によって上記フック突起が押圧されることにより、上記フック部が上方に撓んでフック突起と挿入口との係合状態が外れる。また、上記カバーの底面における挿入口の後方側に挿入口の位置を示す突起が形成されている。このように、カバーの底面に設けた挿入口から押圧部材を挿入してフック突起を押圧するだけでフック突起と挿入口との係合状態を外すことができ、カバーを基台部から取り外すことができる。
【先行技術文献】
【特許文献】
【0005】
特開2016-034154号公報
【発明の概要】
【発明が解決しようとする課題】
【0006】
上記特許文献1に記載された壁取付け用リモコンは、電源に電気的に接続された端子台が基台部に配置され、カバーの前面に固定された回路基板が電源コードを介して端子台に接続されている。そのため、作業者は、カバーを基台部に取り付ける際に、片方の手でカバーを保持して、反対側の手で端子台と回路基板とを電源コードで接続する必要があり、作業性が悪い。また、基台部に配置された端子台とカバーに固定された回路基板とが電源コードによって接続されているため、作業者が基台部からカバーを取り外す際に、電源コード等に損傷が発生するおそれがある。
【0007】
本開示は、組立て時の作業性向上と分解時の損傷の抑制が可能なリモートコントローラ、及び、リモートコントローラの製造方法を提供する。
【課題を解決するための手段】
【0008】
本開示の一つの態様は、背面カバー(2)と、前記背面カバー(2)に設けられて電源に接続される端子台(3)と、前記端子台(3)と離隔して前記背面カバー(2)に設けられ、前記端子台(3)に接続された給電端子(4)と、前記背面カバー(2)に取り付けられる正面カバー(5)と、前記正面カバー(5)に設けられた回路基板(6)と、前記回路基板(6)に設けられた受電端子(7)と、前記背面カバー(2)から前記正面カバー(5)を取り外した状態で前記給電端子(4)又は前記受電端子(7)に配置され、前記背面カバー(2)に前記正面カバー(5)を取り付けた状態で前記給電端子(4)及び前記受電端子(7)に接触して弾性変形する通電部材(8)と、を備える、リモートコントローラ(1)を提供する。
【0009】
上記の態様によれば、組立て時の作業性向上と分解時の損傷の抑制が可能なリモートコントローラ(1)を提供することができる。
【0010】
上記の態様のリモートコントローラ(1)は、前記背面カバー(2)に設けられた電源基板(9)をさらに備え、前記端子台(3)及び前記給電端子(4)は、前記電源基板(9)に設けられていてもよい。この構成により、背面カバー(2)に電源基板(9)を取り付けることで、背面カバー(2)に端子台(3)及び給電端子(4)を取り付けることができ、リモートコントローラ(1)の組立て時の作業性を向上させることができる。
(【0011】以降は省略されています)
この特許をJ-PlatPat(特許庁公式サイト)で参照する
関連特許
ダイキン工業株式会社
撥剤
1日前
ダイキン工業株式会社
冷凍装置
4日前
ダイキン工業株式会社
流体機械
3日前
ダイキン工業株式会社
監視装置
1日前
ダイキン工業株式会社
冷凍装置
1日前
ダイキン工業株式会社
空気調和装置
1日前
ダイキン工業株式会社
空気調和装置
1日前
ダイキン工業株式会社
電力変換装置
1日前
ダイキン工業株式会社
冷媒充填方法
1日前
ダイキン工業株式会社
固体冷凍装置
8日前
ダイキン工業株式会社
空気調和装置
8日前
ダイキン工業株式会社
空調ゾーニング方法
2日前
ダイキン工業株式会社
熱交換器及び冷凍装置
10日前
ダイキン工業株式会社
電力変換装置及び冷凍装置
1日前
ダイキン工業株式会社
熱源ユニット及び冷凍装置
4日前
ダイキン工業株式会社
ノイズ抑制回路、空気調和機
1日前
ダイキン工業株式会社
空調機のための保守システム
1日前
ダイキン工業株式会社
電力変換システム、空気調和機
1日前
ダイキン工業株式会社
電力変換システム、空気調和機
1日前
ダイキン工業株式会社
スクロール圧縮機、及び冷凍装置
8日前
ダイキン工業株式会社
紫外線照射装置および空気調和機
1日前
ダイキン工業株式会社
磁気ユニット、圧縮機及び冷凍装置
1日前
ダイキン工業株式会社
半導体装置及び半導体装置の製造方法
2日前
ダイキン工業株式会社
冷凍装置、および臭気成分の供給方法
1日前
ダイキン工業株式会社
樹脂組成物、成形体、及び、相溶化剤
1日前
ダイキン工業株式会社
ベッド構造、及びベッド構造の製造方法
3日前
ダイキン工業株式会社
紫外線照射ユニット、及び空気調和装置
1日前
ダイキン工業株式会社
電力変換装置およびヒートポンプシステム
2日前
ダイキン工業株式会社
半導体装置、電力変換装置、及び空気調和装置
3日前
ダイキン工業株式会社
ロータ、回転電機、圧縮機、および、冷凍装置
1日前
ダイキン工業株式会社
連携制御装置、連携制御方法、連携制御プログラム
1日前
ダイキン工業株式会社
正極合剤用結着剤、正極合剤、正極および二次電池
1日前
ダイキン工業株式会社
電力変換装置及びそれを有するヒートポンプシステム
2日前
ダイキン工業株式会社
監視装置、監視システム、監視方法、監視プログラム
1日前
ダイキン工業株式会社
冷媒放出ユニット、冷凍サイクル装置及び冷媒放出方法
1日前
ダイキン工業株式会社
リモートコントローラ、リモートコントローラの製造方法
2日前
続きを見る
他の特許を見る