TOP
|
特許
|
意匠
|
商標
特許ウォッチ
Twitter
他の特許を見る
10個以上の画像は省略されています。
公開番号
2025147900
公報種別
公開特許公報(A)
公開日
2025-10-07
出願番号
2024048402
出願日
2024-03-25
発明の名称
熱源ユニット及び冷凍装置
出願人
ダイキン工業株式会社
代理人
弁理士法人前田特許事務所
主分類
F25D
11/00 20060101AFI20250930BHJP(冷凍または冷却;加熱と冷凍との組み合わせシステム;ヒートポンプシステム;氷の製造または貯蔵;気体の液化または固体化)
要約
【課題】
店舗の営業時間外における冷凍装置の省エネルギー化を実現する。
【解決手段】冷媒回路(11)に接続される第1利用熱交換器(54)を有するショーケース(50)を備えた冷凍装置(1)を構成する熱源ユニットであって、冷媒回路(11)に接続される圧縮要素(21,22,23)、第1減圧機構(14)及び熱源熱交換器(13)と、ショーケース(50)を有する店舗の営業状況を検知する検知部(90)と、冷凍装置(1)の運転を制御する制御部(C1)とを備え、制御部(C1)は、前記店舗が営業時間外であることが検知されると前記冷凍装置(1)の運転を制限する第1運転を実行する。
【選択図】図7
特許請求の範囲
【請求項1】
冷媒回路(11)に接続される第1利用熱交換器(54)を有するショーケース(50)を備えた冷凍装置(1)を構成する熱源ユニットであって、
前記冷媒回路(11)に接続される圧縮要素(21,22,23)、第1減圧機構(14)及び熱源熱交換器(13)と、
前記ショーケース(50)を有する店舗の営業状況を検知する検知部(90)と、
前記冷凍装置(1)の運転を制御する制御部(C1)とを備え、
前記制御部(C1,C3)は、前記店舗が営業時間外であることが検知されると前記冷凍装置(1)の運転を制限する第1運転を実行する
熱源ユニット。
続きを表示(約 1,100 文字)
【請求項2】
前記第1運転は、前記冷凍装置(1)のサーモオフの継続時間が、前記店舗の営業時間中のサーモオフの継続時間よりも長くなる運転である
請求項1に記載の熱源ユニット。
【請求項3】
前記制御部(C1,C3)は、第1運転において前記冷凍装置(1)のサーモオフが終了する第1温度が、前記店舗の営業時間中の前記第1温度よりも高くなるように設定する
請求項1に記載の熱源ユニット。
【請求項4】
前記第1運転において、前記制御部(C1,C3)は、前記第1利用熱交換器(54)における冷媒の目標蒸発温度を、前記店舗の営業時間中の該第1利用熱交換器(54)における冷媒の目標蒸発温度よりも高く設定する
請求項1に記載の熱源ユニット。
【請求項5】
前記第1運転は、前記圧縮要素(21,22,23)の運転周波数の上昇速度が、前記店舗の営業時間中の前記圧縮要素(21,22,23)の運転周波数の上昇速度よりも低くなる運転である
請求項1に記載の熱源ユニット。
【請求項6】
前記制御部(C1,C3)は、前記店舗(T)の営業開始が検知されたとき、前記第1運転を実行しないようにする
請求項1に記載の熱源ユニット。
【請求項7】
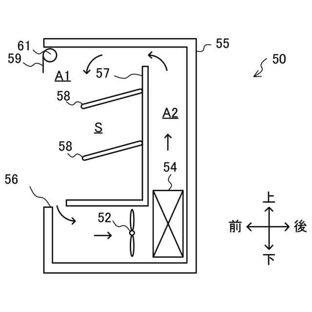
前記検知部(90)は、前記ショーケース(50)内の空気温度の変化を抑制する第1部材(59)が、前記ショーケース(50)に取り付けられたことを検知し、
前記制御部(C1,C3)は、前記第1部材(59)が前記ショーケース(50)に取り付けられたことが検知された場合、前記店舗(T)が営業時間外であることが検知されたことを判定する
請求項1に記載の熱源ユニット。
【請求項8】
前記冷凍装置(1)は、複数の前記ショーケース(50)を有し、
前記制御部(C1,C3)は、複数の前記ショーケース(50)のうち対象となる前記ショーケース(50)に対して前記第1運転を実行する
請求項1に記載の熱源ユニット。
【請求項9】
請求項1または2に記載の前記熱源ユニット(10)と前記ショーケース(50)とを備えた冷凍装置。
【請求項10】
前記ショーケース(50)には、透明パネル(70)と該透明パネル(70)に発生する曇りを抑制する加熱部(75)とが設けられ、
前記制御部(C1,C3)は、前記第1運転において前記加熱部(75)の運転を制限する
請求項9に記載の冷凍装置。
(【請求項11】以降は省略されています)
発明の詳細な説明
【技術分野】
【0001】
本開示は、熱源ユニット及び冷凍装置に関するものである。
続きを表示(約 1,400 文字)
【背景技術】
【0002】
食料品店などの店舗では、冷凍装置によってショーケース内の食品や飲料品は冷蔵または冷凍されている。特許文献1には、ショーケースの冷却負荷に応じて冷凍装置の能力を制御する制御方法が開示されている。
【先行技術文献】
【特許文献】
【0003】
特開2018-4146号公報
【発明の概要】
【発明が解決しようとする課題】
【0004】
ところで、ショーケース内の食品や飲料品を冷蔵または冷凍し続けるために、冷凍装置を24時間稼働する必要がある。しかし、店舗の営業時間外は客が来店しないにも関わらずショーケース内を営業中と同等の負荷で冷却し続けると消費電力を抑えることができない。
【0005】
本開示の目的は、店舗の営業時間外における冷凍装置の省エネルギー化を実現することにある。
【課題を解決するための手段】
【0006】
第1の態様は、
冷媒回路(11)に接続される第1利用熱交換器(54)を有するショーケース(50)を備えた冷凍装置(1)を構成する熱源ユニットであって、
前記冷媒回路(11)に接続される圧縮要素(21,22,23)、第1減圧機構(14)及び熱源熱交換器(13)と、
前記ショーケース(50)を有する店舗の営業状況を検知する検知部(90)と、
前記冷凍装置(1)の運転を制御する制御部(C1)とを備え、
前記制御部(C1,C3)は、前記店舗が営業時間外であることが検知されると前記冷凍装置(1)の運転を制限する第1運転を実行する。
【0007】
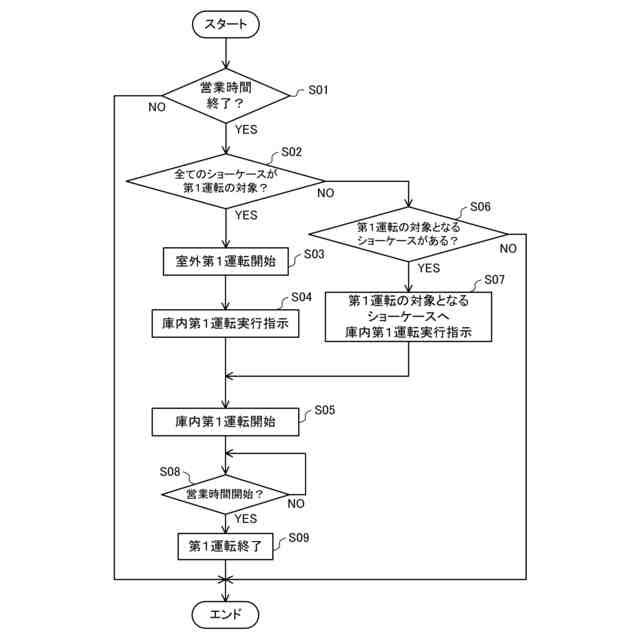
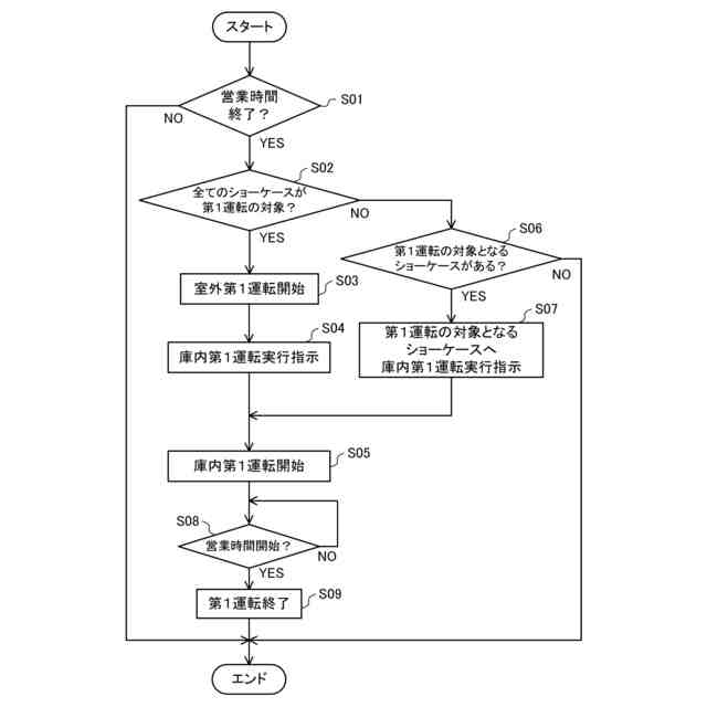
第1の態様では、第1運転により営業時間外の間は冷凍装置(1)の運転が抑えられ、省エネルギー化を実現できる。特に、常温で保存できる食料品または飲料品は営業時間外の間は冷蔵保存する必要がないため、第1運転により冷凍装置(1)の省エネルギー化に貢献できる。
【0008】
第2の態様は、第1の態様において、
前記第1運転は、前記冷凍装置(1)のサーモオフの継続時間が、前記店舗の営業時間中サーモオフの継続時間よりも長くなる運転である。
【0009】
第2の態様は、営業時間外の間は圧縮要素(21,22,23)の運転が制限されるサーモオフの継続時間が営業時間中よりも長くなるため、冷凍装置(1)の省エネルギー化を実現できる。特に、冷蔵または冷凍が不要な商品に対して第1運転が実行される。サーモオフの待機時間が長くなると、ショーケース(50)の庫内温度は上昇しやすくなるが、冷蔵または冷凍が不要な商品に対して影響しないからである。
【0010】
第3の態様は、第1または第2の態様において、
前記制御部(C1,C3)は、第1運転において前記冷凍装置(1)のサーモオフが終了する第1温度が、前記店舗の営業時間中の前記第1温度よりも高くなるように設定する
第3の態様では、営業時間中よりも営業時間外では、サーモオフからサーモオンに切り換わる温度を高く設定することで、圧縮要素(21,22,23)の運転が制限される時間を長くすることができる。
(【0011】以降は省略されています)
この特許をJ-PlatPat(特許庁公式サイト)で参照する
関連特許
株式会社ゼロカラ
冷凍装置
2日前
株式会社ゼロカラ
冷凍装置
2日前
アクア株式会社
冷却ボックス装置
7日前
アクア株式会社
冷却ボックス装置
7日前
パナソニックIPマネジメント株式会社
冷蔵庫
7日前
パナソニックIPマネジメント株式会社
冷蔵庫
7日前
JFEエンジニアリング株式会社
二酸化炭素固化システム
7日前
東芝ライフスタイル株式会社
冷蔵庫
16日前
ダイキン工業株式会社
冷凍装置
15日前
ダイキン工業株式会社
冷凍装置
15日前
ダイキン工業株式会社
冷凍装置
15日前
ダイキン工業株式会社
冷凍装置
15日前
株式会社デンソー
ヒートポンプサイクル装置
16日前
日立グローバルライフソリューションズ株式会社
冷蔵庫
7日前
株式会社豊田中央研究所
吸着器の製造方法および吸着器
7日前
ダイキン工業株式会社
冷凍装置
15日前
ダイキン工業株式会社
冷凍装置
15日前
ダイキン工業株式会社
吸着器及び冷凍装置
15日前
三菱電機株式会社
空気調和装置
7日前
三星電子株式会社
冷蔵庫
16日前
ルーマス テクノロジー エルエルシー
多重還流流炭化水素回収法
17日前
エイエルアイ グループ ソチエタ ア レスポンサビリタ リミタータ カルピジャーニ
熱力学システムおよび当該システムを備えた機械
8日前
エイエルアイ グループ ソチエタ ア レスポンサビリタ リミタータ カルピジャーニ
熱力学システムおよび当該システムを備えた機械
8日前
スタリクラ ソシエテ アノニム
ASDに対する治療
9日前
他の特許を見る