TOP
|
特許
|
意匠
|
商標
特許ウォッチ
Twitter
他の特許を見る
10個以上の画像は省略されています。
公開番号
2025151738
公報種別
公開特許公報(A)
公開日
2025-10-09
出願番号
2024053303
出願日
2024-03-28
発明の名称
コネクタ実装基板
出願人
キヤノン株式会社
代理人
個人
,
個人
,
個人
,
個人
,
個人
主分類
H05K
1/11 20060101AFI20251002BHJP(他に分類されない電気技術)
要約
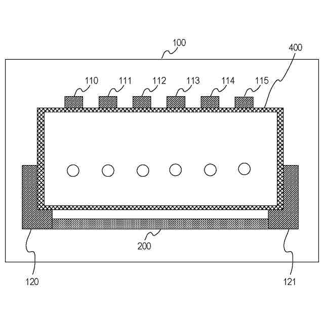
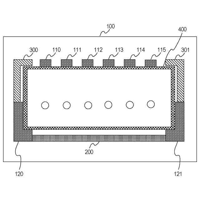
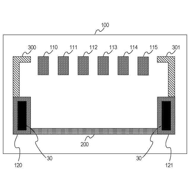
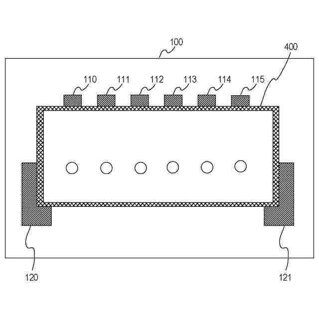
【課題】 補強端子を接続するランドは、それぞれコネクタの両端に配置されているため、半田を盛ることでは接続することができない。そのため三点を同時に温める必要があり、リサイクル作業を行うことが難しかった。
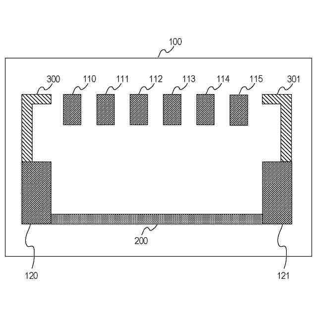
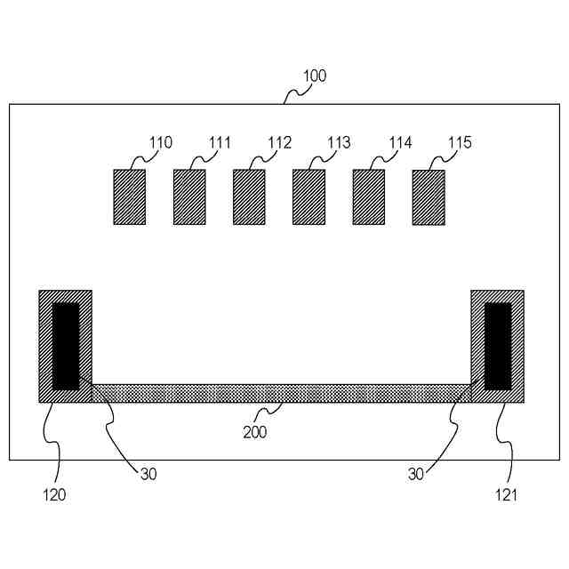
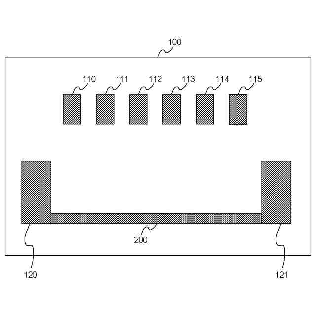
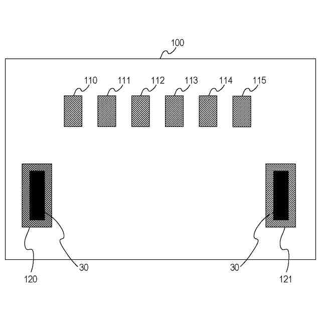
【解決手段】 本発明は、部材を固定する少なくとも2つの補強端子と電気的な通信を実行できる接続端子とを有するコネクタを接続できるコネクタ実装基板であって、前記コネクタ実装基板は、前記コネクタの両端に対応する位置に配された前記2つの補強端子に接続でき且つ電気通信しない第1ランド部と第2ランド部を有し、且つ、前記コネクタの前記接続端子と接続できる第3ランド部と、前記第1ランド部と前記第2ランド部を接続するための第4ランド部と、を有することを特徴とする。
【選択図】 図4
特許請求の範囲
【請求項1】
部材を固定する少なくとも2つの補強端子と電気的な通信を実行できる接続端子とを有するコネクタを接続できるコネクタ実装基板であって、
前記コネクタ実装基板は、前記コネクタの両端に対応する位置に配された前記2つの補強端子に接続でき且つ電気通信しない第1ランド部と第2ランド部を有し、且つ、前記コネクタの前記接続端子と接続できる第3ランド部と、前記第1ランド部と前記第2ランド部を接続するための第4ランド部と、を有することを特徴とするコネクタ実装基板。
続きを表示(約 750 文字)
【請求項2】
前記第4ランド部は、電気通信しないランド部であることを特徴とする請求項1に記載のコネクタ実装基板。
【請求項3】
前記第1ランド部と前記第2ランド部と前記第4ランド部は、溶融したはんだが流れ込むことが可能な構成で接続されていることを特徴とする請求項1に記載のコネクタ実装基板。
【請求項4】
前記第1ランド部と前記第2ランド部と前記第4ランド部が、前記溶融したはんだで接続された状態において、前記第1ランド部と前記第2ランド部と前記第4ランド部のいずれかのランド部を温めることによって、前記第1ランド部と前記第2ランド部と前記第4ランド部のすべてを温めることが可能であることを特徴とする請求項3に記載のコネクタ実装基板。
【請求項5】
前記接続端子と補強端子を有するコネクタが表面実装型のコネクタであることも含める請求項1に記載のコネクタ実装基板。
【請求項6】
前記接続端子と補強端子を有するコネクタと前記電気通信しない前記第1ランド部および前記第2ランド部は半田を介して接続されることも含める請求項1乃至5のいずれか1項に記載のコネクタ実装基板。
【請求項7】
前記第1ランド部および前記第2ランド部および前記第3ランド部および前記第4ランド部は、銅箔によって構成され、ソルダーレジストによって囲まれていることを特徴とする請求項1に記載のコネクタ実装基板。
【請求項8】
前記接続端子には、信号ラインが接続されることを特徴とする請求項1に記載のコネクタ実装基板。
【請求項9】
前記補強端子には、信号ラインが接続されないことを特徴とする請求項1に記載のコネクタ実装基板。
発明の詳細な説明
【技術分野】
【0001】
本発明は、コネクタ実装基板に関する。
続きを表示(約 1,800 文字)
【背景技術】
【0002】
世界ではカーボンニュートラル(以下 CN)目標を表明する国・地域が急増し、そのGDP総計は世界全体の90%を占める。不安定化する化石エネルギーへの過度の依存は、安保・経済両面で国家レベルのリスクに直結し、グリーントランスフォーメーション(以下 GX)実現に向けた投資競争を更に加速させている。GXとは、化石燃料中心の産業構造・社会経済を太陽光や水素など自然環境に負荷の少ないクリーンエネルギー中心へ切り替える産業・エネルギー政策の大転換を指す。GXによる温室効果ガスの削減、CNに向けた取り組みやルール作りは、欧州がリードしている。例えば日本ではCO2排出量削減と経済の成長・発展の両立を目指して業界ごとのGXの取り組みも進んでおり、欧米の規制対応に向けて2050年までにCO2排出量2000年比9割削減を目指している。このように今後、世界では、脱炭素と経済成長の同時実現、その先のCN達成が期待されている。
【0003】
GXに対応するために基板設計では、従来よりもさらなる省エネルギーな設計や持続可能なシステム構築が求められている。例えば、基板に搭載されている部品を容易に取り外し可能にする事でリユース・リサイクル可能な仕組みを用意する事ができ、部品を循環して使用可能な構造を構築できる。
【0004】
この基板設計に関して光ピックアップ装置等には、プリント基板やフレキシブル基板等の配線基板に表面実装型のコネクタが実装されたコネクタ実装基板が用いられる場合がある。この表面実装型のコネクタは、配線基板のランド部と電気的に接続される接続端子の他に、このコネクタが配線基板に実装された際にコネクタと配線基板との接合強度を確保するための補強端子を有している。
【0005】
そして、コネクタ実装基板は、接続端子及び補強端子が配線基板のランド部に半田付け等をされることよってコネクタが実装された配線基板である。
【0006】
先行文献1には、配線基板上の隣り合わない配線同士またはコネクタの隣り合わない接続端子同士を電気的に接続する場合に、ジャンパー接続する場合がある。その場合にはジャンパーを配線基板のランド部に実装する工程が必要となり、工程数の増加による生産性の悪化や配線パターンの高密度化に対して不利となるため改善が望まれる。その改善として配線基板に第一のランド部と第一のランド部と間隙を有して配置された第二のランド部と間隙に延在する配線パターンを設けて、接続端子及び補強端子は配線パターンを跨いで、第一のランド部と第二のランド部とを電気的に接続している。
【先行技術文献】
【特許文献】
【0007】
特開2007―227743号公報
【発明の概要】
【発明が解決しようとする課題】
【0008】
配線基板上の多ピンの表面実装部品を剥がす際は専用の工具が必要である。手はんだで剥がす際には全ての独立したランドを同時に温める必要があり、その作業は困難である。
【0009】
例えば、ロック(補強端子)付きコネクタの場合、信号ラインのピンがあるランドと、補強端子の一方のランドと他方のランドの3つのランドがある。従来の作業では、信号ラインのピンがあるランドは半田を盛ることで複数ピンを接続可能である。しかし、補強端子を接続するランドは、それぞれコネクタの両端に配置されているため、半田を盛ることでは接続することができない。そのため三点を同時に温める必要があり、リサイクル作業を行うことが難しかった。
【課題を解決するための手段】
【0010】
本発明は、部材を固定する少なくとも2つの補強端子と電気的な通信を実行できる接続端子とを有するコネクタを接続できるコネクタ実装基板であって、
前記コネクタ実装基板は、前記コネクタの両端に対応する位置に配された前記2つの補強端子に接続でき且つ電気通信しない第1ランド部と第2ランド部を有し、且つ、前記コネクタの前記接続端子と接続できる第3ランド部と、前記第1ランド部と前記第2ランド部を接続するための第4ランド部と、を有することを特徴とする。
【発明の効果】
(【0011】以降は省略されています)
この特許をJ-PlatPat(特許庁公式サイト)で参照する
関連特許
キヤノン株式会社
トナー
4日前
キヤノン株式会社
トナー
9日前
キヤノン株式会社
トナー
4日前
キヤノン株式会社
トナー
4日前
キヤノン株式会社
電子機器
11日前
キヤノン株式会社
撮像装置
5日前
キヤノン株式会社
撮影装置
2日前
キヤノン株式会社
記録装置
2日前
キヤノン株式会社
記録装置
9日前
キヤノン株式会社
発光装置
16日前
キヤノン株式会社
撮像装置
9日前
キヤノン株式会社
表示装置
16日前
キヤノン株式会社
定着装置
3日前
キヤノン株式会社
収容装置
17日前
キヤノン株式会社
電子機器
13日前
キヤノン株式会社
定着装置
17日前
キヤノン株式会社
定着装置
23日前
キヤノン株式会社
現像容器
2日前
キヤノン株式会社
電子機器
17日前
キヤノン株式会社
現像装置
2日前
キヤノン株式会社
電子機器
17日前
キヤノン株式会社
撮像装置
17日前
キヤノン株式会社
現像装置
2日前
キヤノン株式会社
現像容器
2日前
キヤノン株式会社
光学センサ
4日前
キヤノン株式会社
現像剤容器
10日前
キヤノン株式会社
モジュール
4日前
キヤノン株式会社
半導体装置
11日前
キヤノン株式会社
画像形成装置
10日前
キヤノン株式会社
画像形成装置
3日前
キヤノン株式会社
表示システム
10日前
キヤノン株式会社
画像処理装置
10日前
キヤノン株式会社
画像形成装置
11日前
キヤノン株式会社
画像形成装置
10日前
キヤノン株式会社
画像形成装置
5日前
キヤノン株式会社
画像形成装置
10日前
続きを見る
他の特許を見る