TOP
|
特許
|
意匠
|
商標
特許ウォッチ
Twitter
他の特許を見る
10個以上の画像は省略されています。
公開番号
2025150187
公報種別
公開特許公報(A)
公開日
2025-10-09
出願番号
2024050945
出願日
2024-03-27
発明の名称
情報処理システム、情報処理方法およびプログラム
出願人
キヤノン株式会社
代理人
個人
,
個人
,
個人
,
個人
,
個人
主分類
G16H
50/20 20180101AFI20251002BHJP(特定の用途分野に特に適合した情報通信技術)
要約
【課題】 本発明によれば、ユーザによる確認の手間を軽減しながら、文章生成モデルによるレポート作成の支援を行うことができる情報処理システム、情報処理方法およびプログラムを提供することを目的とする。
【解決手段】 本発明に記載の情報処理システムは、文章生成モデルへ入力する入力情報を取得する入力情報の取得部と、入力情報を前記文章生成モデルへ入力した結果である出力情報を取得する出力情報の取得部と、入力情報と出力情報との比較により、出力情報のうちユーザの確認を推奨する箇所を特定する特定部と、出力情報と、ユーザの確認を推奨する箇所と、を対応付けて表示部に表示させる表示制御部と、を有する。
【選択図】 図1
特許請求の範囲
【請求項1】
文章生成モデルへ入力する入力情報を取得する入力情報の取得部と、
前記入力情報を前記文章生成モデルへ入力した結果である出力情報を取得する出力情報の取得部と、
前記入力情報と前記出力情報との比較により、前記出力情報のうちユーザの確認を推奨する箇所を特定する特定部と、
前記出力情報と、前記ユーザの確認を推奨する箇所と、を対応付けて表示部に表示させる表示制御部と、
を有することを特徴とする情報処理システム。
続きを表示(約 1,000 文字)
【請求項2】
文章生成モデルへ入力する入力情報と、前記文章生成モデルが新たに作成した情報を、前記入力情報と識別可能に出力させるための制約条件とを取得する入力情報の取得部と、
前記入力情報を前記文章生成モデルへ入力した結果である出力情報を取得する出力情報の取得部と、
前記出力情報のうちユーザの確認を推奨する箇所を特定する特定部と、
前記出力情報と、前記ユーザの確認を推奨する箇所と、を対応付けて表示部に表示させる表示制御部と、
を有することを特徴とする情報処理システム。
【請求項3】
前記入力情報の取得部は、前記入力情報として、文章を含む情報を取得することを特徴とする請求項1または2に記載の情報処理システム。
【請求項4】
前記入力情報の取得部は、前記文章生成モデルへ入力する制約条件を含む入力情報を取得することを特徴とする請求項1に記載の情報処理システム。
【請求項5】
前記特定部は、前記入力情報と前記出力情報とを、前記文章生成モデルまたは該文章生成モデルとは異なる言語モデルへ入力することによって、比較処理を実施させることを特徴とする請求項1に記載の情報処理システム。
【請求項6】
前記特定部は、前記比較処理によって前記入力情報と前記出力情報の意味的な相違が大きいと判定された箇所を、前記ユーザの確認を推奨する箇所として特定することを特徴とする請求項5に記載の情報処理システム。
【請求項7】
前記表示制御部は、前記出力情報と入力情報の生成主体とを対応付けて表示させることを特徴とする請求項1または2に記載の情報処理システム。
【請求項8】
前記ユーザの確認を推奨する箇所に対するユーザによる入力に基づいて、前記文章生成モデルの追加学習を行う学習部をさらに備えることを特徴とする請求項1または2に記載の情報処理システム。
【請求項9】
前記特定部は、ユーザの確認を推奨する箇所に対するユーザによる入力に基づいて、前記ユーザの確認を推奨する箇所を特定するための基準を更新することを特徴とする請求項1に記載の情報処理システム。
【請求項10】
前記入力情報が被検体に対する診断レポートであることを特徴とする請求項1または2に記載の情報処理システム。
(【請求項11】以降は省略されています)
発明の詳細な説明
【技術分野】
【0001】
本明細書の開示は、情報処理システム、情報処理方法およびプログラムに関する。
続きを表示(約 1,700 文字)
【背景技術】
【0002】
昨今、人工知能を用いて文章を生成するモデルである文章生成モデルにより生成された文章を様々な用途で活用することが検討されている。
【0003】
非特許文献1には、文章生成モデルであるGPT(Generative Pre-trained Transformer)を用いて、要約や、校正、文章生成などの文章に関するタスクを高精度に実施することができる対話型インターフェースであるChatGPTが開示されている。
【先行技術文献】
【非特許文献】
【0004】
OpenAI,“GPT-4 Technical Report,”arXiv:2303.08774v3,2023.
【発明の概要】
【発明が解決しようとする課題】
【0005】
ChatGPT等の文章生成モデルは、テキスト等での入力情報に対して、多数の文章等からなる出力を行うことが知られている。しかしながら文章生成モデルからの出力情報には、幻覚(hallucination)による誤り等を含む可能性があり、出力情報を確認する必要があるが、出力情報の全体を確認するのは手間がかかる。
【課題を解決するための手段】
【0006】
上記課題を解決するため、本発明に係る情報処理システムは、文章生成モデルへ入力する入力情報を取得する入力情報の取得部と、入力情報を前記文章生成モデルへ入力した結果である出力情報を取得する出力情報の取得部と、入力情報と出力情報との比較により、出力情報のうちユーザの確認を推奨する箇所を特定する特定部と、出力情報と、ユーザの確認を推奨する箇所と、を対応付けて表示部に表示させる表示制御部と、
を有することを特徴とする。
【発明の効果】
【0007】
本発明では、ユーザによる確認の手間を軽減しながら、文章生成モデルによるレポート作成の支援を行うことができる。
【図面の簡単な説明】
【0008】
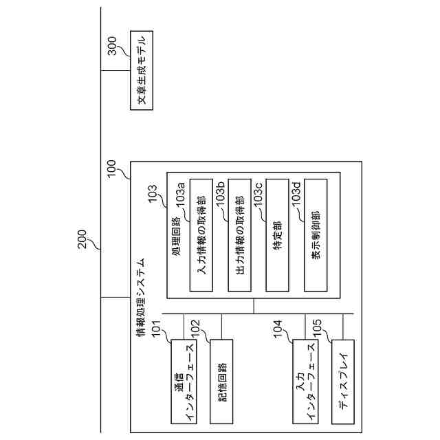
第一の実施形態に係る情報処理システムの機能構成の一例を示す図である。
第一の実施形態に係る情報処理システムによる処理の一例の流れを示すフローチャートである。
第一の実施形態に係るユーザにより入力された診断レポートの一例を示す図である。
第一の実施形態に係る医用画像(胸部X線画像)の一例を示す図である。
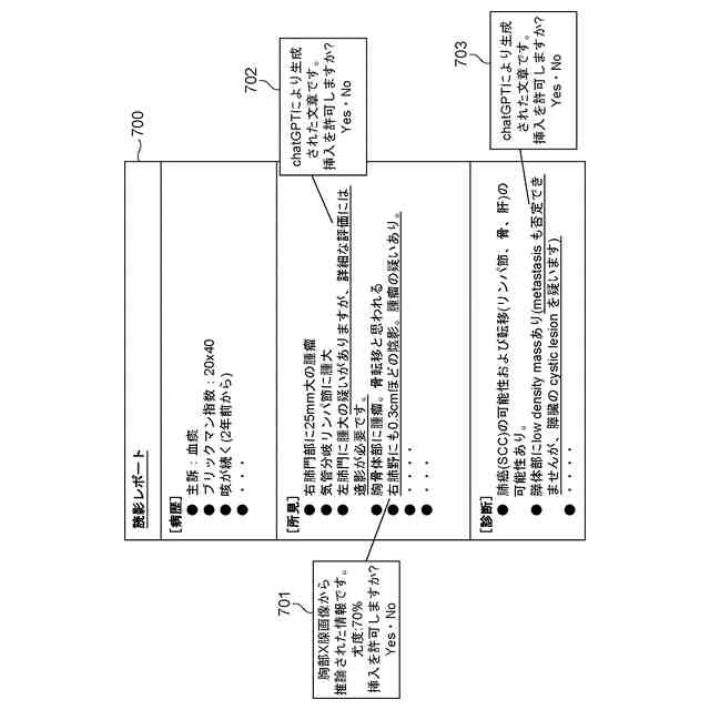
第一の実施形態に係る出力された診断レポートの一例を示す図である。
第一の実施形態に係る出力された診断レポートと確認推奨する箇所を対応付けた表示の一例を示す図である。
第二の実施形態に係る情報処理システムによる処理の一例の流れを示すフローチャートである。
第二の実施形態に係る出力された診断レポートの一例を示す図である。
第二の実施形態に係る出力された診断レポートと確認推奨する箇所を対応付けた表示の一例を示す図である。
【発明を実施するための形態】
【0009】
以下、図面を参照して本発明の実施形態を説明する。図面を参照しながら、情報処理システムの各実施形態及び各変形例について詳細に説明する。なお、実施形態は、内容に矛盾が生じない範囲で従来技術、他の実施形態又は変形例との組み合わせが可能である。同様に、変形例は、内容に矛盾が生じない範囲で従来技術、実施形態又は他の変形例との組み合わせが可能である。また、以下の説明において、同様の構成要素には共通の符号を付与するとともに、重複する説明を省略する場合がある。また情報処理システムの構成は、後述の実施形態に限定されるものでなく、各部を有する複数の情報処理装置から構成されても、複数の部を有する少数の情報処理装置から構成されてもよい。
【0010】
[第一の実施形態]
図1は、第1の実施形態に係る情報処理システム100の構成の一例を示す図である。
(【0011】以降は省略されています)
この特許をJ-PlatPat(特許庁公式サイト)で参照する
関連特許
キヤノン株式会社
トナー
3日前
キヤノン株式会社
トナー
3日前
キヤノン株式会社
トナー
3日前
キヤノン株式会社
トナー
8日前
キヤノン株式会社
電子機器
10日前
キヤノン株式会社
定着装置
22日前
キヤノン株式会社
撮像装置
16日前
キヤノン株式会社
電子機器
16日前
キヤノン株式会社
電子機器
16日前
キヤノン株式会社
撮像装置
4日前
キヤノン株式会社
電子機器
12日前
キヤノン株式会社
定着装置
16日前
キヤノン株式会社
収容装置
16日前
キヤノン株式会社
記録装置
8日前
キヤノン株式会社
撮影装置
1日前
キヤノン株式会社
撮像装置
8日前
キヤノン株式会社
表示装置
15日前
キヤノン株式会社
発光装置
15日前
キヤノン株式会社
定着装置
2日前
キヤノン株式会社
撮像装置
22日前
キヤノン株式会社
現像容器
1日前
キヤノン株式会社
撮像装置
23日前
キヤノン株式会社
記録装置
1日前
キヤノン株式会社
記録装置
24日前
キヤノン株式会社
定着装置
1か月前
キヤノン株式会社
電子機器
24日前
キヤノン株式会社
現像装置
1日前
キヤノン株式会社
現像容器
1日前
キヤノン株式会社
記録装置
23日前
キヤノン株式会社
撮像装置
24日前
キヤノン株式会社
定着装置
1か月前
キヤノン株式会社
現像装置
1日前
キヤノン株式会社
定着装置
1か月前
キヤノン株式会社
光学センサ
3日前
キヤノン株式会社
半導体装置
10日前
キヤノン株式会社
現像剤容器
9日前
続きを見る
他の特許を見る