TOP
|
特許
|
意匠
|
商標
特許ウォッチ
Twitter
他の特許を見る
10個以上の画像は省略されています。
公開番号
2025149757
公報種別
公開特許公報(A)
公開日
2025-10-08
出願番号
2024050584
出願日
2024-03-26
発明の名称
加工装置、および封止部材
出願人
キヤノン株式会社
代理人
個人
,
個人
,
個人
,
個人
,
個人
主分類
B23Q
11/08 20060101AFI20251001BHJP(工作機械;他に分類されない金属加工)
要約
【課題】 加工装置の加工に伴い、ワーク及び加工手段が移動することで、ベローズ構造のカバーに過剰な負荷が掛かり、カバーを破損する恐れがあった。
【解決手段】 被加工物を加工する第1手段と、前記被加工物を固定する第2手段と、前記第1手段と前記第2手段と前記被加工物を覆うカバーと、を備えて構成される加工装置において、前記カバーは、筒状で可撓性を有し、前記カバーの一方の開口は、他の構造物に固定する接続部を有し、前記第1手段と第2手段とが第1方向に相対的に移動することに連動して、前記接続部が回動することを特徴とする加工装置。
【選択図】 図8
特許請求の範囲
【請求項1】
被加工物を加工する第1手段と、前記被加工物を固定する第2手段と、前記第1手段と前記第2手段と前記被加工物を覆うカバーと、を備えて構成される加工装置において、
前記カバーは、筒状で可撓性を有し、前記カバーの一方の開口は、他の構造物に固定する接続部を有し、前記第1手段と第2手段とが第1方向に相対的に移動することに連動して、前記接続部が回動することを特徴とする加工装置。
続きを表示(約 560 文字)
【請求項2】
前記第1方向は、第1手段と第2手段とを結ぶ方向とは交差する方向で、前記接続部の回動軸は、前記第1方向とは非平行であることを特徴とする請求項1記載の加工装置。
【請求項3】
前記第1方向と前記回動軸は、略直交であることを特徴とする請求項2記載の加工装置。
【請求項4】
前記カバーはベローズ構造であることを特徴とする請求項1記載の加工装置。
【請求項5】
前記接続部は、前記第1手段に固定されていることを特徴とする請求項1記載の加工装置。
【請求項6】
前記接続部に前記接続部と固定する側を封止するシール部材を備えることを特徴とする請求項1記載の加工装置。
【請求項7】
可撓性を有する筒状の封止部材であって、一方の開口が第1方向に移動する装置を覆うように接続可能となっており、他方の開口が前記装置の移動に連動して回動するように他の構造物に接続可能となっていることを特徴とする封止部材。
【請求項8】
前記封止部材はベローズ構造のカバーと、前記カバーの一方の開口部と接続する開口部と、前記第1方向の移動に連動して回動するための円形の開口部を有する、接続部からなることを特徴とする請求項7記載の封止部材。
発明の詳細な説明
【技術分野】
【0001】
本発明は、カバーを備えた加工装置、および封止部材に関するものである。
続きを表示(約 1,600 文字)
【背景技術】
【0002】
従来、加工装置において、加工による切粉が駆動軸に付着することにより装置の破損に繋がる為に、駆動軸をジャバラのようなカバーで覆うことが一般的である。特許文献1には、加工手段の移動に追従して変形する筒状ジャバラカバーが開示されている。
【先行技術文献】
【特許文献】
【0003】
特開2017-1158号公報
【発明の概要】
【発明が解決しようとする課題】
【0004】
しかしながら、特許文献1では、装置の加工手段の移動にともなって、カバーが伸縮する方向と異なる方向に負荷が掛かる場合、カバーに過剰な負荷が掛かり、カバーを破損させたり、加工手段の移動を鈍くする恐れがあった。本発明は、上記課題を鑑みなされたものであり、カバーの破損を低減し、加工装置を長寿命化することを目的としている。
【課題を解決するための手段】
【0005】
本発明の加工装置は、被加工物を加工する第1手段と、前記被加工物を固定する第2手段と、前記第1手段と前記第2手段と前記被加工物を覆うカバーと、を備えて構成される加工装置において、前記カバーは、筒状で可撓性を有し、前記カバーの一方の開口は、他の構造物に固定する接続部を有し、前記第1手段と第2手段とが第1方向に相対的に移動することに連動して、前記接続部が回動することを特徴とする。
【発明の効果】
【0006】
本発明によれば、カバーの破損を低減し、加工装置を長寿命化することが可能となる。
【図面の簡単な説明】
【0007】
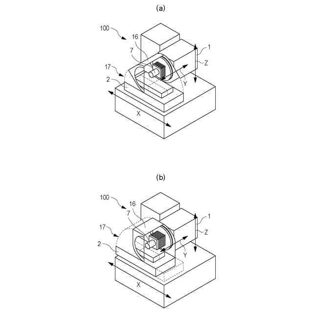
実施例1の加工装置。
実施例2の加工装置。
実施例2の接続部の内部を示す図。
シール部材の構造を示す図。
計測器の実施例。
ベローズカバーの構造図。
ベローズカバーの動作図。
加工装置の概略図。
被加工物を交換する際の動作図。
駒が円筒形状のジャバラカバー構成図。
接続部の回動軸と第2手段の移動軸の位置関係を示す図。
接続部の回動軸と第1手段の移動軸の位置関係を示す図。
実施例3加工装置。
【発明を実施するための形態】
【0008】
以下、この発明の実施の形態について図面に基づいて説明する。
【0009】
尚、以下の実施形態は特許請求の範囲に係る発明を限定するものではない。実施形態には複数の特徴が記載されているが、これらの複数の特徴の全てが発明に必須のものとは限らず、また、複数の特徴は任意に組み合わせられてもよい。さらに、添付図面においては、同一若しくは同様の構成に同一の参照番号を付し、重複した説明は省略する。
【0010】
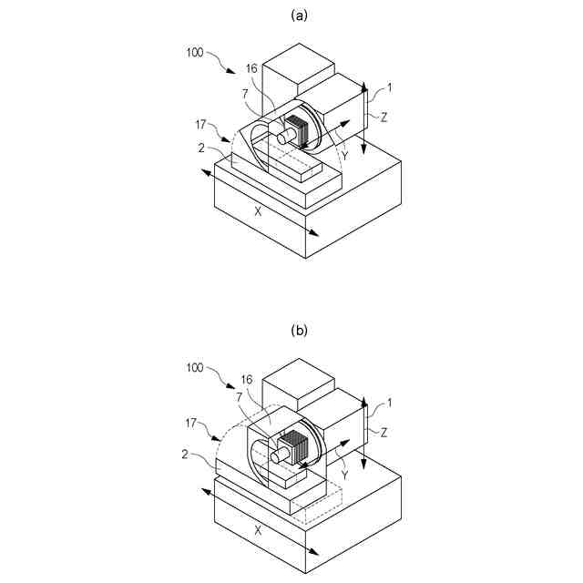
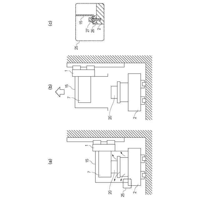
図1は、本発明の実施例1の加工装置の正面図(a)と側面図(b)です。上下方向に往復運動する第1手段1と、水平方向に往復運動する第2手段2があり、第1手段の移動軸36と交差し、且つ、第2手段の移動軸33とも交差する回動軸32を持つ接続部3が構造物40に取り付けられている。構造物40は部屋の壁や加工装置を覆う壁等でもよいが、加工装置付近で接続部3を固定できればよい。接続部3には、円形の開口部があり、構造物40に設けられた軸38を挿入することで、接続部3は回動可能となっている。接続部3の底面には、開口があり、第1手段1と第2手段2と被加工物9を覆うように、カバー4が取り付けられている。カバー4の開口の一方は接続部3に接続され、他方の開口は、第2手段に接続されている。被加工物を加工する第1手段1には、加工物8を取り付けるための工具取付部7が接続されている。被加工物9を固定する第2手段2と第1手段1及び工具取付部7を移動させることで被加工物9を加工する。
(【0011】以降は省略されています)
この特許をJ-PlatPat(特許庁公式サイト)で参照する
関連特許
キヤノン株式会社
トナー
今日
キヤノン株式会社
トナー
5日前
キヤノン株式会社
トナー
今日
キヤノン株式会社
トナー
今日
キヤノン株式会社
定着装置
19日前
キヤノン株式会社
電子機器
13日前
キヤノン株式会社
電子機器
7日前
キヤノン株式会社
定着装置
13日前
キヤノン株式会社
撮像装置
19日前
キヤノン株式会社
記録装置
20日前
キヤノン株式会社
撮像装置
20日前
キヤノン株式会社
収容装置
13日前
キヤノン株式会社
記録装置
21日前
キヤノン株式会社
電子機器
21日前
キヤノン株式会社
撮像装置
21日前
キヤノン株式会社
記録装置
5日前
キヤノン株式会社
電子機器
13日前
キヤノン株式会社
定着装置
28日前
キヤノン株式会社
定着装置
28日前
キヤノン株式会社
定着装置
28日前
キヤノン株式会社
表示装置
12日前
キヤノン株式会社
発光装置
12日前
キヤノン株式会社
電子機器
9日前
キヤノン株式会社
撮像装置
1日前
キヤノン株式会社
電子機器
28日前
キヤノン株式会社
撮像装置
5日前
キヤノン株式会社
撮像装置
13日前
キヤノン株式会社
半導体装置
7日前
キヤノン株式会社
光学センサ
今日
キヤノン株式会社
現像剤容器
6日前
キヤノン株式会社
モジュール
今日
キヤノン株式会社
表示システム
6日前
キヤノン株式会社
吐出素子基板
5日前
キヤノン株式会社
画像形成装置
9日前
キヤノン株式会社
画像形成装置
9日前
キヤノン株式会社
画像形成装置
5日前
続きを見る
他の特許を見る