TOP
|
特許
|
意匠
|
商標
特許ウォッチ
Twitter
他の特許を見る
10個以上の画像は省略されています。
公開番号
2025149575
公報種別
公開特許公報(A)
公開日
2025-10-08
出願番号
2024050305
出願日
2024-03-26
発明の名称
画像読取装置及び画像形成装置
出願人
キヤノン株式会社
代理人
個人
,
個人
,
個人
,
個人
,
個人
主分類
H04N
1/00 20060101AFI20251001BHJP(電気通信技術)
要約
【課題】 流し読みガラスの破損を抑制することが可能な画像読取装置及び画像形成装置を提供する。
【解決手段】 画像読取装置101は、原稿を搬送するADF102と、原稿の画像を読み取るリーダー103と、を備える。リーダー103は、第1流し読みガラス313と、ADF102により搬送される原稿の画像を第1流し読みガラス313を介して読み取る第1読取部311と、第1読取部311を収容し、且つ、第1流し読みガラス313を支持する金属製のメインフレーム500と、を有する。第1流し読みガラス313のメインフレーム500と接触する領域には、樹脂製のガラス保護シート702、703が貼り付けられている。
【選択図】 図8
特許請求の範囲
【請求項1】
原稿が積載される原稿トレイと、前記原稿トレイに積載された原稿を搬送する搬送部と、を有する原稿搬送ユニットと、
透明部材と、前記搬送部により搬送される原稿の画像を前記透明部材を介して読み取る読取部と、前記読取部を収容し、且つ、前記透明部材を支持する金属製のフレームと、を有する画像読取ユニットと、
を備え、
前記透明部材における前記フレームと接触する領域には、樹脂製の保護シートが貼り付けられている、
ことを特徴とする画像読取装置。
続きを表示(約 800 文字)
【請求項2】
前記画像読取ユニットは、前記搬送部によって前記透明部材の上面を搬送される原稿の先端を掬い上げて前記原稿搬送ユニットの内部へ案内する案内部材を有し、
前記フレームは、前記透明部材を支持する金属製のメインフレームと、前記メインフレームに取り付けられ、前記案内部材を支持する金属製の支持部材を有し、
前記保護シートは、前記透明部材の前記メインフレーム及び前記支持部材と接触する領域に配置されている、
ことを特徴とする請求項1に記載の画像読取装置。
【請求項3】
前記メインフレームは、前記透明部材の長手方向における一端を支持する第1支持面と、前記透明部材の前記長手方向における他端を支持する第2支持面と、を有し、
前記支持部材は、前記透明部材の前記長手方向における前記一端を支持する第3支持面と、前記透明部材の前記長手方向における前記他端を支持する第4支持面と、を有し、
前記保護シートは、前記透明部材の前記第1支持面、前記第2支持面、前記第3支持面及び前記第4支持面と接触する領域に配置されている、
ことを特徴とする請求項2に記載の画像読取装置。
【請求項4】
前記保護シートは、前記透明部材の長手方向における両端部にそれぞれ配置されている、
ことを特徴とする請求項1に記載の画像読取装置。
【請求項5】
前記保護シートは、両面テープによって前記透明部材に貼り付けられている、
ことを特徴とする請求項1に記載の画像読取装置。
【請求項6】
請求項1乃至5のいずれか1項に記載の画像読取装置と、
前記読取部により読み取れられた原稿の画像情報に基づいて、記録媒体に画像を形成する画像形成部と、を備える、
ことを特徴とする画像形成装置。
発明の詳細な説明
【技術分野】
【0001】
本発明は、原稿の画像を読み取る画像読取装置及びこれを備える画像形成装置に関する。
続きを表示(約 1,600 文字)
【背景技術】
【0002】
従来、複写機、ファクシミリ装置、及びデジタル複合機等に搭載された画像読取装置は、自動原稿搬送装置(Auto Document Feeder、以下ADFと呼ぶ)によって原稿を搬送しながら、原稿の画像を読み取るものが知られている。このような画像読取装置がADFによって原稿を搬送しながら画像を読み取る場合、読取部(読取センサ)は板状の透明部材を介して原稿の画像を読み取る(特許文献1参照)。
【先行技術文献】
【特許文献】
【0003】
特開2018-207148号公報
【発明の概要】
【発明が解決しようとする課題】
【0004】
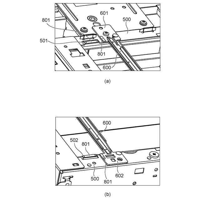
ところで、透明部材は金属製のフレームに支持されている。そのため、例えば装置が運搬される際など、装置に振動が加わった場合に透明部材とフレームが衝突して、透明部材が破損する虞があった。
【0005】
そこで、本発明は、透明部材の破損を抑制することが可能な画像読取装置及び画像形成装置を提供することを目的とする。
【課題を解決するための手段】
【0006】
上記の課題を解決するための本発明の一態様は、原稿が積載される原稿トレイと、前記原稿トレイに積載された原稿を搬送する搬送部と、を有する原稿搬送ユニットと、透明部材と、前記搬送部により搬送される原稿の画像を前記透明部材を介して読み取る読取部と、前記読取部を収容し、且つ、前記透明部材を支持する金属製のフレームと、を有する画像読取ユニットと、を備え、前記透明部材における前記フレームと接触する領域には、樹脂製の保護シートが貼り付けられている、ことを特徴とする画像読取装置である。
【発明の効果】
【0007】
本発明によれば、透明部材の破損を抑制することが可能な画像読取装置及び画像形成装置を提供することができる。
【図面の簡単な説明】
【0008】
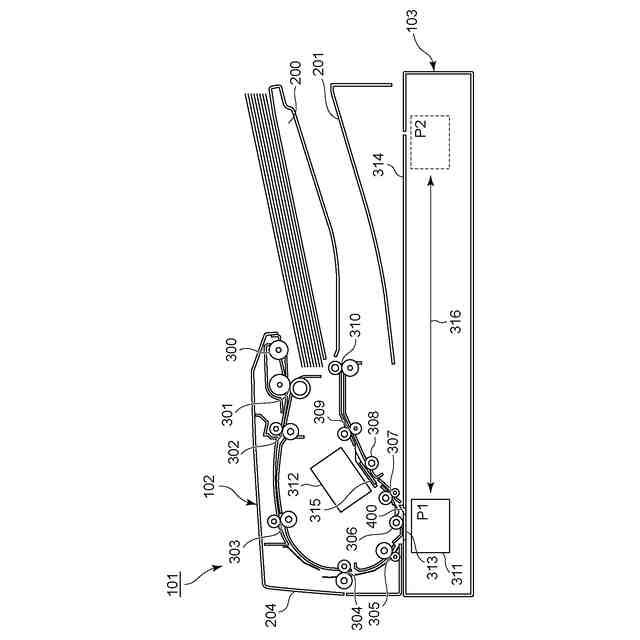
画像形成装置の概略断面図。
画像読取装置の斜視図。
画像読取装置の概略断面図。
リーダーの斜視図。
リーダーのメインフレームを示す斜視図。
リーダーのメインフレーム及び支持部材を示す斜視図。
(a)支持部材の奥側取り付け部を示す拡大図。(b)支持部材の手前側取り付け部を示す拡大図。
(a)第1流し読みガラスの上面を示す斜視図。(b)第1流し読みガラスの下面を示す斜視図。
(a)比較例に係る支持部材の奥側取り付け部を示す拡大図。(b)比較例に係る支持部材の手前側取り付け部を示す拡大図。
【発明を実施するための形態】
【0009】
以下、図面を参照しながら、本発明の実施形態について説明する。ただし、以下の実施形態は本発明を具体化した一例であって、本発明の技術的範囲を限定するものではない。
【0010】
[画像形成装置]
まず、図1を用いて、本実施形態に係る画像形成装置100について説明する。図1は画像形成装置100を正面から見たときの概略断面図である。以下、本実施形態では、ユーザーが不図示の操作部に臨む位置を装置の「手前側」と呼び、背面側を「奥側」と呼ぶ。つまり、図1は、手前側から視たときの画像形成装置100の内部構成を示したものである。図1に示すように、画像形成装置100は、画像形成装置本体104と、画像形成装置本体104の上方に設けられた画像読取装置101を備えている。画像形成装置100は、画像読取装置101が読み取った画像情報又は画像形成装置100に通信可能に接続されたパーソナルコンピュータ等のホスト機器からの画像信号に応じて、トナー像を用紙Pに形成する。記録媒体である用紙Pとしては、普通紙、プラスチックフィルム、布などのシート材が挙げられる。
(【0011】以降は省略されています)
この特許をJ-PlatPat(特許庁公式サイト)で参照する
関連特許
キヤノン株式会社
トナー
今日
キヤノン株式会社
トナー
今日
キヤノン株式会社
トナー
今日
キヤノン株式会社
トナー
5日前
キヤノン株式会社
定着装置
13日前
キヤノン株式会社
撮像装置
1日前
キヤノン株式会社
電子機器
9日前
キヤノン株式会社
発光装置
12日前
キヤノン株式会社
表示装置
12日前
キヤノン株式会社
記録装置
5日前
キヤノン株式会社
収容装置
13日前
キヤノン株式会社
電子機器
7日前
キヤノン株式会社
電子機器
13日前
キヤノン株式会社
電子機器
13日前
キヤノン株式会社
撮像装置
13日前
キヤノン株式会社
撮像装置
5日前
キヤノン株式会社
定着装置
19日前
キヤノン株式会社
光学センサ
今日
キヤノン株式会社
半導体装置
7日前
キヤノン株式会社
モジュール
今日
キヤノン株式会社
現像剤容器
6日前
キヤノン株式会社
画像形成装置
1日前
キヤノン株式会社
画像形成装置
1日前
キヤノン株式会社
画像形成装置
7日前
キヤノン株式会社
画像処理装置
6日前
キヤノン株式会社
表示システム
6日前
キヤノン株式会社
画像形成装置
6日前
キヤノン株式会社
画像形成装置
1日前
キヤノン株式会社
画像形成装置
1日前
キヤノン株式会社
画像形成装置
6日前
キヤノン株式会社
画像形成装置
1日前
キヤノン株式会社
画像形成装置
6日前
キヤノン株式会社
画像形成装置
5日前
キヤノン株式会社
画像形成装置
6日前
キヤノン株式会社
画像形成装置
5日前
キヤノン株式会社
吐出素子基板
5日前
続きを見る
他の特許を見る