TOP
|
特許
|
意匠
|
商標
特許ウォッチ
Twitter
他の特許を見る
公開番号
2025149092
公報種別
公開特許公報(A)
公開日
2025-10-08
出願番号
2024049535
出願日
2024-03-26
発明の名称
ファン装置
出願人
三菱自動車工業株式会社
代理人
個人
,
弁理士法人真田特許事務所
主分類
B60H
1/32 20060101AFI20251001BHJP(車両一般)
要約
【課題】冷却ファンを手動で停止させるスイッチが設けられた車両においてオーバーヒートを抑制する。
【解決手段】ファン装置は、車両に搭載された熱交換器40の冷却ファン3Fと、冷却ファン3Fを停止させる停止状態と、冷却ファン3Fの停止を解除する解除状態とが車両の乗員によって手動で切り替えられるスイッチ10と、熱交換器40を流通する冷媒の温度又は圧力を取得する取得部11と、取得部11によって取得された冷媒の温度又は圧力が、冷媒の冷却を促進すべき温度又は圧力の下限として予め設定された下限温度又は下限圧力以上の高状態であれば成立する強制作動条件の成否を判定する判定部21と、スイッチ10が停止状態であって判定部21によって強制作動条件の成立が判定された場合に冷却ファン3Fを強制的に作動させる強制作動制御を実施する制御部22と、を有する制御装置20とを備えている。
【選択図】図1
特許請求の範囲
【請求項1】
車両に搭載された熱交換器の冷却ファンと、
前記冷却ファンを停止させる停止状態と、前記冷却ファンの停止を解除する解除状態とが前記車両の乗員によって手動で切り替えられるスイッチと、
前記熱交換器を流通する冷媒の温度又は圧力を取得する取得部と、
前記取得部によって取得された前記冷媒の温度又は圧力が、前記冷媒の冷却を促進すべき温度又は圧力の下限として予め設定された下限温度又は下限圧力以上の高状態であれば成立するとともに前記高状態でなければ成立しない強制作動条件の成否を判定する判定部と、前記スイッチが前記停止状態であって前記判定部によって前記強制作動条件の成立が判定された場合に前記冷却ファンを強制的に作動させる強制作動制御を実施する制御部と、を有する制御装置と、を備えた
ことを特徴とする、ファン装置。
続きを表示(約 2,700 文字)
【請求項2】
前記制御部は、前記スイッチが前記停止状態であって前記強制作動条件の不成立が判定された場合に前記冷却ファンを強制的に停止させる操作優先制御を実施する
ことを特徴とする、請求項1に記載のファン装置。
【請求項3】
前記判定部は、前記スイッチが前記停止状態に操作されてから前記冷却ファンを停止させるまでの猶予期間として予め設定された所定時間が経過すれば成立するとともに前記所定時間が経過していなければ成立しない作動開始条件の成否を判定し、
前記制御部は、前記スイッチが前記停止状態であって前記判定部によって前記作動開始条件の不成立が判定された場合に前記冷却ファンを強制的に停止させる操作優先制御を実施する
ことを特徴とする、請求項1に記載のファン装置。
【請求項4】
前記判定部は、前記スイッチが前記停止状態に操作されてから前記冷却ファンを停止させるまでの猶予期間として予め設定された所定時間が経過すれば成立するとともに前記所定時間が経過していなければ成立しない作動開始条件の成否を判定し、
前記制御部は、前記判定部によって前記作動開始条件及び前記強制作動条件の成立が共に判定された場合に前記強制作動制御を実施する
ことを特徴とする、請求項1に記載のファン装置。
【請求項5】
前記冷却ファンは、複数の前記熱交換器のそれぞれに設けられ、
前記判定部は、前記強制作動条件の成立を判定した場合には、前記冷媒の状態に応じた配分条件の成否を判定し、
前記制御部は、前記強制作動制御において、前記判定部による前記配分条件の判定結果に応じて前記冷却ファンのそれぞれの作動度合いを調節する
ことを特徴とする、請求項1~4のいずれか一項に記載のファン装置。
【請求項6】
前記冷却ファンには、エンジンを冷却するエンジン冷却液が流通するエンジンラジエータのエンジン用ファンと、車室の空調用冷媒が流通するコンデンサの空調用ファンとが含まれ、
前記取得部には、前記エンジン冷却液の液温を取得するエンジン液温取得部が含まれ、
前記判定部は、前記エンジン液温取得部によって取得された液温が、前記エンジン冷却液の冷却を促進すべき液温の下限として予め設定された所定のエンジン下限液温以上であると成立するとともに前記エンジン下限液温未満であれば成立しないエンジン配分条件の成否を判定し、
前記制御部は、
前記エンジン用ファン及び前記空調用ファンのそれぞれについて、弱状態,中状態及び強状態の三段階のうち少なくとも一つの状態に前記作動度合いを制御し、
前記判定部によって前記エンジン配分条件の成立が判定された場合には、前記エンジン用ファンを前記強状態で作動させ、前記空調用ファンを前記弱状態で作動させる
ことを特徴とする、請求項5に記載のファン装置。
【請求項7】
前記取得部には、前記空調用冷媒の圧力を取得する冷媒圧取得部が含まれ、
前記判定部は、前記冷媒圧取得部によって取得された圧力が、前記空調用冷媒の冷却を促進すべき圧力の下限として予め設定された所定の冷媒下限圧以上であると成立するとともに前記冷媒下限圧未満であれば成立しない空調配分条件の成否を判定し、
前記制御部は、前記判定部によって前記エンジン配分条件の不成立が判定された場合かつ前記空調配分条件の成立が判定された場合には、前記エンジン用ファン及び前記空調用ファンのいずれも前記中状態で作動させる
ことを特徴とする、請求項6に記載のファン装置。
【請求項8】
前記冷却ファンには、エンジンを冷却するエンジン冷却液が流通するエンジンラジエータのエンジン用ファンと、車室の空調用冷媒が流通するコンデンサの空調用ファンと、電気自動車の駆動用コンポーネントを冷却するコンポ冷却液が流通するコンポラジエータのコンポ用ファンが含まれ、
前記取得部には、前記コンポ冷却液の温度を取得するコンポ液温取得部が含まれ、
前記判定部は、前記コンポ液温取得部によって取得された液温が、前記コンポ冷却液の冷却を促進すべき液温の下限として予め設定された所定のコンポ下限液温以上であると成立するとともに前記コンポ下限液温未満であれば成立しないコンポ配分条件の成否を判定し、
前記制御部は、
前記エンジン用ファン,前記空調用ファン及び前記コンポ用ファンのそれぞれについて、弱状態,中状態及び強状態の三段階のうち少なくとも一つの状態に前記作動度合いを制御し、
前記判定部によって前記コンポ配分条件の成立が判定された場合には、前記コンポ用ファンを前記強状態で作動させ、前記エンジン用ファンを前記中状態で作動させ、前記空調用ファンを前記弱状態で作動させる
ことを特徴とする、請求項5に記載のファン装置。
【請求項9】
前記取得部には、前記エンジン冷却液の液温を取得するエンジン液温取得部が含まれ、
前記判定部は、前記エンジン液温取得部によって取得された液温が、前記エンジン冷却液の冷却を促進すべき液温の下限として予め設定された所定のエンジン下限液温以上であると成立するとともに前記エンジン下限液温未満であれば成立しないエンジン配分条件の成否を判定し、
前記制御部は、前記判定部によって前記コンポ配分条件の不成立が判定された場合かつ前記エンジン配分条件の成立が判定された場合には、前記コンポ用ファンを前記中状態で作動させ、前記エンジン用ファンを前記強状態で作動させ、前記空調用ファンを前記弱状態で作動させる
ことを特徴とする、請求項8に記載のファン装置。
【請求項10】
前記取得部には、前記空調用冷媒の圧力を取得する冷媒圧取得部が含まれ、
前記判定部は、前記冷媒圧取得部によって取得された圧力が、前記空調用冷媒の冷却を促進すべき圧力の下限として予め設定された所定の冷媒下限圧以上であると成立するとともに前記冷媒下限圧未満であれば成立しない空調配分条件の成否を判定し、
前記制御部は、前記判定部によって前記コンポ配分条件及び前記エンジン配分条件の不成立が共に判定された場合かつ前記空調配分条件の成立が判定された場合には、前記コンポ用ファン,前記エンジン用ファン及び前記空調用ファンのいずれも前記中状態で作動させる
ことを特徴とする、請求項9に記載のファン装置。
(【請求項11】以降は省略されています)
発明の詳細な説明
【技術分野】
【0001】
本件は、車両に搭載された熱交換器の冷却ファンを制御するファン装置に関する。
続きを表示(約 2,000 文字)
【背景技術】
【0002】
車両には、走行時に取り入れられる外気と熱交換する空冷の熱交換器と、この熱交換器を冷却する冷却ファンとが搭載されている。熱交換器としては、エンジン冷却水を冷媒とするラジエータや車室の空調用冷媒を凝集するコンデンサなどが知られている。冷却ファンは、一般的に、ラジエータやコンデンサなどの熱交換器に対して後方に設けられ、熱交換器の前方から後方へ空気を流通させるように羽根車(すなわちファン)を回転させることにより、熱交換器による熱交換を促進する。
【0003】
上記のように熱交換器へ通風する冷却ファンは、車両が浸水路を走行したり川を渡ったりする特殊な走行時には水に浸かるおそれがある。作動中の冷却ファンが水に浸かると、例えば羽根車が水の抵抗に耐えられず破損するおそれがある。
そこで、冷却ファンの作動を手動で停止するスイッチが車両に配備された技術が提案されている。このような技術の一つとして、手動操作可能な手動スイッチがONになると、冷却ファンの電動モータに印加される電圧を0にまで低下させる制御装置が車両に設けられた技術が挙げられる(特許文献1参照)。
【先行技術文献】
【特許文献】
【0004】
特開2013-199893号公報
【発明の概要】
【発明が解決しようとする課題】
【0005】
しかしながら、上記の特許文献1のように手動のスイッチで冷却ファンを停止させる技術では、スイッチを操作し忘れて、冷却ファンを停止させたままにすると、熱交換器の冷媒が過剰に高温になったり過剰に高圧になったりして、熱交換器による冷却対象の冷却が不十分となるオーバーヒートを招くおそれがある。
よって、冷却ファンを手動で停止させるスイッチが設けられた車両においてオーバーヒートを抑制するうえで改善の余地がある。
【0006】
本件のファン装置は、このような課題に鑑みて創案されたものであり、冷却ファンを手動で停止させるスイッチが設けられた車両においてオーバーヒートを抑制することを目的の一つとする。なお、この目的に限らず、後述する「発明を実施するための形態」に示す各構成から導き出される作用効果であって、従来の技術では得られない作用効果を奏することも、本件の他の目的である。
【課題を解決するための手段】
【0007】
開示のファン装置は、以下に開示する態様(適用例)として実現でき、上記の課題の少なくとも一部を解決する。態様2以降の各態様は、いずれもが付加的に適宜選択されうる態様であって、いずれもが省略可能な態様である。態様2以降の各態様は、いずれもが本件にとって必要不可欠な態様や構成を開示するものではない。
【0008】
態様1.開示するファン装置は、冷却ファンと、スイッチと、取得部と、制御装置と、を備えている。前記冷却ファンは、車両に搭載された熱交換器に取り付けられている。前記スイッチは、前記冷却ファンを停止させる停止状態と、前記冷却ファンの停止を解除する解除状態とが前記車両の乗員によって手動で切り替えられる。前記取得部は、前記熱交換器を流通する冷媒の温度又は圧力を取得する。
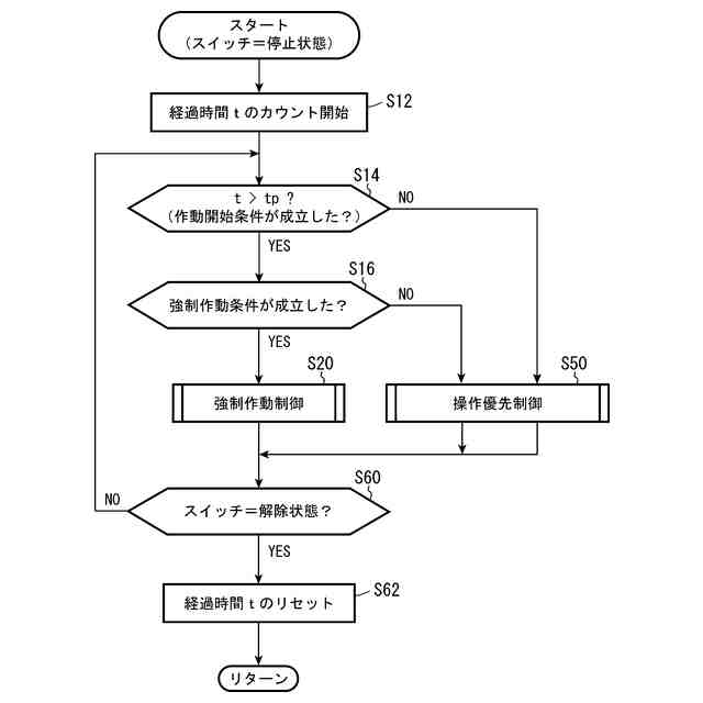
また、前記制御装置は、判定部と、制御部と、を有する。前記判定部は、前記取得部によって取得された前記冷媒の温度又は圧力が、前記冷媒の冷却を促進すべき温度又は圧力の下限として予め設定された下限温度又は下限圧力以上の高状態であれば成立するとともに前記高状態でなければ成立しない強制作動条件の成否を判定する。前記制御部は、前記スイッチが前記停止状態であって前記判定部によって前記強制作動条件の成立が判定された場合に前記冷却ファンを強制的に作動させる強制作動制御を実施する。
【0009】
態様2.上記の態様1において、前記制御部は、前記スイッチが前記停止状態であって前記強制作動条件の不成立が判定された場合に前記冷却ファンを強制的に停止させる操作優先制御を実施することが好ましい。
【0010】
態様3.上記の態様1又は2において、前記判定部は、前記スイッチが前記停止状態に操作されてから前記冷却ファンを停止させるまでの猶予期間として予め設定された所定時間が経過すれば成立するとともに前記所定時間が経過していなければ成立しない作動開始条件の成否を判定することが好ましい。また、前記制御部は、前記スイッチが前記停止状態であって前記判定部によって前記作動開始条件の不成立が判定された場合に前記冷却ファンを強制的に停止させる操作優先制御を実施することが好ましい。
(【0011】以降は省略されています)
この特許をJ-PlatPat(特許庁公式サイト)で参照する
関連特許
個人
タイヤレバー
2か月前
個人
前輪キャスター
1か月前
個人
上部一体型自動車
11日前
個人
ホイルのボルト締結
3か月前
個人
ルーフ付きトライク
2か月前
個人
タイヤ脱落防止構造
1か月前
日本精機株式会社
表示装置
2か月前
日本精機株式会社
表示装置
2か月前
井関農機株式会社
作業車両
4か月前
個人
キャンピングトライク
4か月前
日本精機株式会社
表示装置
1か月前
日本精機株式会社
表示装置
2か月前
井関農機株式会社
作業車両
4か月前
個人
マスタシリンダ
18日前
個人
車両通過構造物
2か月前
個人
キャンピングトレーラー
4か月前
個人
乗合路線バスの客室装置
2か月前
個人
アクセルのソフトウェア
3か月前
個人
車両用スリップ防止装置
3か月前
株式会社豊田自動織機
産業車両
2か月前
日本精機株式会社
画像投映装置
7日前
株式会社ニフコ
保持装置
3か月前
個人
円湾曲ホイール及び球体輪
2か月前
日本精機株式会社
車載表示装置
26日前
個人
車載小物入れ兼雨傘収納具
3か月前
日本精機株式会社
車室演出装置
1か月前
株式会社ニフコ
照明装置
1か月前
日本精機株式会社
車載表示装置
3か月前
株式会社ニフコ
収納装置
1か月前
個人
音声ガイド、音声サービス
2か月前
井関農機株式会社
作業車両
3か月前
日本精機株式会社
車両用表示装置
3か月前
日本精機株式会社
車両用投影装置
25日前
井関農機株式会社
作業車両
3か月前
日本精機株式会社
車両用表示装置
7日前
日本精機株式会社
車両用投影装置
4か月前
続きを見る
他の特許を見る