TOP
|
特許
|
意匠
|
商標
特許ウォッチ
Twitter
他の特許を見る
公開番号
2025149063
公報種別
公開特許公報(A)
公開日
2025-10-08
出願番号
2024049498
出願日
2024-03-26
発明の名称
ガルバノモータ及びシステム
出願人
キヤノン株式会社
代理人
個人
,
個人
,
個人
,
個人
,
個人
主分類
H02K
5/167 20060101AFI20251001BHJP(電力の発電,変換,配電)
要約
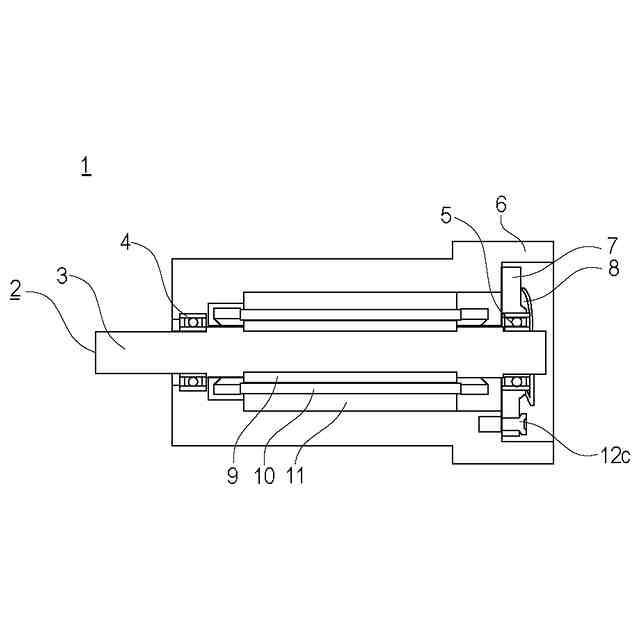
【課題】 回転軸の半径方向に大型化せずに応答速度を速くできるガルバノモータを提供する。
【解決手段】 回転軸と、回転軸を回転可能に支持する軸受と、軸受を保持する保持部と、軸受に対して予圧を発生させる予圧機構と、を有するガルバノモータにおいて、予圧機構は、回転軸の径方向において軸受より外側の位置で、保持部に固定される固定部と、固定部から軸受の外周に沿うように延びる腕部と、腕部の先に設けられた、軸受に接触する接触部と、を含む板状の弾性部材を有し、回転軸の軸方向において、軸受が前記保持部に対して突出しており、接触部が前記軸受に接触した状態で、固定部が保持部に固定されることで、腕部が弾性変形され、接触部が軸受を押圧する。
【選択図】 図2
特許請求の範囲
【請求項1】
回転軸と、前記回転軸を回転可能に支持する軸受と、前記軸受を保持する保持部と、前記軸受に対して予圧を発生させる予圧機構と、を有するガルバノモータにおいて、
前記予圧機構は、前記回転軸の径方向において前記軸受より外側の位置で、前記保持部に固定される固定部と、前記固定部から前記軸受の外周に沿うように延びる腕部と、前記腕部の先に設けられた、前記軸受に接触する接触部と、を含む板状の弾性部材を有し、
前記回転軸の軸方向において、前記軸受が前記保持部に対して突出しており、
前記接触部が前記軸受に接触した状態で、前記固定部が前記保持部に固定されることで、前記腕部が弾性変形され、前記接触部が前記軸受を押圧することを特徴とするガルバノモータ。
続きを表示(約 420 文字)
【請求項2】
前記予圧機構は、前記板状の弾性部材のそれぞれが、前記固定部と前記腕部と前記接触部とを含む、複数の前記板状の弾性部材を有することを特徴とする請求項1に記載のガルバノモータ。
【請求項3】
前記板状の弾性部材が、複数の前記固定部と複数の前記腕部と前記接触部とを含む単一の部材であることを特徴とする請求項1に記載のガルバノモータ。
【請求項4】
前記板状の弾性部材が、複数の前記固定部と複数の前記腕部と複数の前記接触部とを含む単一の部材であることを特徴とする請求項1に記載のガルバノモータ。
【請求項5】
前記腕部は、前記固定部から前記軸受に向けて螺旋状に延在していることを特徴とする請求項1に記載のガルバノモータ。
【請求項6】
請求項1乃至5の何れか1項に記載のガルバノモータと、
前記ガルバノモータを制御する制御部と、を有するシステム。
発明の詳細な説明
【技術分野】
【0001】
本発明は、ガルバノモータ及びシステムに関する。
続きを表示(約 1,400 文字)
【背景技術】
【0002】
レーザ加工装置は、レーザ光を走査して加工対象物の任意の位置にレーザを照射することで対象物を加工する。レーザ光の走査には、回転軸にミラーが取り付けられたガルバノモータを使用する。ガルバノモータは、レーザ光を反射するミラーの回転角度を制御することで、レーザ光を走査して、対象物の加工面にレーザ光を照射する。
【0003】
ここで、レーザ光の走査速度を変化させながら走査する際、走査指令に対してモータの応答速度が遅いと、所望の走査軌跡に対して実際の走査軌跡がずれてしまう。所望の走査軌跡を得るためには、モータの応答速度を速くすることが求められる。モータの応答速度はモータのトルクイナーシャ比に比例するため、トルクイナーシャ比を増加させることで応答速度を速くできる。
【0004】
ここで、従来のモータの構造の例として特許文献1が開示されている。特許文献1に開示されているモータの構造では、軸受に予圧を発生させる予圧機構にウェーブスプリングが使用されている。このような予圧機構では、ロータの軸方向に軸受、ウェーブスプリング、押さえ板が構成されており、予圧機構を収めるスペースを確保するためにロータの軸長が長くなっていた。
【0005】
トルクイナーシャ比を増加させる方法の一つとして、ロータの軸長を短くしてイナーシャを小さくすることが考えられる。
【0006】
特許文献2に開示されるモータの構造では、予圧機構に板ばねが使用されており、軸受を収容しているハウジングに板ばねを固定している。このような予圧機構では、ロータの軸方向に押さえ板を構成する必要がないため、ロータの軸長を短縮できる。
【先行技術文献】
【特許文献】
【0007】
特許6437950
特開2006-180570
【発明の概要】
【発明が解決しようとする課題】
【0008】
しかし、特許文献2のような予圧機構では、過大な力負荷がかかった場合に、応力集中によって板ばねが塑性変形をする可能性がある。塑性変形を避けるためには、板ばねが弾性変形する領域を確保するために回転軸の半径方向に板ばねを大きくする必要がある。そうすると、ガルバノモータが回転軸の半径方向に大型化してしまう。
【0009】
そこで、本発明は、回転軸の半径方向に大型化せずに応答速度を速くできるガルバノモータを提供することを目的とする。
【課題を解決するための手段】
【0010】
上記課題を解決する本発明の一側面としてのガルバノモータは、回転軸と、前記回転軸を回転可能に支持する軸受と、前記軸受を保持する保持部と、前記軸受に対して予圧を発生させる予圧機構と、を有するガルバノモータにおいて、前記予圧機構は、前記回転軸の径方向において前記軸受より外側の位置で、前記保持部に固定される固定部と、前記固定部から前記軸受の外周に沿うように延びる腕部と、前記腕部の先に設けられた、前記軸受に接触する接触部と、を含む板状の弾性部材を有し、前記回転軸の軸方向において、前記軸受が前記保持部に対して突出しており、前記接触部が前記軸受に接触した状態で、前記固定部が前記保持部に固定されることで、前記腕部が弾性変形され、前記接触部が前記軸受を押圧することを特徴とする。
【発明の効果】
(【0011】以降は省略されています)
この特許をJ-PlatPat(特許庁公式サイト)で参照する
関連特許
キヤノン株式会社
トナー
今日
キヤノン株式会社
トナー
今日
キヤノン株式会社
トナー
5日前
キヤノン株式会社
トナー
今日
キヤノン株式会社
撮像装置
13日前
キヤノン株式会社
撮像装置
21日前
キヤノン株式会社
電子機器
21日前
キヤノン株式会社
記録装置
21日前
キヤノン株式会社
撮像装置
20日前
キヤノン株式会社
記録装置
20日前
キヤノン株式会社
撮像装置
19日前
キヤノン株式会社
定着装置
19日前
キヤノン株式会社
定着装置
13日前
キヤノン株式会社
電子機器
13日前
キヤノン株式会社
電子機器
13日前
キヤノン株式会社
定着装置
28日前
キヤノン株式会社
収容装置
13日前
キヤノン株式会社
表示装置
12日前
キヤノン株式会社
発光装置
12日前
キヤノン株式会社
電子機器
9日前
キヤノン株式会社
撮像装置
5日前
キヤノン株式会社
電子機器
7日前
キヤノン株式会社
定着装置
28日前
キヤノン株式会社
撮像装置
1日前
キヤノン株式会社
定着装置
28日前
キヤノン株式会社
電子機器
28日前
キヤノン株式会社
電子機器
1か月前
キヤノン株式会社
撮像装置
1か月前
キヤノン株式会社
電子機器
1か月前
キヤノン株式会社
撮像装置
1か月前
キヤノン株式会社
記録装置
5日前
キヤノン株式会社
半導体装置
7日前
キヤノン株式会社
モジュール
今日
キヤノン株式会社
現像剤容器
6日前
キヤノン株式会社
光学センサ
今日
キヤノン株式会社
光学測定装置
28日前
続きを見る
他の特許を見る