TOP
|
特許
|
意匠
|
商標
特許ウォッチ
Twitter
他の特許を見る
10個以上の画像は省略されています。
公開番号
2025148799
公報種別
公開特許公報(A)
公開日
2025-10-08
出願番号
2024049103
出願日
2024-03-26
発明の名称
回転電機の固定子の製造方法および回転電機の固定子の製造方法により製造した回転電機の固定子鉄心
出願人
三菱電機株式会社
代理人
弁理士法人ぱるも特許事務所
主分類
H02K
15/02 20250101AFI20251001BHJP(電力の発電,変換,配電)
要約
【課題】従来の回転電機の固定子鉄心の製造方法における側面接着工法で、紫外線硬化型の接着剤に紫外線を照射して硬化させた場合、酸素阻害を受け、硬化後であっても接着剤表面にタックが残り、埃あるいは塵などの異物が付着する問題があった。
【解決手段】回転電機の固定子の製造方法において、複数枚積層されたコア片を積層方向に送りつつ、積層コアの側面に紫外線硬化接着剤を塗布する接着剤塗布工程と、前記積層コアの側面に紫外線を照射しつつ、不活性ガスで充填された接着剤硬化室を通過させて複数のコア片を積層固着する工程とを含むようにした。
【選択図】図3
特許請求の範囲
【請求項1】
コア片が積層された積層コアを有する回転電機の固定子の製造方法であって、
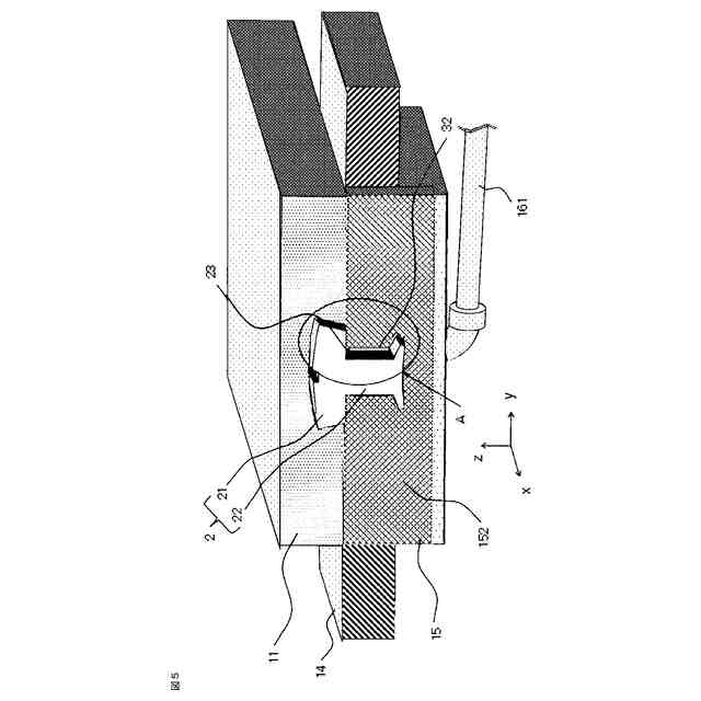
前記積層コアを前記コア片の積層方向に送りつつ、前記積層コアの側面に紫外線硬化接着剤を塗布する工程と、
前記紫外線硬化接着剤を塗布した前記積層コアの側面に不活性ガスを接触させ、前記積層コアの側面に紫外線を照射して、複数のコア片同士を固着させる工程と、
を含むことを特徴とする回転電機の固定子の製造方法。
続きを表示(約 1,000 文字)
【請求項2】
前記複数のコア片同士を固着させる工程は、前記不活性ガスが充填された閉鎖空間を通過させて行われる、
ことを特徴とする請求項1に記載の回転電機の固定子の製造方法。
【請求項3】
前記閉鎖空間は、前記積層コアを積層方向に移動させるために前記閉鎖空間の壁に設けられた穴と、移動する前記積層コアの側面との間に生ずる微小な隙間以外は密閉された状態の準密閉空間であって、
前記積層コアの側面に前記紫外線硬化接着剤を塗布する際、前記積層コアが通過する前記閉鎖空間の上流側と下流側に、それぞれ、前記穴を設けた仕切りを配置した、
ことを特徴とする請求項2に記載の回転電機の固定子の製造方法。
【請求項4】
前記積層コアと前記積層コアの側面に塗布された未硬化の前記紫外線硬化接着剤に、前記紫外線を照射させつつ、前記準密閉空間を通過させる際、前記紫外線硬化接着剤に含まれる光重合開始剤を励起状態としラジカルを生成させる工程と、
当該ラジカルにより周囲のモノマーと連鎖的に結合させて高分子ポリマーを生成させることにより、前記コア片に接着させた未硬化の前記紫外線硬化接着剤を硬化させる工程と、
を含むことを特徴とする請求項3に記載の回転電機の固定子の製造方法。
【請求項5】
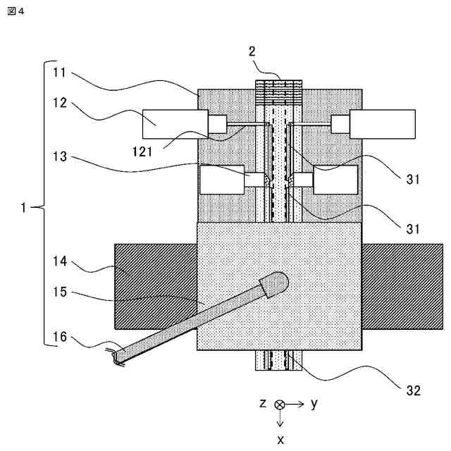
前記コア片をプレス機と金型によって打ち抜く工程と、
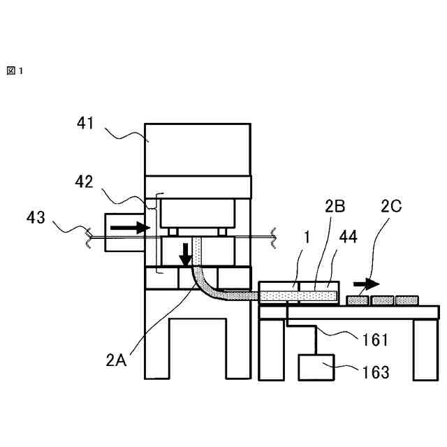
前記コア片の打ち抜きを繰り返すことで、前記コア片を順次重ねて積層コアを生成し、前記積層コアは、前記打ち抜きによって積層方向に送られつつ、前記積層コアの側面に前記紫外線硬化接着剤を塗布する工程と、
を含むことを特徴とする請求項1から4のいずれか1項に記載の回転電機の固定子の製造方法。
【請求項6】
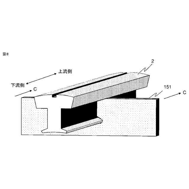
積層固着された前記積層コアを所定の大きさに切出す工程、
を含むことを特徴とする請求項1から4のいずれか1項に記載の回転電機の固定子の製造方法。
【請求項7】
前記不活性ガスは窒素である、
ことを特徴とする請求項1から4のいずれか1項に記載の回転電機の固定子の製造方法。
【請求項8】
請求項1から4のいずれか1項に記載の回転電機の固定子の製造方法により製造した回転電機の固定子鉄心。
【請求項9】
請求項7に記載の回転電機の固定子の製造方法により製造した回転電機の固定子鉄心。
発明の詳細な説明
【技術分野】
【0001】
本開示は、回転電機の固定子の製造方法および回転電機の固定子の製造方法により製造した固定子鉄心に関するものである。
続きを表示(約 1,700 文字)
【背景技術】
【0002】
近年、電動機、発電機などの回転電機には、小型高出力化が求められている。回転電機に用いられる電機子鉄心を電磁鋼板の積層コアである積層鉄心により構成することで、電機子鉄心に生じる渦電流を抑制して高効率化を図ることが、広く知られている。積層された電磁鋼板を固定する手段として、電磁鋼板同士をかしめる方法または溶接する方法があるが、固定部分で電磁鋼板間が積層方向に電気的に短絡するため、渦電流が発生して効率が悪化する問題があった。
【0003】
また、かしめた部分または溶接部には残留応力が生じるため、ヒステリシス損が増加して、回転電機の効率が悪化する問題があった。これらの問題を解決する方法として、電磁鋼板同士を接着により固着する方法が知られている(例えば、特許文献1参照)。例えば、この特許文献1に記載の積層鉄心の製造方法では、電磁鋼板を多数重ねて積層コアを締め付けて固定した状態で、熱硬化型接着剤を電磁鋼板間に含浸させ、コアの外周縁部、内周縁部およびコア内部に接着剤を浸透させて硬化させ、コアを固定した電動機が提示されている。
【0004】
しかしながら、積層コアを構成する電磁鋼板間の全てに接着剤を充填する必要があるため、回転電機などに用いられる一般的な積層コアの電磁鋼板の積層枚数が数百枚にもおよぶことを考慮すると、数百か所の電磁鋼板間の全てに接着剤を含浸させる必要があり、生産性が低下するという問題点があった。
【0005】
そこで、接着剤を利用する場合であっても、生産性を低下させることなく、電磁鋼板同士を固着させる製造方法として、積層されたコアの側面上の軸方向に、連続、あるいは断続して、全てのコア片に接着剤を塗布し硬化させ固着する側面接着工法が知られている(特許文献2参照)。
【先行技術文献】
【特許文献】
【0006】
特開2003-324869号公報
特開2021-111977号公報
【発明の概要】
【発明が解決しようとする課題】
【0007】
従来の回転電機の固定子鉄心、回転電機の固定子、回転電機、および、回転電機の固定子鉄心の製造方法、いわゆる側面接着工法に、紫外線の照射で硬化する紫外線硬化型の接着剤、とりわけ紫外線発光ダイオードにて特定の波長の紫外線を照射し、ラジカル重合反応を伴うアクリル樹脂系紫外線硬化接着剤を硬化した場合、空気中の酸素による阻害(酸素阻害)を受け、硬化後であっても接着剤表面にタック(べたつき)が残り、埃、あるいは塵などの異物が付着する問題があった。異物が付着すると、例えば、後の一体成型工程において、成形不良を引き起こし、コイルと鉄心との絶縁が確保できないなどの品質を低下させる問題があった。
【0008】
また、側面接着工法によって、積層されたコアの側面上に、例えば50μm程度の膜厚に塗布された接着剤において、その表層部の10μm程度が酸素阻害を受けた場合、本来の50μmの接着剤が示す強度に比べ、80%程度の強度になるといった問題もあった。
【0009】
なお、広帯域の波長の紫外線を照射できる高圧水銀ランプによる酸素阻害を克服する方法は既に確立されているが、環境負荷、あるいは省スペースなどの観点から、側面接着工法へ高圧水銀ランプを適用することは困難である。
【0010】
本開示は、上記のような課題を解決するための技術を開示するものであり、側面接着工法にアクリル樹脂系紫外線硬化接着剤を利用し、発光ダイオードによって紫外線照射し、接着剤を硬化させた場合であっても、酸素阻害による接着剤表面のタックの発生を抑制し、安定した品質の回転電機の固定子鉄心、回転電機の固定子、回転電機、および、回転電機の固定子鉄心の製造方法を提供することを目的とする。
【課題を解決するための手段】
(【0011】以降は省略されています)
この特許をJ-PlatPat(特許庁公式サイト)で参照する
関連特許
三菱電機株式会社
電子機器
今日
三菱電機株式会社
回転電機
15日前
三菱電機株式会社
照明器具
1か月前
三菱電機株式会社
回転電機
1か月前
三菱電機株式会社
照明装置
25日前
三菱電機株式会社
回転電機
1か月前
三菱電機株式会社
照明装置
1か月前
三菱電機株式会社
回転電機
25日前
三菱電機株式会社
回転電機
1か月前
三菱電機株式会社
換気装置
1か月前
三菱電機株式会社
半導体装置
1か月前
三菱電機株式会社
電気掃除機
1か月前
三菱電機株式会社
半導体装置
25日前
三菱電機株式会社
回路遮断器
1か月前
三菱電機株式会社
半導体装置
19日前
三菱電機株式会社
半導体装置
5日前
三菱電機株式会社
半導体装置
1か月前
三菱電機株式会社
加熱調理器
18日前
三菱電機株式会社
半導体装置
1か月前
三菱電機株式会社
電力変換装置
25日前
三菱電機株式会社
車両制御装置
27日前
三菱電機株式会社
回転電機装置
1か月前
三菱電機株式会社
給湯システム
18日前
三菱電機株式会社
ネジ取出機構
26日前
三菱電機株式会社
空気調和装置
26日前
三菱電機株式会社
照明システム
5日前
三菱電機株式会社
電力変換装置
1か月前
三菱電機株式会社
貯湯式給湯機
15日前
三菱電機株式会社
給湯機システム
1か月前
三菱電機株式会社
電動機制御装置
11日前
三菱電機株式会社
送電線保護装置
25日前
三菱電機株式会社
屋外設置用筐体
1か月前
三菱電機株式会社
はんだ処理装置
1か月前
三菱電機株式会社
非常用照明装置
18日前
三菱電機株式会社
電流切替型DAC
5日前
三菱電機株式会社
ウエハテスト装置
25日前
続きを見る
他の特許を見る