TOP
|
特許
|
意匠
|
商標
特許ウォッチ
Twitter
他の特許を見る
公開番号
2025148708
公報種別
公開特許公報(A)
公開日
2025-10-08
出願番号
2024048963
出願日
2024-03-26
発明の名称
機器モジュールの取付構造及び機器モジュール
出願人
株式会社オートネットワーク技術研究所
,
住友電装株式会社
,
住友電気工業株式会社
代理人
個人
,
個人
,
個人
,
個人
主分類
B60R
16/02 20060101AFI20251001BHJP(車両一般)
要約
【課題】内装部材の表面に機器を適切に固定できるようにすることを目的とする。
【解決手段】機器モジュールの取付構造20は、車体10を室内側から覆う内装部材13と、前記車体10のうち前記内装部材13に覆われる部分から室内側に突出する固定用土台11と、前記内装部材13の表面14に配置された機器モジュール30と、を備える。前記機器モジュール30が、前記内装部材13の前記表面14に露出する前記固定用土台11に固定されている。
【選択図】図2
特許請求の範囲
【請求項1】
車体を室内側から覆う内装部材と、
前記車体のうち前記内装部材に覆われる部分から室内側に突出する固定用土台と、
機器を含み、前記内装部材の表面に配置された機器モジュールと、
を備え、
前記機器モジュールが、前記内装部材の前記表面に露出する前記固定用土台に固定されている、機器モジュールの取付構造。
続きを表示(約 1,200 文字)
【請求項2】
請求項1に記載の機器モジュールの取付構造であって、
前記機器モジュールは前記機器を支持するブラケットを含み、
前記ブラケットが前記固定用土台に固定されている、機器モジュールの取付構造。
【請求項3】
請求項2に記載の機器モジュールの取付構造であって、
前記機器モジュールは、前記機器を室内側から覆うカバーを含む、機器モジュールの取付構造。
【請求項4】
請求項3に記載の機器モジュールの取付構造であって、
前記カバーは前記ブラケットを覆うと共に、前記ブラケットに取付けられており、
前記ブラケットが前記固定用土台に固定された状態で、前記カバーが前記ブラケットに着脱可能である、機器モジュールの取付構造。
【請求項5】
請求項3又は請求項4に記載の機器モジュールの取付構造であって、
前記ブラケットは、前記機器を支持する支持部分と、前記支持部分から前記固定用土台に向けて突出し前記固定用土台に固定される固定部分とを有し、
前記支持部分と前記内装部材との間に空所部が設けられている、機器モジュールの取付構造。
【請求項6】
請求項5に記載の機器モジュールの取付構造であって、
前記カバーの側面のうち前記空所部を覆う部分に放熱用の貫通孔が形成されている、機器モジュールの取付構造。
【請求項7】
請求項3又は請求項4に記載の機器モジュールの取付構造であって、
前記機器モジュールは、前記機器と接続される配線を含み、
前記配線は、前記機器から車両の配索面に向けて延びる第1区間と、前記第1区間に連続し、前記配索面に沿って延びる第2区間とを有し、前記カバーが前記第1区間と前記第2区間との連結部分を前記配索面に向けて押えている、機器モジュールの取付構造。
【請求項8】
請求項2から請求項4のいずれか1項に記載の機器モジュールの取付構造であって、
前記機器モジュールは、前記機器と接続される配線を含み、
前記配線のうち前記機器から延び出た部分が前記ブラケットに固定されている、機器モジュールの取付構造。
【請求項9】
請求項2から請求項4のいずれか1項に記載の機器モジュールの取付構造であって、
前記機器モジュールは、前記機器と接続される配線を含み、
前記ブラケットは、前記配線の余長部分を巻いて収容可能な巻付面を有する、機器モジュールの取付構造。
【請求項10】
車体のうち内装部材に覆われる部分から室内側に突出する固定用土台に取付けられる機器モジュールであって、
前記固定用土台に固定されるブラケットと、
前記ブラケットに支持された機器と、
前記ブラケットに取付けられて前記機器を覆うカバーと、
を備える、機器モジュール。
発明の詳細な説明
【技術分野】
【0001】
本開示は、機器モジュールの取付構造に関する。
続きを表示(約 990 文字)
【背景技術】
【0002】
特許文献1は、車両のルーフパネルと内装部材との間に機器を固定する技術を開示している。
【先行技術文献】
【特許文献】
【0003】
特開2022-141438号公報
【発明の概要】
【発明が解決しようとする課題】
【0004】
車両の内装部材の表面に機器を固定できることも望まれている。ここで、内装部材の表面に機器を接着剤又は粘着テープなどによって貼り付け固定する場合、固定強度が不足したり、固定位置などにばらつきが出たりする恐れがある。
【0005】
そこで、内装部材の表面に機器を適切に固定できるようにすることを目的とする。
【課題を解決するための手段】
【0006】
本開示の機器モジュールの取付構造は、車体を室内側から覆う内装部材と、前記車体のうち前記内装部材に覆われる部分から室内側に突出する固定用土台と、機器を含み、前記内装部材の表面に配置された機器モジュールと、を備え、前記機器モジュールが、前記内装部材の前記表面に露出する前記固定用土台に固定されている、機器モジュールの取付構造である。
【発明の効果】
【0007】
本開示によれば、内装部材の表面に機器を適切に固定できる。
【図面の簡単な説明】
【0008】
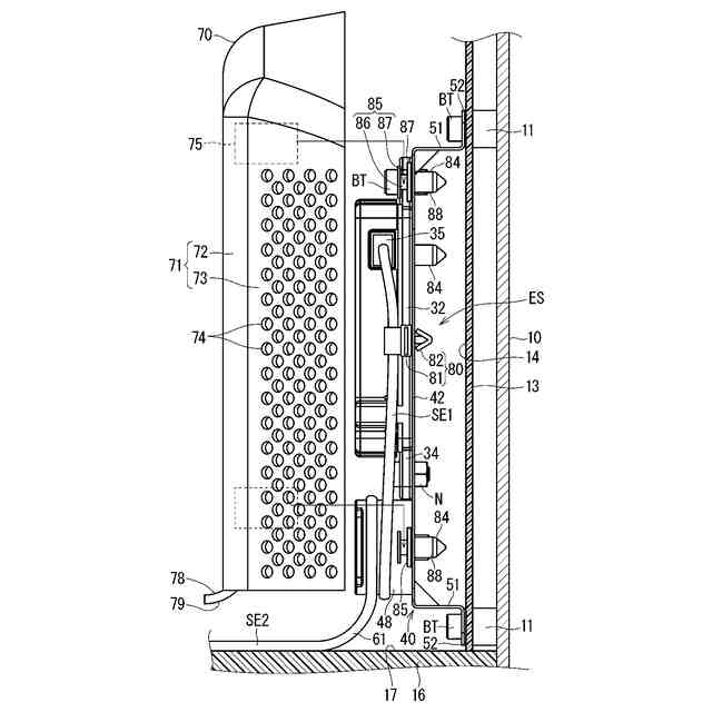
図1は実施形態1にかかる機器モジュールの取付構造を示す正面図である。
図2は図1のII-II線に沿った断面図である。
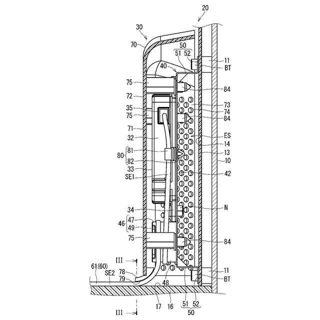
図3は図2のIII-III線に沿って切断した端面図である。
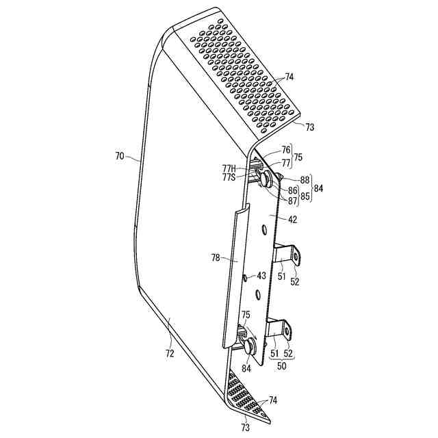
図4はカバーを外した状態の機器モジュールの取付構造を示す正面図である。
図5はカバーを外した状態の機器モジュールの取付構造を示す側面図である。
図6はブラケットを固定用土台に固定する様子を示す説明図である。
図7はカバーをブラケットに取付ける様子を示す説明図である。
【発明を実施するための形態】
【0009】
[本開示の実施形態の説明]
最初に本開示の実施態様を列記して説明する。
【0010】
本開示の機器モジュールの取付構造は、次の通りである。
(【0011】以降は省略されています)
この特許をJ-PlatPat(特許庁公式サイト)で参照する
関連特許
個人
タイヤレバー
2か月前
個人
前輪キャスター
1か月前
個人
上部一体型自動車
13日前
個人
タイヤ脱落防止構造
1か月前
個人
ルーフ付きトライク
2か月前
個人
ホイルのボルト締結
3か月前
個人
車両通過構造物
2か月前
日本精機株式会社
表示装置
1か月前
個人
マスタシリンダ
20日前
日本精機株式会社
表示装置
2か月前
日本精機株式会社
表示装置
2か月前
日本精機株式会社
表示装置
2か月前
個人
車両用スリップ防止装置
3か月前
個人
アクセルのソフトウェア
3か月前
個人
乗合路線バスの客室装置
3か月前
個人
円湾曲ホイール及び球体輪
3か月前
個人
車載小物入れ兼雨傘収納具
3か月前
日本精機株式会社
車室演出装置
1か月前
株式会社ニフコ
保持装置
3か月前
株式会社ニフコ
収納装置
1か月前
日本精機株式会社
車載表示装置
3か月前
日本精機株式会社
画像投映装置
9日前
日本精機株式会社
車載表示装置
28日前
個人
音声ガイド、音声サービス
2か月前
株式会社豊田自動織機
産業車両
2か月前
株式会社ニフコ
照明装置
1か月前
日本無線株式会社
取付金具
2か月前
株式会社SUBARU
車両
7日前
井関農機株式会社
作業車両
3か月前
日本精機株式会社
車両用投射装置
14日前
井関農機株式会社
作業車両
27日前
日本精機株式会社
車両用表示装置
2か月前
極東開発工業株式会社
車両
2か月前
日本精機株式会社
車両用表示装置
9日前
日本精機株式会社
車両用表示装置
3か月前
日本精機株式会社
車両用投影装置
27日前
続きを見る
他の特許を見る