TOP
|
特許
|
意匠
|
商標
特許ウォッチ
Twitter
他の特許を見る
10個以上の画像は省略されています。
公開番号
2025148389
公報種別
公開特許公報(A)
公開日
2025-10-07
出願番号
2025113010,2023578607
出願日
2025-07-03,2023-02-01
発明の名称
通信方法、ユーザ装置、プロセッサ、プログラム及びシステム
出願人
京セラ株式会社
代理人
弁理士法人キュリーズ
主分類
H04W
36/24 20090101AFI20250930BHJP(電気通信技術)
要約
【課題】条件付きハンドオーバ(CHO)及びCPAC(条件付きプライマリ・セカンダリセル変更、条件付きプライマリ・セカンダリセル追加)を同時に実施することを可能とする通信方法、ユーザ装置及び基地局を提供する。
【解決手段】通信方法において、ユーザ装置がマスタセルグループ(MCG)及びセカンダリセルグループ(SCG)と通信する通信方法であって、MCGを管理するマスタノードが、ターゲットMCGへのCHOを行うためのターゲットMCG設定と、ターゲットMCGと対応付けられた複数のSCG候補のそれぞれのSCG候補設定と、を含む無線リソース制御(RRC)メッセージをユーザ装置に送信するステップと、ユーザ装置が、RRCメッセージを受信するステップと、ユーザ装置が、CHOにおける実行条件が満たされた場合、複数のSCG候補の中からいずれかのSCG候補をターゲットSCGとして選択するステップと、を有する。
【選択図】図14
特許請求の範囲
【請求項1】
ユーザ装置がマスタセルグループ(MCG)及びセカンダリセルグループ(SCG)と通信する通信方法であって、
前記マスタセルグループ(MCG)を管理するマスタノードが、ターゲットMCGへの条件付きハンドオーバ(CHO)を行うためのターゲットMCG設定と、前記ターゲットMCGと対応付けられた候補SCGのSCG設定と、前記ターゲットMCGにおけるプライマリセル(PCell)のための実行条件を示す条件情報と、前記候補SCGにおけるプライマリセル(PSCell)のための実行条件を示す条件情報と、を含む無線リソース制御(RRC)メッセージを前記ユーザ装置に送信することと、
前記ユーザ装置が、前記RRCメッセージを受信することと、
前記ユーザ装置が、前記RRCメッセージに基づいて、PSCell追加・変更を伴うPCell変更を実行することと、を有
する
通信方法。
続きを表示(約 1,100 文字)
【請求項2】
マスタセルグループ(MCG)及びセカンダリセルグループ(SCG)と通信するユーザ装置であって、
前記マスタセルグループ(MCG)を管理するマスタノードから、ターゲットMCGへの条件付きハンドオーバ(CHO)を行うためのターゲットMCG設定と、前記ターゲットMCGと対応付けられた候補SCGのSCG設定と、前記ターゲットMCGにおけるプライマリセル(PCell)のための実行条件を示す条件情報と、前記候補SCGにおけるプライマリセル(PSCell)のための実行条件を示す条件情報と、を含む無線リソース制御(RRC)メッセージを受信する受信部と、
前記RRCメッセージに基づいて、PSCell追加・変更を伴うPCell変更を実行することと、を実行する制御部と、を備え
る
ユーザ装置。
【請求項3】
マスタセルグループ(MCG)及びセカンダリセルグループ(SCG)と通信するユーザ装置を制御するプロセッサであって、
前記マスタセルグループ(MCG)を管理するマスタノードから、ターゲットMCGへの条件付きハンドオーバ(CHO)を行うためのターゲットMCG設定と、前記ターゲットMCGと対応付けられた候補SCGのSCG設定と、前記ターゲットMCGにおけるプライマリセル(PCell)のための実行条件を示す条件情報と、前記候補SCGにおけるプライマリセル(PSCell)のための実行条件を示す条件情報と、を含む無線リソース制御(RRC)メッセージを受信する処理と、
前記RRCメッセージに基づいて、PSCell追加・変更を伴うPCell変更を実行する処理と、を実行
する
プロセッサ。
【請求項4】
マスタセルグループ(MCG)及びセカンダリセルグループ(SCG)と通信するユーザ装置を制御するプログラムであって、
前記マスタセルグループ(MCG)を管理するマスタノードから、ターゲットMCGへの条件付きハンドオーバ(CHO)を行うためのターゲットMCG設定と、前記ターゲットMCGと対応付けられた候補SCGのSCG設定と、前記ターゲットMCGにおけるプライマリセル(PCell)のための実行条件を示す条件情報と、前記候補SCGにおけるプライマリセル(PSCell)のための実行条件を示す条件情報と、を含む無線リソース制御(RRC)メッセージを受信する処理と、
前記RRCメッセージに基づいて、PSCell追加・変更を伴うPCell変更を実行する処理と、を、前記ユーザ装置に実行さ
せる
プログラム。
【請求項5】
請求項2に記載のユーザ装置及びマスタノードを含むシステム。
発明の詳細な説明
【技術分野】
【0001】
本開示は、移動通信システムで用いる通信方法、ユーザ装置、及び基地局に関する。
続きを表示(約 2,200 文字)
【背景技術】
【0002】
移動通信システムの標準化プロジェクトである3GPP(Third Generation Partnership Project)の技術仕様において、条件付きハンドオーバ(CHO:Conditional Handover)及び条件付きプライマリ・セカンダリセル変更(CPC:Conditional PSCell Change)の仕様が策定されている。また、3GPPにおいて、条件付きプライマリ・セカンダリセル追加(CPA:Conditional PSCell Addition)及びセカンダリノード間(Inter-SN)CPCの仕様策定について議論されている。なお、CPC及びCPAはCPACと総称されることがある。
【先行技術文献】
【非特許文献】
【0003】
3GPP技術仕様書:TS38.300 V16.8.0 (2021-12)
【発明の概要】
【0004】
本開示は、CHO及びCPACを同時に実施することを可能とする通信方法、ユーザ装置、及び基地局を提供する。
【0005】
第1の態様に係る通信方法は、ユーザ装置がマスタセルグループ(MCG)及びセカンダリセルグループ(SCG)と通信する通信方法であって、前記マスタセルグループ(MCG)を管理するマスタノードが、ターゲットMCGへの条件付きハンドオーバ(CHO)を行うためのターゲットMCG設定と、前記ターゲットMCGと対応付けられた複数のSCG候補のそれぞれのSCG候補設定と、を含む無線リソース制御(RRC)メッセージを前記ユーザ装置に送信するステップと、前記ユーザ装置が、前記RRCメッセージを受信するステップと、前記ユーザ装置が、前記CHOにおける実行条件が満たされた場合、前記複数のSCG候補の中からいずれかのSCG候補をターゲットSCGとして選択するステップと、を有する。
【0006】
第2の態様に係るユーザ装置は、マスタセルグループ(MCG)及びセカンダリセルグループ(SCG)と通信するユーザ装置であって、前記マスタセルグループ(MCG)を管理するマスタノードから、ターゲットMCGへの条件付きハンドオーバ(CHO)を行うためのターゲットMCG設定と、前記ターゲットMCGと対応付けられた複数のSCG候補のそれぞれのSCG候補設定とを含む無線リソース制御(RRC)メッセージを受信する受信部と、前記CHOにおける実行条件が満たされた場合、前記複数のSCG候補の中からいずれかのSCG候補をターゲットSCGとして選択する制御部と、を備える。
【0007】
第3の態様に係る基地局は、ユーザ装置が用いるマスタセルグループ(MCG)を管理するマスタノードとして動作する基地局であって、ターゲットMCGへの条件付きハンドオーバ(CHO)を行うためのターゲットMCG設定と、前記ターゲットMCGと対応付けられた複数のセカンダリセルグループ(SCG)候補のそれぞれのSCG候補設定と、を含む無線リソース制御(RRC)メッセージを前記ユーザ装置に送信する送信部を備える。
【図面の簡単な説明】
【0008】
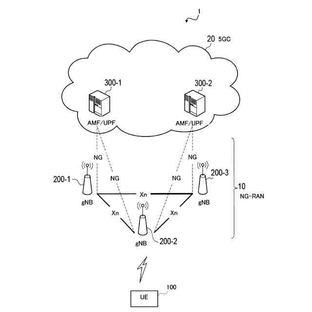
実施形態に係る移動通信システムの構成を示す図である。
実施形態に係るUE(ユーザ装置)の構成を示す図である。
実施形態に係るgNB(基地局)の構成を示す図である。
データを取り扱うユーザプレーンの無線インターフェイスのプロトコルスタックの構成を示す図である。
シグナリング(制御信号)を取り扱う制御プレーンの無線インターフェイスのプロトコルスタックの構成を示す図である。
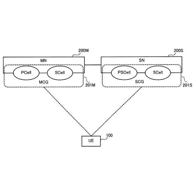
実施形態に係るDCの概要を説明するための図である。
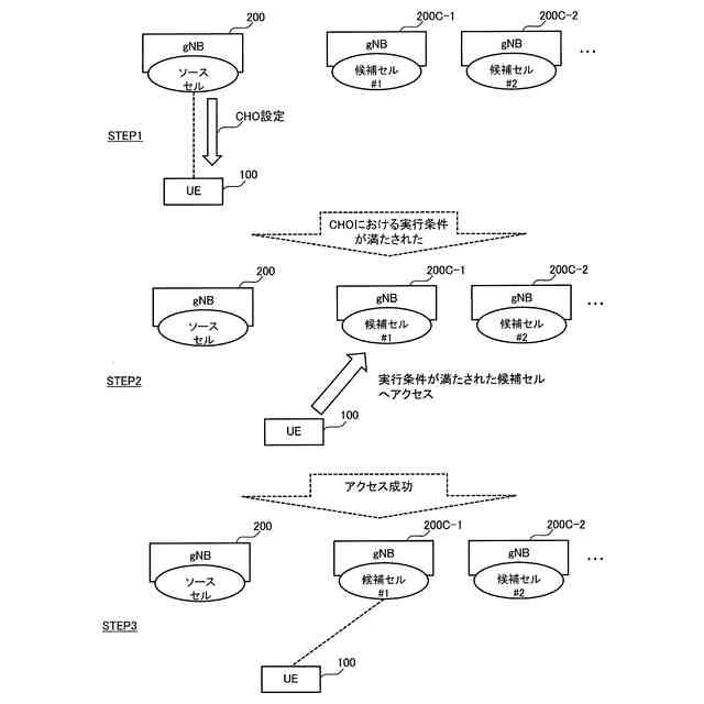
実施形態に係るCHOを説明するための図である。
実施形態に係るCPCを説明するための図である。
実施形態に係るCPAを説明するための図である。
実施形態に係るCHO及びCPCの同時実施に係る動作を説明するための図である。
実施形態に係るCHO及びCPAの同時実施に係る動作を説明するための図である。
実施形態に係るRRCメッセージの構成例1を示す図である。
実施形態に係るRRCメッセージの構成例2を示す図である。
実施形態に係るUEの動作フローの一例を示す図である。
【発明を実施するための形態】
【0009】
図面を参照しながら、実施形態に係る移動通信システムについて説明する。図面の記載において、同一又は類似の部分には同一又は類似の符号を付している。
【0010】
(1)移動通信システムの構成
まず、実施形態に係る移動通信システムの構成について説明する。図1は、実施形態に係る移動通信システムの構成を示す図である。移動通信システム1は、3GPP規格の第5世代システム(5GS:5th Generation System)に準拠する。以下において、5GSを例に挙げて説明するが、移動通信システムにはLTE(Long Term Evolution)システムが少なくとも部分的に適用されてもよいし、第6世代(6G)システムが少なくとも部分的に適用されてもよい。
(【0011】以降は省略されています)
この特許をJ-PlatPat(特許庁公式サイト)で参照する
関連特許
京セラ株式会社
刃物
1か月前
京セラ株式会社
二次電池
29日前
京セラ株式会社
蓄電装置
今日
京セラ株式会社
弾性波装置
13日前
京セラ株式会社
粒子分離装置
今日
京セラ株式会社
センサシステム
6日前
京セラ株式会社
太陽電池モジュール
22日前
京セラ株式会社
配線基板及び電子装置
6日前
京セラ株式会社
配線基板及び電子装置
6日前
京セラ株式会社
コネクタ及び取付方法
1日前
京セラ株式会社
発光装置および照明装置
10日前
京セラ株式会社
流路デバイスの準備方法
1日前
京セラ株式会社
取付部材及びヘッド取付方法
7日前
京セラ株式会社
骨モデルおよび表示システム
1か月前
京セラ株式会社
受電装置及び光給電システム
1日前
京セラ株式会社
波長変換素子および発光装置
2か月前
京セラ株式会社
半導体装置及びその製造方法
29日前
京セラ株式会社
電源制御装置及び電源制御方法
29日前
京セラ株式会社
液体吐出ヘッドおよび記録装置
28日前
京セラ株式会社
電源制御装置及び電源制御方法
29日前
京セラ株式会社
電源制御装置及び電源制御方法
29日前
京セラ株式会社
フィルタデバイスおよび通信装置
6日前
京セラ株式会社
電子機器及び電子機器の制御方法
2か月前
京セラ株式会社
液滴吐出ヘッドおよび液滴吐出装置
1か月前
京セラ株式会社
電磁波抑制樹脂組成物及びその硬化物
1か月前
京セラ株式会社
配線基板およびそれを用いた実装構造体
1か月前
京セラ株式会社
電子部品搭載用基板及び電子モジュール
1か月前
京セラ株式会社
光通信装置、光通信システム及び光照射素子
2日前
京セラ株式会社
異常検知装置、プログラム及び異常検知方法
1か月前
京セラ株式会社
異常検知装置、プログラム及び異常検知方法
1か月前
京セラ株式会社
異常検知装置、プログラム及び異常検知方法
1か月前
京セラ株式会社
ホルダ、切削工具、及び切削加工物の製造方法
今日
京セラ株式会社
情報処理装置及び学習モデル用データ生成方法
29日前
京セラ株式会社
ノード、方法、プログラム及び分散台帳システム
1日前
京セラ株式会社
多層基板、フィルタモジュール、および通信装置
10日前
京セラ株式会社
切削インサート、切削工具及び切削加工物の製造方法
28日前
続きを見る
他の特許を見る