TOP
|
特許
|
意匠
|
商標
特許ウォッチ
Twitter
他の特許を見る
10個以上の画像は省略されています。
公開番号
2025148385
公報種別
公開特許公報(A)
公開日
2025-10-07
出願番号
2025111768,2023197761
出願日
2025-07-01,2020-07-28
発明の名称
電気化学セルおよび電気化学セルモジュール
出願人
京セラ株式会社
代理人
弁理士法人 HARAKENZO WORLD PATENT & TRADEMARK
主分類
H01M
50/682 20210101AFI20250930BHJP(基本的電気素子)
要約
【課題】電気化学セルを均一に安定して動作させ、容量低下やガス発生等の不具合を抑制することができる電気化学セルモジュール、及び前記モジュールが備える電気化学セルを提供する。
【解決手段】電気化学セルは、第1発電要素と第1発電要素を内側に有する第1包装体とを有する第1単セルと、第2発電要素と第2発電要素を内側に有する第2包装体とを有する第2単セルと、第1単セルと第2単セルとを内側に有する外容器と、を備える。電気化学セルは、第1包装体の内部と、第2包装体の内部と、第1包装体と第2包装体との間と、に電解液が位置しており、少なくとも第1包装体と第2包装体とのどちらか一方が開口部を有しており、開口部の寸法は、縦10mm~200mm、横10mm~50mmである。
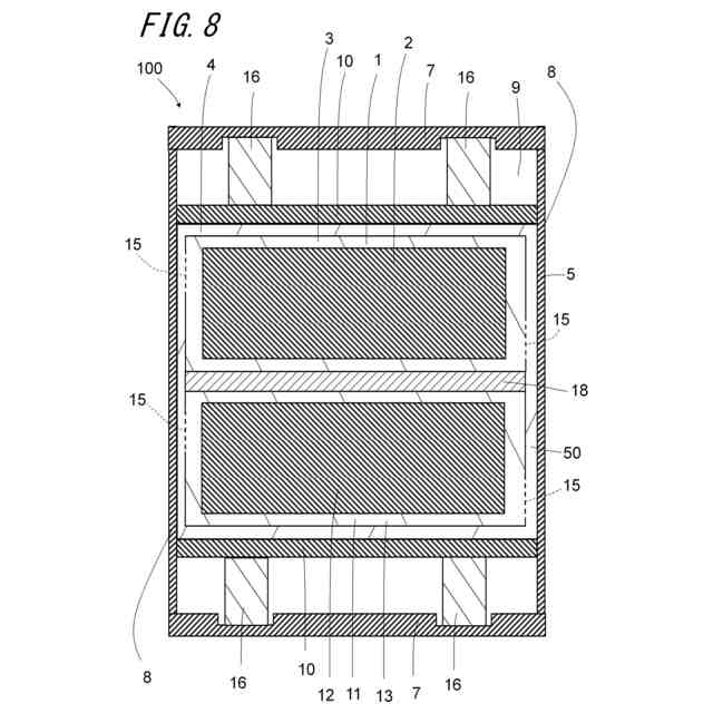
【選択図】図8
特許請求の範囲
【請求項1】
第1発電要素と前記第1発電要素を内側に有する第1包装体とを有する第1単セルと、
第2発電要素と前記第2発電要素を内側に有する第2包装体とを有する第2単セルと、
前記第1単セルと前記第2単セルとを内側に有する外容器と、を備え、
前記第1包装体の内部と、前記第2包装体の内部と、前記第1包装体と前記第2包装体との間と、に電解液が位置しており、
前記第1包装体及び前記第2包装体はラミネートフィルムからなる平たい袋形状であり、
前記外容器は袋形状であることを特徴とする電気化学セル。
続きを表示(約 280 文字)
【請求項2】
前記第1包装体および/または前記第2包装体の一端の一部に開口部を有する請求項1に記載の電気化学セル。
【請求項3】
請求項1または2に記載の電気化学セルと、
前記電気化学セルを内部に有する筐体と、
前記第1単セルおよび前記第2単セルを加圧する機構と、を備える電気化学セルモジュール。
【請求項4】
請求項1または2に記載の電気化学セルと、
前記電気化学セルを内部に有する筐体と、を備え、
前記筐体は、前記第1単セルおよび前記第2単セルを加圧する電気化学セルモジュール。
発明の詳細な説明
【技術分野】
【0001】
本開示は、電気化学セルおよび電気化学セルモジュールに関する。
続きを表示(約 1,700 文字)
【背景技術】
【0002】
従来、電気化学セルモジュールとして、例えば、特許文献1に記載の電気化学セルモジュールが提案されている。特許文献1に記載の電気化学セルモジュールは、電気化学セルを均一に安定して動作させることができ、容量低下やガス発生等の不具合を抑制することができる。
【先行技術文献】
【特許文献】
【0003】
特開2019-21382号公報
【発明の概要】
【0004】
本開示の電気化学セルは、第1発電要素と第1発電要素を内側に有する第1包装体とを有する第1単セルと、第2発電要素と第2発電要素を内側に有する第2包装体とを有する第2単セルと、第1単セルと第2単セルとを内側に有する外容器と、を備える。第1包装体の内部と、第2包装体の内部と、第1包装体と第2包装体との間と、に電解液が位置している。第1包装体及び第2包装体はラミネートフィルムからなる平たい袋形状である。外容器は袋形状である。
【0005】
本開示の電気化学セルは、第1包装体および/または第2包装体の一端の一部に開口部を有する。
【0006】
本開示の電気化学セルモジュールは、上記の電気化学セルと、電気化学セルを内部に有する筐体と、第1単セルおよび第2単セルを加圧する機構と、を備える。
【0007】
本開示の電気化学セルモジュールは、上記の電気化学セルと、電気化学セルを内部に有する筐体と、を備える。筐体は、第1単セルおよび第2単セルを加圧する。
【図面の簡単な説明】
【0008】
本開示の目的、特色、および利点は、下記の詳細な説明と図面とからより明確になるであろう。
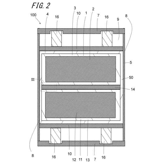
電気化学セルモジュールの斜視図を示す。
図1の切断面線II-IIで切断した断面図を示す。
図2の領域IIIの拡大図を示す。
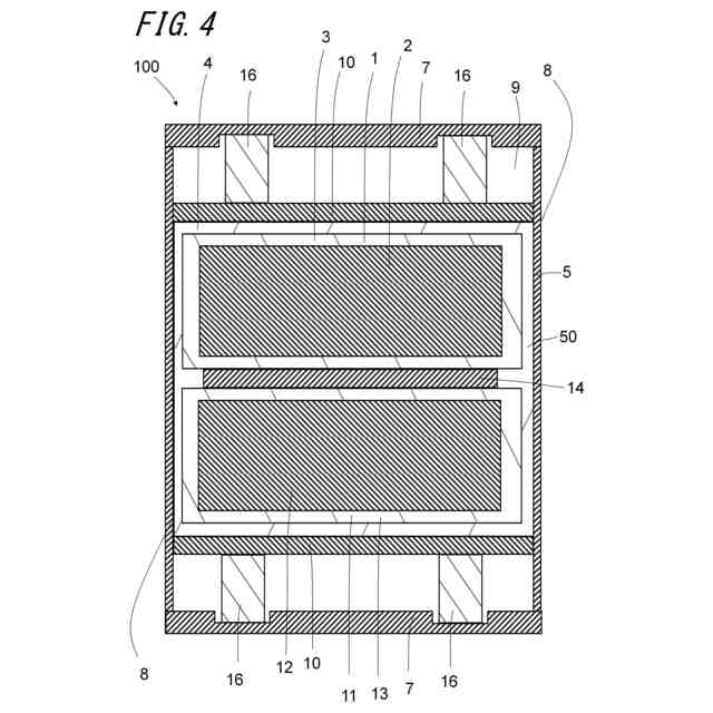
電気化学セルモジュールの別の例における、図2に対応する断面図を示す。
電気化学セルモジュールのさらに別の例における、図2に対応する断面図を示す。
電気化学セルモジュールのさらに別の例における、図2に対応する断面図を示す。
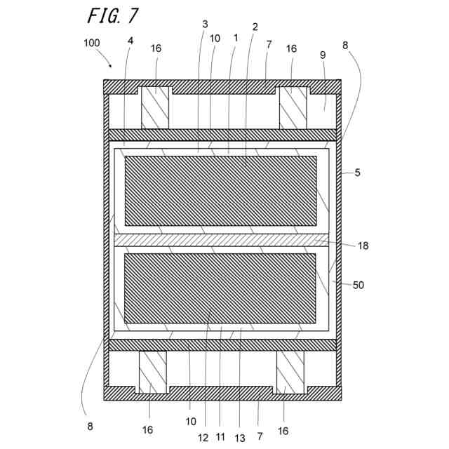
電気化学セルモジュールの他の例における、図2に対応する断面図を示す。
電気化学セルモジュールのさらに他の例における、図2に対応する断面図を示す。
電気化学セルモジュールのさらに他の例における、図2に対応する断面図を示す。
【発明を実施するための形態】
【0009】
電気化学セルモジュール100について図1および図2を用いて詳細に説明する。電気化学セルモジュール100は、図1および図2に示すように、筐体5と、筐体5内に位置する電気化学セル50と、を備えている。電気化学セル50は、電気化学セルモジュール100内で電池として機能するための部材である。電気化学セル50は、例えば、リチウムイオン電池を含む。電気化学セル50は、外容器4と、外容器4内に第1単セル1と、第2単セル11と、第1単セル1と第2単セル11との間に位置する液体層14と、を備えている。第1単セル1と第2単セル11とは、例えば、主面同士が押圧されて保持されていてもよい。電気化学セル50内では、第1単セル1と第2単セル11とは、例えば、積層されていてもよい。また、電気化学セル50は、例えば、板状である。電気化学セル50は、外部装置に電気的に接続されることによって、外部装置に電気を流すことができる。
【0010】
第1単セル1は、第1発電要素2と、第1発電要素2を内側に有する第1包装体3と、第1端子と、を有している。第1単セル1は、電気化学セル50内で電池として機能する最小の単位の部材である。第1単セル1は、例えば、主面を有する板状である。また、第1単セル1は、例えば、円形状であってもよい。第1単セル1は、例えば、第1単セル1の主面に垂直な方向から見たときに、矩形状であってもよい。第1単セル1の寸法は、例えば、縦50mm~500mm、横50mm~300mm、厚さ0.1mm~2mmであってもよい。
(【0011】以降は省略されています)
この特許をJ-PlatPat(特許庁公式サイト)で参照する
関連特許
京セラ株式会社
刃物
1か月前
京セラ株式会社
蓄電装置
1日前
京セラ株式会社
二次電池
1か月前
京セラ株式会社
弾性波装置
14日前
京セラ株式会社
粒子分離装置
1日前
京セラ株式会社
センサシステム
7日前
京セラ株式会社
静圧気体軸受装置
今日
京セラ株式会社
太陽電池モジュール
23日前
京セラ株式会社
配線基板及び電子装置
7日前
京セラ株式会社
配線基板及び電子装置
7日前
京セラ株式会社
コネクタ及び取付方法
2日前
京セラ株式会社
走査装置及び制御装置
今日
京セラ株式会社
走査装置及び制御装置
今日
京セラ株式会社
流路デバイスの準備方法
2日前
京セラ株式会社
太陽電池付きカーポート
今日
京セラ株式会社
太陽電池付きカーポート
今日
京セラ株式会社
発光装置および照明装置
11日前
京セラ株式会社
取付部材及びヘッド取付方法
8日前
京セラ株式会社
骨モデルおよび表示システム
1か月前
京セラ株式会社
受電装置及び光給電システム
2日前
京セラ株式会社
半導体装置及びその製造方法
1か月前
京セラ株式会社
電源制御装置及び電源制御方法
1か月前
京セラ株式会社
電源制御装置及び電源制御方法
1か月前
京セラ株式会社
電源制御装置及び電源制御方法
1か月前
京セラ株式会社
液体吐出ヘッドおよび記録装置
29日前
京セラ株式会社
フィルタデバイスおよび通信装置
7日前
京セラ株式会社
液滴吐出ヘッドおよび液滴吐出装置
1か月前
京セラ株式会社
電磁波抑制樹脂組成物及びその硬化物
1か月前
京セラ株式会社
電子部品搭載用基板及び電子モジュール
1か月前
京セラ株式会社
配線基板およびそれを用いた実装構造体
1か月前
京セラ株式会社
揺動装置、電磁波照射装置、及び制御装置
今日
京セラ株式会社
異常検知装置、プログラム及び異常検知方法
1か月前
京セラ株式会社
異常検知装置、プログラム及び異常検知方法
1か月前
京セラ株式会社
光通信装置、光通信システム及び光照射素子
3日前
京セラ株式会社
異常検知装置、プログラム及び異常検知方法
1か月前
京セラ株式会社
情報処理装置及び学習モデル用データ生成方法
1か月前
続きを見る
他の特許を見る