TOP
|
特許
|
意匠
|
商標
特許ウォッチ
Twitter
他の特許を見る
10個以上の画像は省略されています。
公開番号
2025146537
公報種別
公開特許公報(A)
公開日
2025-10-03
出願番号
2024047371
出願日
2024-03-22
発明の名称
配管用ジョイントユニット
出願人
豊田合成株式会社
代理人
弁理士法人 共立特許事務所
主分類
H01M
10/6556 20140101AFI20250926BHJP(基本的電気素子)
要約
【課題】配管用ジョイントユニットのケース壁への取り付け固定を簡易かつ低コストで実現すること。
【解決手段】配管用ジョイントユニットは、ケース壁に設けられたケース貫通孔を貫いて延びる筒状の配管部と、配管部に一体化され、配管部における延在方向の中途で径方向外方に広がるフランジ部と、を有する第一ジョイント部材と、配管部が貫くプレート貫通孔が設けられてケース壁を挟んでフランジ部に対向する板状のプレート部を有し、第一ジョイント部材に対して相対回転可能な第二ジョイント部材と、を備える。第一ジョイント部材及び第二ジョイント部材は、フランジ部とプレート部とが延在方向においてケース壁を挟んで対向する状態で、第一ジョイント部材と第二ジョイント部材とが配管部の周方向の第一方向に相対回転することにより、フランジ部とプレート部との延在方向の相対距離を小さくして配管部をケース壁に固定する配管取付構造を有する。
【選択図】図4
特許請求の範囲
【請求項1】
ケース壁に設けられたケース貫通孔を貫いて延びる筒状の配管部と、前記配管部に一体化され、前記配管部における延在方向の中途で径方向外方に広がるフランジ部と、を有する第一ジョイント部材と、
前記配管部が貫くプレート貫通孔が設けられて前記ケース壁を挟んで前記フランジ部に対向する板状のプレート部を有し、前記第一ジョイント部材に対して相対回転可能な第二ジョイント部材と、
を備え、
前記第一ジョイント部材及び前記第二ジョイント部材は、前記フランジ部と前記プレート部とが前記延在方向において前記ケース壁を挟んで対向する状態で、前記第一ジョイント部材と前記第二ジョイント部材とが前記配管部の周方向の第一方向に相対回転することにより、前記フランジ部と前記プレート部との前記延在方向の相対距離を小さくして前記配管部を前記ケース壁に固定する配管取付構造を有する、配管用ジョイントユニット。
続きを表示(約 820 文字)
【請求項2】
前記配管取付構造は、
前記第一ジョイント部材に前記周方向に沿って延びるように形成され、周方向位置に応じて前記延在方向の高さ位置が変化する第一傾斜面と、
前記第二ジョイント部材に前記周方向に沿って延びるように形成され、周方向位置に応じて前記延在方向の高さ位置が変化し、前記第一ジョイント部材と前記第二ジョイント部材との前記第一方向への相対回転により前記第一傾斜面に近づいて接する第二傾斜面と、
を有する、請求項1に記載された配管用ジョイントユニット。
【請求項3】
前記第一傾斜面は、前記第一ジョイント部材において、前記延在方向のうち前記第一ジョイント部材に対する前記第二ジョイント部材の配置側とは反対方向に向いて傾斜しており、
前記第二傾斜面は、前記第二ジョイント部材において、前記延在方向のうち前記第二ジョイント部材に対する前記第一ジョイント部材の配置側とは反対方向に向いて傾斜している、請求項2に記載された配管用ジョイントユニット。
【請求項4】
前記第一ジョイント部材及び前記第二ジョイント部材は、前記配管取付構造により前記配管部が前記ケース壁に固定された状態で前記第一ジョイント部材と前記第二ジョイント部材とが前記周方向における前記第一方向とは反対の第二方向に相対回転することを規制する回転止め構造を有する、請求項1に記載された配管用ジョイントユニット。
【請求項5】
前記配管部の外周側における前記フランジ部又は前記プレート部と前記ケース壁との間をシールする環状のシール部材を備える、請求項1に記載された配管用ジョイントユニット。
【請求項6】
前記第二ジョイント部材は、前記第一ジョイント部材に対する前記第二ジョイント部材の組み付け作業を補助するハンドル部を有する、請求項1に記載された配管用ジョイントユニット。
発明の詳細な説明
【技術分野】
【0001】
本発明は、例えば電気自動車などに搭載される電池パックのケース壁に配管部を固定する配管用ジョイントユニットに関する。
続きを表示(約 2,200 文字)
【背景技術】
【0002】
従来、電気自動車などの自動車に搭載される電池パックが知られている(例えば、特許文献1)。電池パックは、リチウムイオン電池,リチウムポリマー電池,ニッケルカドミウム電池,ニッケル水素電池,ニッケル亜鉛電池などの二次電池の単セルを複数個、直列に又は並列に接続させ、その電池モジュールをケースに収容したものである。自動車に搭載される電池は、過酷な使用環境に置かれ高温の外気に晒されることがあると共に、その電池が自動車の動力発生源として使用される場合などは充放電が繰り返されるので、高温になり易い。
【0003】
そこで、上記した特許文献1記載の電池パックでは、外部からケース内に冷媒を供給して電池モジュールを熱交換により冷却するための配管が設けられている。配管は、電池モジュールを収容するケース内に張り巡らされた内部配管と、ケースの壁に取り付けられてその内部配管と供給源側の外部配管とを繋いで接続する配管用ジョイントユニットと、を備えている。
【0004】
配管用ジョイントユニットは、筒状に延びる配管部と、その配管部の外周部から径方向外方に延びるフランジ部と、を有している。ケースの壁には、配管用ジョイントユニットの配管部が挿入されるケース貫通孔が設けられている。配管用ジョイントユニットは、配管部がケース貫通孔に挿入された状態でフランジ部がケース貫通孔でのシール性を確保するためのシール部材を介してケース壁に対向するように配置される。フランジ部及びケース壁にはそれぞれ、複数のボルト孔が形成されている。そして、ボルトがフランジ部のボルト孔とケース壁のボルト孔とに挿入されナットに締結されることにより、シール部材によりシール性が確保された状態で配管用ジョイントユニットがケース壁に取り付け固定される。
【先行技術文献】
【特許文献】
【0005】
特開2023-526828号公報
【発明の概要】
【発明が解決しようとする課題】
【0006】
しかしながら、上記の如く配管用ジョイントユニットとケースとをボルトを用いて固定する手法では、接続対象同士のフランジ部及びケース壁とは別に設けられたボルトを用いることが必要であるので、配管用ジョイントユニットをケース壁に組み付けるのに手間がかかると共に、ボルトを用意することが必要である。このため、配管用ジョイントユニットとケース壁との組み付け工数が増加すると共に、製造コストが上昇してしまう。
【0007】
本発明は、このような点に鑑みてなされたものであり、ケース壁への取り付け固定を簡易かつ低コストで実現することが可能な配管用ジョイントユニットを提供することを目的とする。
【課題を解決するための手段】
【0008】
本発明の一態様は、ケース壁に設けられたケース貫通孔を貫いて延びる筒状の配管部と、前記配管部に一体化され、前記配管部における延在方向の中途で径方向外方に広がるフランジ部と、を有する第一ジョイント部材と、前記配管部が貫くプレート貫通孔が設けられて前記ケース壁を挟んで前記フランジ部に対向する板状のプレート部を有し、前記第一ジョイント部材に対して相対回転可能な第二ジョイント部材と、を備え、前記第一ジョイント部材及び前記第二ジョイント部材は、前記フランジ部と前記プレート部とが前記延在方向において前記ケース壁を挟んで対向する状態で、前記第一ジョイント部材と前記第二ジョイント部材とが前記配管部の周方向の第一方向に相対回転することにより、前記フランジ部と前記プレート部との前記延在方向の相対距離を小さくして前記配管部を前記ケース壁に固定する配管取付構造を有する、配管用ジョイントユニットである。
【0009】
この構成によれば、配管用ジョイントユニットのケース壁への取り付け固定を簡易かつ低コストで実現することができる。
【図面の簡単な説明】
【0010】
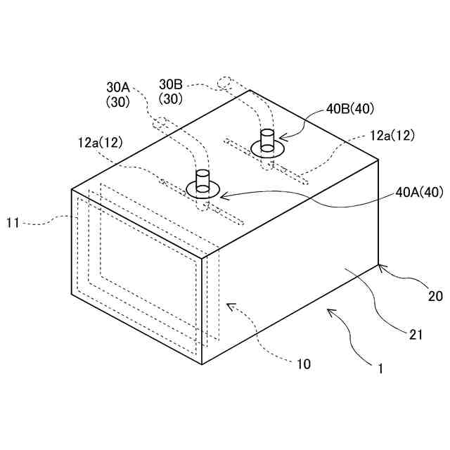
本発明の一実施形態に係る配管用ジョイントユニットを備える電池パックの斜視図である。
本実施形態の配管用ジョイントユニットをケースの内側から見た斜視図(但し、ケースについては一部であるケース壁のみを図示している。)である。
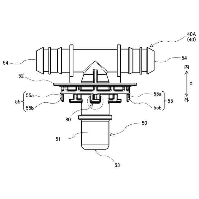
本実施形態の配管用ジョイントユニットの断面図である。
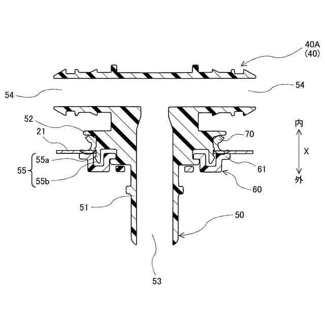
本実施形態の配管用ジョイントユニットの分解図(但し、ケース壁を含む。)である。
本実施形態の配管用ジョイントユニットが備える第一ジョイント部材をケースの外側から見た斜視図(但し、ケースについては一部であるケース壁のみを図示している。)である。
本実施形態の配管用ジョイントユニットが備える第一ジョイント部材の正面図である。
図6に示す一点鎖線部分の拡大図である。
本実施形態の配管用ジョイントユニットが備える第一ジョイント部材の斜視図である。
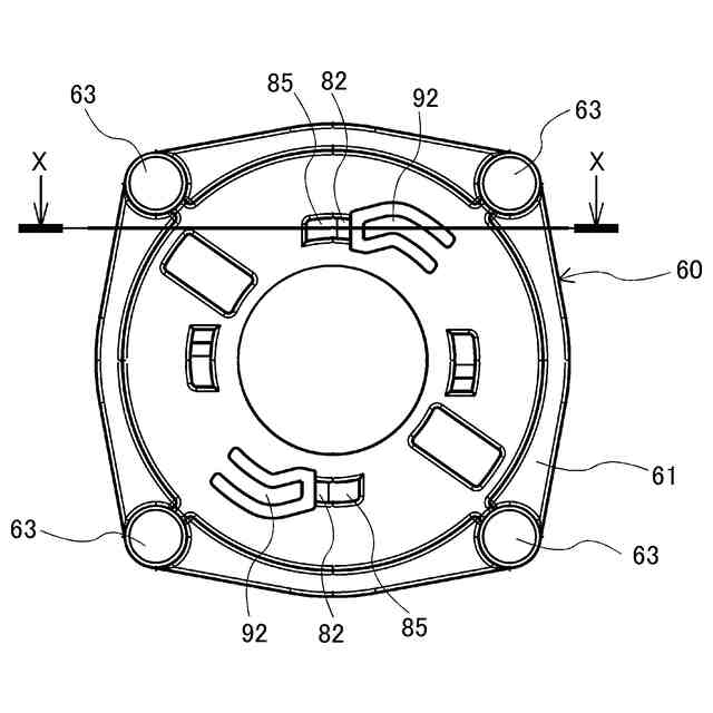
本実施形態の配管用ジョイントユニットが備える第二ジョイント部材の外面図である。
図9に示すX-X断面図である。
【発明を実施するための形態】
(【0011】以降は省略されています)
この特許をJ-PlatPat(特許庁公式サイト)で参照する
関連特許
豊田合成株式会社
調光装置
3日前
豊田合成株式会社
ガラスラン
15日前
豊田合成株式会社
乗員保護装置
9日前
豊田合成株式会社
乗員保護装置
15日前
豊田合成株式会社
エアバッグ装置
9日前
豊田合成株式会社
立体エアバッグ
15日前
豊田合成株式会社
把持検知システム
11日前
豊田合成株式会社
ステアリング装置
9日前
豊田合成株式会社
ステアリング装置
11日前
豊田合成株式会社
車両の前部構造体
3日前
豊田合成株式会社
ステアリング装置
10日前
豊田合成株式会社
ステアリング装置
10日前
豊田合成株式会社
コンテンツ体験装置
10日前
豊田合成株式会社
車両用体験システム
10日前
豊田合成株式会社
助手席用乗員保護装置
10日前
豊田合成株式会社
スタックマニホールド
15日前
豊田合成株式会社
車両用リッド開閉装置
9日前
豊田合成株式会社
車両用リッド開閉装置
9日前
豊田合成株式会社
歩行相判定支援システム
15日前
豊田合成株式会社
車両用シャッタ式物入れ
1日前
豊田合成株式会社
見切りウェザストリップ
10日前
豊田合成株式会社
カーテンエアバッグ装置
9日前
豊田合成株式会社
配管用ジョイントユニット
15日前
豊田合成株式会社
ステアリング装置用パッド
9日前
豊田合成株式会社
ステアリング装置用パッド
9日前
豊田合成株式会社
制御装置および制御システム
11日前
豊田合成株式会社
把持検知システムおよび把持検知方法
15日前
豊田合成株式会社
把持を検出する検出システムおよび検出装置、ステアリング
11日前
豊田合成株式会社
木粉繊維強化ポリオレフィン系樹脂組成物及びその製造方法
3日前
豊田合成株式会社
タッチパネル付表示装置及びタッチパネル付表示装置の製造方法
15日前
豊田合成株式会社
シートクッションエアバッグ装置およびシートクッションエアバッグ構造体
11日前
豊田合成株式会社
ステアリング装置、移動体、ウェアラブルデバイス、運転支援システム、および、運転支援方法
15日前
個人
フレキシブル電気化学素子
8日前
株式会社ユーシン
操作装置
8日前
ローム株式会社
半導体装置
10日前
日新イオン機器株式会社
イオン源
4日前
続きを見る
他の特許を見る