TOP
|
特許
|
意匠
|
商標
特許ウォッチ
Twitter
他の特許を見る
10個以上の画像は省略されています。
公開番号
2025146474
公報種別
公開特許公報(A)
公開日
2025-10-03
出願番号
2024047279
出願日
2024-03-22
発明の名称
ダンプトラック
出願人
日立建機株式会社
代理人
弁理士法人武和国際特許事務所
主分類
B60P
1/16 20060101AFI20250926BHJP(車両一般)
要約
【課題】ファンモータにキャビテーションが発生するのを防止しつつ、荷台の倒伏時間を短縮可能なダンプトラックを提供する。
【解決手段】ダンプトラックは、ホイストシリンダに荷台を起立させる向きの作動油を供給する荷台上げ位置、ホイストシリンダに荷台を倒伏させる向きの作動油を供給する荷台下げ位置、及び荷台が自重で倒伏するときにホイストシリンダから排出される作動油を還流ラインを通じて作動油タンクに還流させるフロート位置に切り替え可能なコントロールバルブと、還流ラインの背圧保持弁より作動油の流れの上流側及び下流側を接続するバイパスラインを、開放する開放位置及び閉塞する閉塞位置に切り替え可能な第1開閉弁と、荷台を自重で倒伏させるフロートダウン指示を受け付けた場合に、第1開閉弁を閉塞位置から開放位置に切り替えた後で、コントロールバルブをフロート位置に切り替えるコントローラとを備える。
【選択図】図5
特許請求の範囲
【請求項1】
車体と、
前記車体に起伏可能に支持された荷台と、
作動油が供給されて前記荷台を起伏させるホイストシリンダと、
供給ラインを通じて作動油が供給されて、冷却ファンを回転させるための駆動力を発生させるファンモータと、
前記ホイストシリンダ及び前記ファンモータに作動油を供給する油圧回路と、
前記油圧回路を制御するコントローラとを備えるダンプトラックにおいて、
前記油圧回路は、
作動油を貯留する作動油タンクと、
前記作動油タンクに貯留された作動油を吐出する油圧ポンプと、
前記ホイストシリンダに前記荷台を起立させる向きの作動油を供給する荷台上げ位置、前記ホイストシリンダに前記荷台を倒伏させる向きの作動油を供給する荷台下げ位置、及び前記荷台が自重で倒伏するときに前記ホイストシリンダから排出される作動油を還流ラインを通じて前記作動油タンクに還流させるフロート位置に切り替え可能なコントロールバルブと、
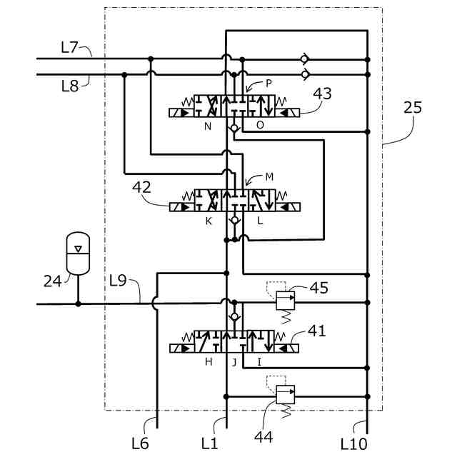
前記油圧ポンプから吐出された作動油を、前記供給ラインを通じて前記ファンモータに供給するファン位置、及び前記ホイストシリンダに供給するホイスト位置に切り替え可能な切換弁と、
前記還流ラインに配置されて、前記ホイストシリンダから排出された作動油の油圧を、前記ファンモータを油圧モータとして機能させるのに必要な最低圧力より高い圧力に保持する背圧保持弁と、
前記還流ラインの前記背圧保持弁より作動油の流れの上流側から分岐して前記供給ラインに至る第1メイクアップラインに配置されて、前記還流ラインから前記供給ラインへの作動油の流れを許容し、前記供給ラインから前記還流ラインへの作動油の流れを遮断するチェック弁と、
前記還流ラインの前記背圧保持弁より作動油の流れの上流側及び下流側を接続するバイパスラインを、開放する開放位置及び閉塞する閉塞位置に切り替え可能な第1開閉弁とを備え、
前記コントローラは、前記荷台を自重で倒伏させるフロートダウン指示を受け付けた場合に、前記第1開閉弁を前記閉塞位置から前記開放位置に切り替えた後で、前記コントロールバルブを前記フロート位置に切り替えることを特徴とするダンプトラック。
続きを表示(約 1,200 文字)
【請求項2】
請求項1に記載のダンプトラックにおいて、
前記油圧ポンプは、
前記ホイストシリンダに供給される作動油を吐出する第1油圧ポンプと、
前記ホイストシリンダまたは前記ファンモータに供給される作動油を吐出する第2油圧ポンプとを備え、
前記切換弁は、前記第2油圧ポンプから吐出された作動油の供給先を切り替え、
前記油圧回路は、
前記第1油圧ポンプから吐出された作動油を蓄圧するアキュームレータと、
前記アキュームレータから前記供給ラインに至る第2メイクアップラインを、開放して前記アキュームレータから前記ファンモータに作動油を供給する開放位置、及び閉塞する閉塞位置に切り替え可能な第2開閉弁とを備え、
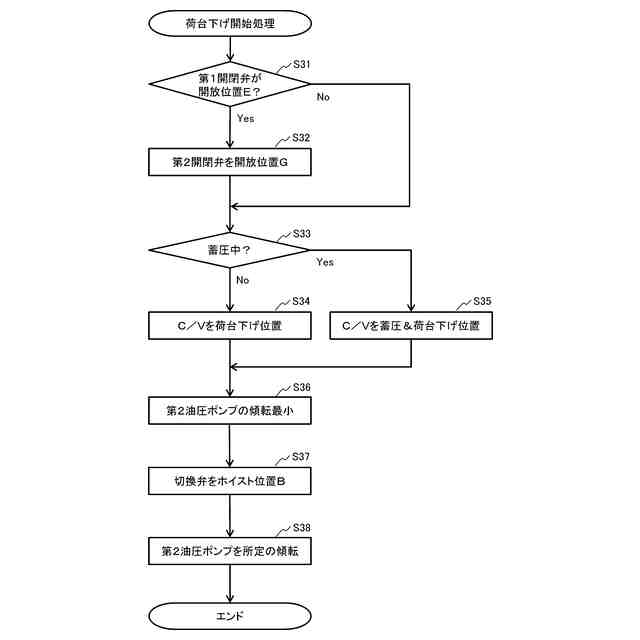
前記コントローラは、前記荷台が自重で倒伏している間に、前記ホイストシリンダに作動油を供給して前記荷台を倒伏させる荷台下げ指示を受け付けた場合に、
前記第2開閉弁を前記閉塞位置から前記開放位置に切り替え、
前記第2油圧ポンプの傾転を最小にし、
前記切換弁を前記ファン位置から前記ホイスト位置に切り替え、
前記コントロールバルブを前記フロート位置から前記荷台下げ位置に切り替え、
前記第2油圧ポンプの傾転を所定値まで増加させることを特徴とするダンプトラック。
【請求項3】
請求項2に記載のダンプトラックにおいて、
前記コントローラは、前記荷台下げ指示が終了した場合に、
前記第2油圧ポンプの傾転を最小にし、
前記コントロールバルブを前記荷台下げ位置から前記フロート位置に切り替え、
前記切換弁を前記ホイスト位置から前記ファン位置に切り替え、
前記第2開閉弁を前記開放位置から前記閉塞位置に切り替え、
前記第2油圧ポンプの傾転を所定値まで増加させることを特徴とするダンプトラック。
【請求項4】
請求項1に記載のダンプトラックにおいて、
前記コントローラは、前記荷台が自重で倒伏して前記車体に着座した場合に、前記第1開閉弁を前記開放位置から前記閉塞位置に切り替えることを特徴とするダンプトラック。
【請求項5】
請求項1に記載のダンプトラックにおいて、
前記コントローラは、前記フロートダウン指示を受け付けた場合において、
前記荷台に積載された積荷の積荷重量が閾値未満の場合に、前記第1開閉弁を前記閉塞位置から前記開放位置に切り替えた後で、前記コントロールバルブを前記フロート位置に切り替え、
前記積荷重量が前記閾値以上の場合に、前記第1開閉弁を前記閉塞位置にしたままで、前記コントロールバルブを前記フロート位置に切り替えることを特徴とするダンプトラック。
発明の詳細な説明
【技術分野】
【0001】
本発明は、ホイストシリンダ及びファンモータで油圧ポンプを共有するダンプトラックに関する。
続きを表示(約 2,300 文字)
【背景技術】
【0002】
従来より、車体と、車体に起伏可能に支持された荷台と、作動油が供給されて荷台を起伏させるホイストシリンダと、作動油が供給されて冷却ファンを回転させるための駆動力を発生させるファンモータとを備えるダンプトラックが知られている。
【0003】
このようなダンプトラックの一例として、特許文献1には、ホイストシリンダ及びファンモータを駆動するための圧油を吐出する油圧ポンプを共有する構成が開示されている。より詳細には、特許文献1のダンプトラックは、油圧ポンプから吐出される作動油を、ホイストシリンダに供給する状態と、ファンモータに供給する状態とに切り替え可能な切換弁を備える。
【先行技術文献】
【特許文献】
【0004】
特許第7253672号公報
【発明の概要】
【発明が解決しようとする課題】
【0005】
しかしながら、特許文献1のダンプトラックでは、荷台を起伏させるために切換弁をファンモータ側からホイストシリンダ側に切り替える際に、ファンモータの入口が負圧になってキャビテーションが発生することを防止する必要がある。そのため、ポンプ吐出流量をゆっくりと減少させ、ファンモータの回転速度を十分に落としてから、切換弁の切り替えを行っている。その結果、荷台の起伏に時間を要してしまい、顧客現場のサイクルタイムを悪化させる恐れがある。したがって、ファンモータのキャビテーションを防止し、且つ、荷台の起伏時間(特に、倒伏時間)を短縮することが課題である。
【0006】
本発明は、上記した実状に鑑みてなされたものであり、その目的は、ファンモータにキャビテーションが発生するのを防止しつつ、荷台の倒伏時間を短縮可能なダンプトラックを提供することにある。
【課題を解決するための手段】
【0007】
上記目的を達成するために、本発明は、車体と、前記車体に起伏可能に支持された荷台と、作動油が供給されて前記荷台を起伏させるホイストシリンダと、供給ラインを通じて作動油が供給されて、冷却ファンを回転させるための駆動力を発生させるファンモータと、前記ホイストシリンダ及び前記ファンモータに作動油を供給する油圧回路と、前記油圧回路を制御するコントローラとを備えるダンプトラックにおいて、
前記油圧回路は、作動油を貯留する作動油タンクと、前記作動油タンクに貯留された作動油を吐出する油圧ポンプと、前記ホイストシリンダに前記荷台を起立させる向きの作動油を供給する荷台上げ位置、前記ホイストシリンダに前記荷台を倒伏させる向きの作動油を供給する荷台下げ位置、及び前記荷台が自重で倒伏するときに前記ホイストシリンダから排出される作動油を還流ラインを通じて前記作動油タンクに還流させるフロート位置に切り替え可能なコントロールバルブと、前記油圧ポンプから吐出された作動油を、前記供給ラインを通じて前記ファンモータに供給するファン位置、及び前記ホイストシリンダに供給するホイスト位置に切り替え可能な切換弁と、
前記還流ラインに配置されて、前記ホイストシリンダから排出された作動油の油圧を、前記ファンモータを油圧モータとして機能させるのに必要な最低圧力より高い圧力に保持する背圧保持弁と、
前記還流ラインの前記背圧保持弁より作動油の流れの上流側から分岐して前記供給ラインに至る第1メイクアップラインに配置されて、前記還流ラインから前記供給ラインへの作動油の流れを許容し、前記供給ラインから前記還流ラインへの作動油の流れを遮断するチェック弁と、
前記還流ラインの前記背圧保持弁より作動油の流れの上流側及び下流側を接続するバイパスラインを、開放する開放位置及び閉塞する閉塞位置に切り替え可能な第1開閉弁とを備え、前記コントローラは、前記荷台を自重で倒伏させるフロートダウン指示を受け付けた場合に、前記第1開閉弁を前記閉塞位置から前記開放位置に切り替えた後で、前記コントロールバルブを前記フロート位置に切り替えることを特徴とする。
【発明の効果】
【0008】
本発明によれば、ファンモータにキャビテーションが発生するのを防止しつつ、荷台の倒伏時間を短縮することができる。なお、上記した以外の課題、構成及び効果は、以下の実施形態の説明により明らかにされる。
【図面の簡単な説明】
【0009】
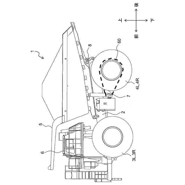
本実施形態に係るダンプトラックの側面図である。
ダンプトラックに搭載される駆動回路の回路図である。
コントロールバルブを構成する油圧部品の配置図である。
ダンプトラックのハードウェア構成図である。
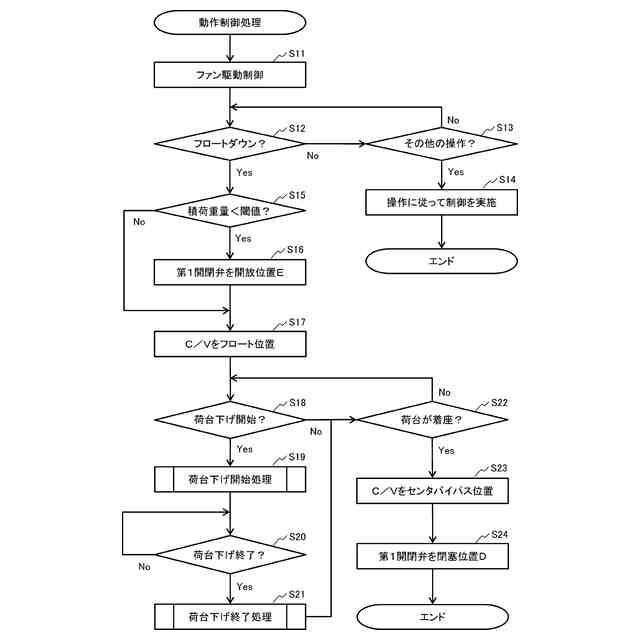
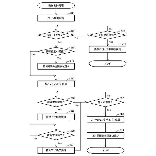
動作制御処理のフローチャートである。
荷台下げ開始処理のフローチャートである。
荷台下げ終了処理のフローチャートである。
従来の油圧回路におけるフロートダウンのタイミングチャートである。
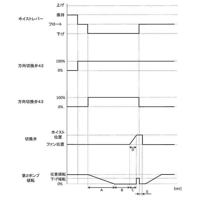
本実施形態の油圧回路におけるフロートダウンのタイミングチャートである。
【発明を実施するための形態】
【0010】
本発明に係るダンプトラックの実施形態について、図面を用いて説明する。図1は、本実施形態に係るダンプトラック1の側面図である。なお、本明細書中の前後左右は、特に断らない限り、ダンプトラック1に搭乗して操作するオペレータの視点を基準としている。
(【0011】以降は省略されています)
この特許をJ-PlatPat(特許庁公式サイト)で参照する
関連特許
日立建機株式会社
建設機械
1日前
日立建機株式会社
作業機械
1日前
日立建機株式会社
作業機械
2日前
日立建機株式会社
作業機械
2日前
日立建機株式会社
建設機械
1日前
日立建機株式会社
作業機械
1日前
日立建機株式会社
作業機械
1日前
日立建機株式会社
油圧機器
1日前
日立建機株式会社
作業機械
5日前
日立建機株式会社
建設機械
1日前
日立建機株式会社
作業車両
1日前
日立建機株式会社
作業機械
1日前
日立建機株式会社
動力伝達装置
1日前
日立建機株式会社
液冷式抵抗器
1日前
日立建機株式会社
電動式作業機械
1日前
日立建機株式会社
ダンプトラック
1日前
日立建機株式会社
水素供給システム
1日前
日立建機株式会社
減速機及び建設機械
1日前
日立建機株式会社
作業機械及び監視システム
1日前
日立建機株式会社
アキシャルピストン式液圧回転機
1日前
日立建機株式会社
作業機械および作業機械の制御方法
3日前
日立建機株式会社
作業機械の経路生成装置及び作業機械
1日前
日立建機株式会社
計測装置及びダンプトラックの走行装置
1日前
日立建機株式会社
満足度収集システム及び満足度収集サーバ
1日前
個人
タイヤレバー
2か月前
個人
前輪キャスター
1か月前
個人
上部一体型自動車
1日前
個人
ルーフ付きトライク
1か月前
個人
タイヤ脱落防止構造
1か月前
日本精機株式会社
表示装置
2か月前
日本精機株式会社
表示装置
2か月前
個人
マスタシリンダ
8日前
日本精機株式会社
表示装置
1か月前
日本精機株式会社
表示装置
2か月前
個人
車両通過構造物
2か月前
個人
乗合路線バスの客室装置
2か月前
続きを見る
他の特許を見る