TOP
|
特許
|
意匠
|
商標
特許ウォッチ
Twitter
他の特許を見る
10個以上の画像は省略されています。
公開番号
2025146466
公報種別
公開特許公報(A)
公開日
2025-10-03
出願番号
2024047270
出願日
2024-03-22
発明の名称
満足度収集システム及び満足度収集サーバ
出願人
日立建機株式会社
代理人
弁理士法人武和国際特許事務所
主分類
G06Q
10/20 20230101AFI20250926BHJP(計算;計数)
要約
【課題】作業機械のユーザの満足度を、適切なタイミングで収集可能な満足度収集システムを提供する。
【解決手段】満足度収集システムは、作業機械のユーザの満足度を収集する満足度収集サーバを備える。満足度収集サーバは、状態検出センサで検出した車体の状態を示す車体情報を、所定の時間間隔で作業機械から繰り返し取得し、車体の異常を示す車体情報を同一の作業機械から連続してK(Kは2以上の整数)回取得した場合に、車体情報で示される車体の状態に関するアンケートを、当該作業機械のユーザに対して発行する。
【選択図】図6
特許請求の範囲
【請求項1】
作業機械のユーザの満足度を収集する満足度収集サーバを備える満足度収集システムにおいて、
前記満足度収集サーバは、
状態検出センサで検出した車体の状態を示す車体情報を、所定の時間間隔で前記作業機械から繰り返し取得し、
車体の異常を示す前記車体情報を同一の前記作業機械から連続してK(Kは2以上の整数)回取得した場合に、前記車体情報で示される車体の状態に関するアンケートを、当該作業機械のユーザに対して発行することを特徴とする満足度収集システム。
続きを表示(約 1,500 文字)
【請求項2】
請求項1に記載の満足度収集システムにおいて、
前記満足度収集サーバは、
車体の異常が解消したことを示す前記車体情報を前記作業機械から取得した場合に、当該作業機械に対して車体の異常を解消する正規サービスを実施したか否かを判定し、
前記正規サービスを実施していないと判定した場合に、当該作業機械のユーザに対して前記アンケートを発行することを特徴とする満足度収集システム。
【請求項3】
請求項2に記載の満足度収集システムにおいて、
前記満足度収集サーバは、
前記作業機械のユーザに前記アンケートを直近に発行してから、当該作業機械に対する前記正規サービスをL(Lは2以上の整数)回実施したと判定した場合に、当該作業機械のユーザに対して前記アンケートを発行することを特徴とする満足度収集システム。
【請求項4】
請求項1に記載の満足度収集システムにおいて、
前記アンケートは、複数の設問を含み、
前記満足度収集サーバは、過去の前記アンケート内の複数の前記設問それぞれへの回答結果に基づいて、新たに発行する前記アンケート内での複数の前記設問の順序を入れ替えることを特徴とする満足度収集システム。
【請求項5】
請求項4に記載の満足度収集システムにおいて、
前記設問は、満足度をM(Mは3以上の整数)段階で回答するものであり、
前記満足度収集サーバは、過去の前記アンケートへの回答で満足度がM段階の中央から離れた前記設問ほど、新たに発行する前記アンケート内で上位に配置することを特徴とする満足度収集システム。
【請求項6】
請求項1に記載の満足度収集システムにおいて、
前記アンケートは、複数の設問を含み、
前記満足度収集サーバは、過去の前記アンケート内での前記設問への回答数に基づいて、新たに発行する前記アンケート内の前記設問の数を調整することを特徴とする満足度収集システム。
【請求項7】
請求項1に記載の満足度収集システムにおいて、
前記アンケートは、大項目と、前記大項目に関連する小項目とを含み、
前記満足度収集サーバは、
過去の前記アンケートへの回答結果に基づいて、前記アンケートに対するユーザの回答意欲を推定し、
回答意欲があると推定した場合に、新たに発行する前記アンケートに前記大項目及び前記小項目の両方を含め、
回答意欲がないと推定した場合に、新たに発行する前記アンケートに前記大項目のみを含めることを特徴とする満足度収集システム。
【請求項8】
請求項7に記載の満足度収集システムにおいて、
前記満足度収集サーバは、過去の前記アンケート内のコメント欄にコメントが記入されている場合、過去の前記アンケートの回答期間が閾値期間未満の場合、または過去の前記アンケート内の設問への回答数が閾値数以上の場合に、回答意欲があると推定することを特徴とする満足度収集システム。
【請求項9】
作業機械のユーザの満足度を収集する満足度収集サーバにおいて、
車体の状態を示す車体情報を、所定の時間間隔で前記作業機械から繰り返し取得し、
車体の異常を示す前記車体情報を同一の前記作業機械から連続してK(Kは2以上の整数)回取得した場合に、前記車体情報で示される車体の異常に関するアンケートを、当該作業機械のユーザに対して発行することを特徴とする満足度収集サーバ。
発明の詳細な説明
【技術分野】
【0001】
本発明は、満足度収集システム及び満足度収集サーバに関する。
続きを表示(約 1,600 文字)
【背景技術】
【0002】
従来より、車体の異常(例えば、作動油の劣化、フィルタの劣化)を検出して、検出した異常をサーバに通知する作業機械が知られている。また、サーバの設置事業者(例えば、作業機械のメーカ)は、車体の異常を解消するサービスを実施するサービス員を、異常が発生した作業機械の作業場所に派遣する。
【0003】
正規サービス員による正規サービスは、作業機械の寿命を延伸するうえで非常に重要である。そこで、正規サービスを継続して利用してもらうために、例えば特許文献1、2に開示されているように、正規サービスに対するユーザの満足度を収集する仕組みが求められている。
【先行技術文献】
【特許文献】
【0004】
特開2003-167971号公報
特開2018-005665号公報
【発明の概要】
【発明が解決しようとする課題】
【0005】
しかしながら、作業機械を使用する業界では、特許文献1、2のような仕組みが広く認知されているとは言い難い。そのため、画一的なタイミングでアンケートを発行するだけでは、作業機械のユーザの満足度を適切に収集するのは難しい。
【0006】
本発明は、上記した実状に鑑みてなされたものであり、その目的は、作業機械のユーザの満足度を、適切なタイミングで収集可能な満足度収集システムを提供することにある。
【課題を解決するための手段】
【0007】
上記目的を達成するために、本発明は、作業機械のユーザの満足度を収集する満足度収集サーバを備える満足度収集システムにおいて、前記満足度収集サーバは、状態検出センサで検出した車体の状態を示す車体情報を、所定の時間間隔で前記作業機械から繰り返し取得し、車体の異常を示す前記車体情報を同一の前記作業機械から連続してK(Kは2以上の整数)回取得した場合に、前記車体情報で示される車体の状態に関するアンケートを、当該作業機械のユーザに対して発行することを特徴とする。
【発明の効果】
【0008】
本発明によれば、作業機械のユーザの満足度を、適切なタイミングで収集可能な満足度収集システムを得ることができる。なお、上記した以外の課題、構成及び効果は、以下の実施形態の説明により明らかにされる。
【図面の簡単な説明】
【0009】
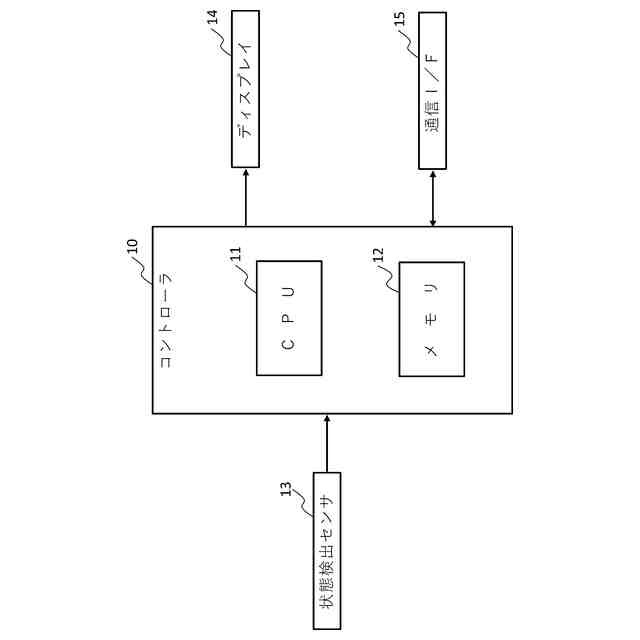
満足度収集システムの概念図である。
作業機械のハードウェア構成図である。
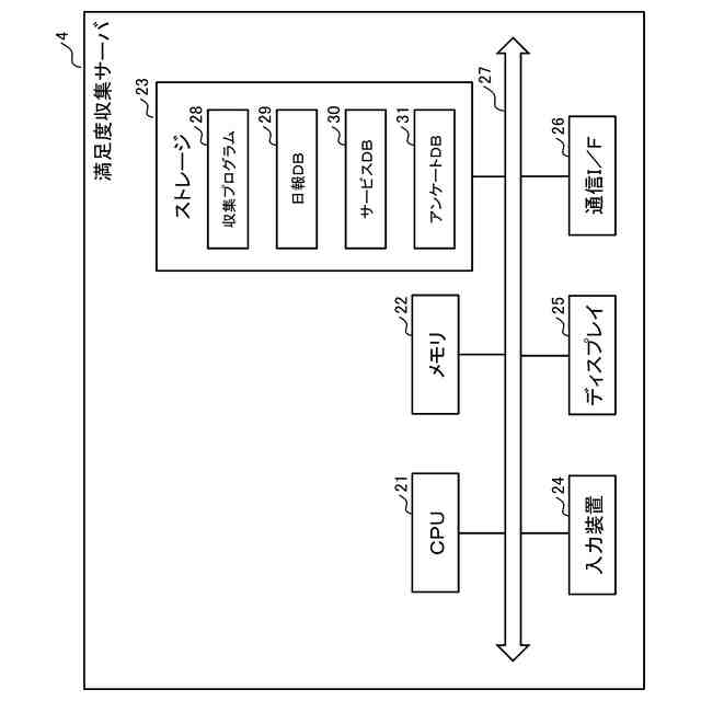
満足度収集サーバのハードウェア構成図である。
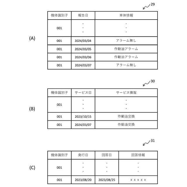
日報DB、サービスDB、アンケートDBのデータ構造を示す図である。
日報収集処理のフローチャートである。
アンケート発行処理のフローチャートである。
アンケートに含まれる設問の全体像である。
アンケート画面の画面例である。
アンケート生成処理のフローチャートである。
過去のアンケートの回答結果に基づいて、新たなアンケートの設問数及び順序を調整した例を示す図である。
【発明を実施するための形態】
【0010】
[満足度収集システム100の概要]
図1は、満足度収集システム100の概念図である。満足度収集システム100は、複数の作業機械1、2、3のそれぞれのユーザの満足度を収集するシステムである。満足度収集システム100は、例えば、満足度収集サーバ4を少なくとも備える。また、満足度収集システム100は、満足度収集サーバ4に加えて、複数の作業機械1、2、3と、ユーザ端末5とをさらに備えてもよい。なお、作業機械1~3の数は3台に限定されない。また、ユーザ端末5は、作業機械1~3に対して共通でもよいし、作業機械1~3それぞれに対応付けて複数あってもよい。
(【0011】以降は省略されています)
この特許をJ-PlatPat(特許庁公式サイト)で参照する
関連特許
日立建機株式会社
作業機械
今日
日立建機株式会社
作業車両
13日前
日立建機株式会社
油圧機器
8日前
日立建機株式会社
作業機械
9日前
日立建機株式会社
作業機械
9日前
日立建機株式会社
作業車両
9日前
日立建機株式会社
作業車両
9日前
日立建機株式会社
建設機械
9日前
日立建機株式会社
建設機械
9日前
日立建機株式会社
建設機械
13日前
日立建機株式会社
油圧機器
13日前
日立建機株式会社
作業機械
13日前
日立建機株式会社
建設機械
13日前
日立建機株式会社
作業機械
7日前
日立建機株式会社
作業機械
13日前
日立建機株式会社
作業機械
13日前
日立建機株式会社
作業機械
13日前
日立建機株式会社
建設機械
13日前
日立建機株式会社
作業機械
14日前
日立建機株式会社
作業機械
14日前
日立建機株式会社
作業機械
17日前
日立建機株式会社
建設機械
17日前
日立建機株式会社
作業機械
21日前
日立建機株式会社
作業機械
27日前
日立建機株式会社
作業機械
1か月前
日立建機株式会社
作業機械
7日前
日立建機株式会社
作業機械
9日前
日立建機株式会社
作業車両
7日前
日立建機株式会社
作業車両
6日前
日立建機株式会社
作業機械
6日前
日立建機株式会社
作業機械
6日前
日立建機株式会社
作業機械
6日前
日立建機株式会社
建設機械
7日前
日立建機株式会社
建設機械
7日前
日立建機株式会社
作業機械
6日前
日立建機株式会社
転圧機械
7日前
続きを見る
他の特許を見る