TOP
|
特許
|
意匠
|
商標
特許ウォッチ
Twitter
他の特許を見る
公開番号
2025146447
公報種別
公開特許公報(A)
公開日
2025-10-03
出願番号
2024047220
出願日
2024-03-22
発明の名称
鉄道車両の連結棒の折損検知方法
出願人
日本製鉄株式会社
代理人
アセンド弁理士法人
主分類
B61K
13/00 20060101AFI20250926BHJP(鉄道)
要約
【課題】連結棒の折損を高精度に検知することのできる、連結棒の折損検知方法を提供する。
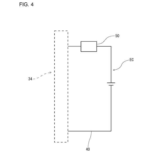
【解決手段】折損検知方法は、鉄道車両(10)の連結棒(34)の折損検知方法である。鉄道車両(10)は、台車(20)と、車体(11)と、空気ばね(12)と、高さ調整装置(30)と、配線(40)とを備える。高さ調整装置(30)は、高さ調整弁(31)と、回転軸(32)と、レバー(33)と、連結棒(34)とを含む。レバー(33)は、回転軸(32)の一端に回動可能に接続される。連結棒(34)は、レバー(33)と台車(20)とを接続する。配線(40)は、連結棒(34)に接続され、電気回路を形成する。折損検知方法は、検知工程と、判定工程と、を備える。検知工程では、配線(40)に電気信号が流れているか否かを検知する。判定工程では、配線(40)に電気信号が流れていない場合、連結棒(34)が折損していると判定する。
【選択図】図1
特許請求の範囲
【請求項1】
台車と、車体と、前記台車と前記車体との間に配置される空気ばねと、前記空気ばねに対応して配置される高さ調整装置であって、高さ調整弁と、回転軸と、前記回転軸の一端に前記台車と前記車体との上下方向の相対変位に応じて回動可能に接続されるレバーと、前記レバーと前記台車とを接続する連結棒と、を含む前記高さ調整装置と、前記連結棒に接続され、電気回路を形成する配線と、を備える鉄道車両の連結棒の折損検知方法であって、
前記配線に電気信号が流れているか否かを検知する検知工程と、
前記配線に電気信号が流れていない場合、前記連結棒が折損していると判定する判定工程と、を備える、折損検知方法。
続きを表示(約 310 文字)
【請求項2】
請求項1に記載の折損検知方法であって、
前記連結棒は、中空であり、
前記配線は、前記連結棒の内周面に接合される、折損検知方法。
【請求項3】
請求項1に記載の折損検知方法であって、
前記配線は、前記連結棒の外周面に接合される、折損検知方法。
【請求項4】
請求項1に記載の折損検知方法であって、
前記配線は、前記連結棒に電気的に接続される、折損検知方法。
【請求項5】
請求項1から4のいずれか1項に記載の折損検知方法であって、
前記配線は、前記連結棒の一方の端部及び他方の端部に接続される、折損検知方法。
発明の詳細な説明
【技術分野】
【0001】
本開示は、鉄道車両の連結棒の折損検知方法に関する。
続きを表示(約 1,700 文字)
【背景技術】
【0002】
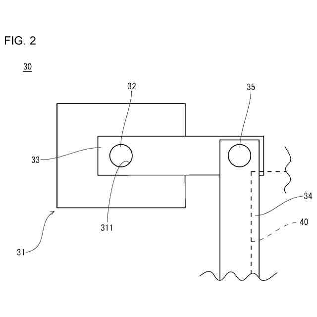
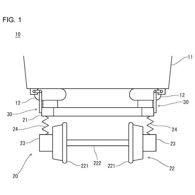
鉄道車両は、台車と、台車上に支持された車体とを備える。通常、鉄道車両の台車には、車体を支持するとともに車体の振動を緩和するため、左右に空気ばねが設けられている。空気ばねは、車体と台車の間に配置されている。車体が傾斜すると、それに応じて空気ばねの高さが変化する。空気ばねの高さは、高さ調整装置によって一定となるように制御されている。
【0003】
高さ調整装置は、左右の空気ばねに対応して台車の左右に配置される。高さ調整装置は、高さ調整弁と、回転軸と、レバーと、連結棒とを含む。高さ調整弁は、典型的には車体に固定される。高さ調整弁には貫通孔が形成されており、回転軸は貫通孔に挿通される。レバーは、回転軸の一端に接続される。レバーは、台車と車体との上下方向の相対変位に応じて回動可能である。高さ調整弁は、レバーの回転角に応じて空気ばねに空気を供給し、又は空気ばね内から空気を排出する。連結棒は、例えば上下方向に延び、レバーの回転軸とは反対側の端部と台車とを接続する。
【0004】
ここで、例えば高さ調整装置を長期にわたって使用した場合、あるいは地震等によって鉄道車両が非常に大きく揺れた場合、高さ調整装置の連結棒が折損する恐れがある。連結棒が折損すると、レバーの回転角の調節ができなくなり、レバーが一方向に回転した状態が維持される。すると、空気ばね内の空気が排気され続け、空気ばねがパンク状態になる場合がある。パンク状態とは、空気ばね内の空気が空になり、空気ばねが最小高さを有する状態である。空気ばねがパンク状態になると、鉄道車両の走行が不安定になる。そのため、連結棒の折損を早期に検知することが求められる。
【0005】
連結棒の折損を検知する技術は、例えば特許文献1に記載されている。特許文献1によれば、連結棒が折損している場合、連結棒が正常な場合と比較して、レバーの回転角速度の変動が小さくなる。そこで、特許文献1では、以下の手順で連結棒の折損を検知する。鉄道車両の走行中に、レバーの回転角速度の情報を入手する。レバーの回転角速度を用いて表される指標と所定のしきい値とを比較する。この指標がしきい値未満である場合、連結棒が折損していると判定する。
【先行技術文献】
【特許文献】
【0006】
特許第7040322号公報
【発明の概要】
【発明が解決しようとする課題】
【0007】
特許文献1に記載の検知方法では、連結棒の折損を検知するためには、レバーの回転角速度を正確に測定する必要がある。しかしながら、回転角速度の測定において誤差が生じると、折損検知の精度が低下してしまうと考えられる。
【0008】
本開示の課題は、連結棒の折損を高精度に検知することのできる、連結棒の折損検知方法を提供することである。
【課題を解決するための手段】
【0009】
本開示に係る折損検知方法は、鉄道車両の連結棒の折損検知方法である。鉄道車両は、台車と、車体と、空気ばねと、高さ調整装置と、配線と、を備える。空気ばねは、台車と車体との間に配置される。高さ調整装置は、空気ばねに対応して配置される。高さ調整装置は、高さ調整弁と、回転軸と、レバーと、連結棒とを含む。レバーは、回転軸の一端に台車と車体との上下方向の相対変位に応じて回動可能に接続される。連結棒は、レバーと台車とを接続する。配線は、連結棒に接続される。配線は、電気回路を形成する。折損検知方法は、検知工程と、判定工程と、を備える。検知工程では、配線に電気信号が流れているか否かを検知する。判定工程では、配線に電気信号が流れていない場合、連結棒が折損していると判定する。
【発明の効果】
【0010】
本開示に係る連結棒の折損検知方法によれば、連結棒の折損を高精度に検知することができる。
【図面の簡単な説明】
(【0011】以降は省略されています)
この特許をJ-PlatPat(特許庁公式サイト)で参照する
関連特許
日本製鉄株式会社
棒鋼
2日前
日本製鉄株式会社
棒鋼
2日前
日本製鉄株式会社
線材
1か月前
日本製鉄株式会社
鋼部品
2日前
日本製鉄株式会社
溶接継手
1か月前
日本製鉄株式会社
溶接継手
8日前
日本製鉄株式会社
溶鉄の製造方法
24日前
日本製鉄株式会社
原油油槽用鋼材
1か月前
日本製鉄株式会社
機械構造用部品
3日前
日本製鉄株式会社
溶鉄の製造方法
24日前
日本製鉄株式会社
焼結鉱の製造方法
15日前
日本製鉄株式会社
鉄道車両用の車軸
1か月前
日本製鉄株式会社
鉄鉱石の選別方法
1か月前
日本製鉄株式会社
焼結鉱の製造方法
15日前
日本製鉄株式会社
鉄鉱石の選別方法
1か月前
日本製鉄株式会社
鋼の連続鋳造方法
2日前
日本製鉄株式会社
鉄道車両用の台車枠
1か月前
日本製鉄株式会社
LF装置の操業方法
15日前
日本製鉄株式会社
車両用センターピラー
16日前
日本製鉄株式会社
腐食モニタリング装置
29日前
日本製鉄株式会社
仮設橋による施工方法
2日前
日本製鉄株式会社
車両用フロントピラー
16日前
日本製鉄株式会社
分析装置および分析方法
23日前
日本製鉄株式会社
分離システム及び分離方法
29日前
日本製鉄株式会社
分離システム及び分離方法
29日前
日本製鉄株式会社
コークスの粉化量予測方法
24日前
日本製鉄株式会社
内張補助装置及び施工方法
2日前
日本製鉄株式会社
成形体の曲げ性の評価方法
15日前
日本製鉄株式会社
電気炉による溶鋼の製造方法
29日前
日本製鉄株式会社
鋼の連続鋳造鋳片の製造方法
29日前
日本製鉄株式会社
ワカメ藻体及びその育成方法
1か月前
日本製鉄株式会社
鋼の連続鋳造鋳片の冷却方法
29日前
日本製鉄株式会社
欠陥検査装置及び欠陥検査方法
15日前
日本製鉄株式会社
オーステナイト系ステンレス鋼材
18日前
日本製鉄株式会社
不活性ガスの遡上を抑制する方法
10日前
日本製鉄株式会社
超音波探傷装置及び超音波探傷方法
15日前
続きを見る
他の特許を見る