TOP
|
特許
|
意匠
|
商標
特許ウォッチ
Twitter
他の特許を見る
公開番号
2025146279
公報種別
公開特許公報(A)
公開日
2025-10-03
出願番号
2024046962
出願日
2024-03-22
発明の名称
水素供給システム
出願人
日立建機株式会社
代理人
弁理士法人サンネクスト国際特許事務所
主分類
F17C
5/00 20060101AFI20250926BHJP(ガスまたは液体の貯蔵または分配)
要約
【課題】様々な場所で作業機械への水素の供給を可能にすると共に、水素の供給作業による作業効率の低下を抑制することができる水素供給システムを提供することができる。
【解決手段】燃料として水素を使用し、水素により駆動する建設機械2と、水素を高圧の状態で貯留する水素タンク(高圧)3を有する移動式の移動式水素ステーション1と、建設機械2と移動式水素ステーション1とを接続する水素供給配8と、を備え、移動式水素ステーション1は、水素タンク(高圧)3に貯留された水素を減圧させて減圧水素を生成すると共に、減圧水素を水素供給配管8を介して建設機械2に供給し、建設機械2は、移動式水素ステーション1から供給される減圧水素により駆動する、水素供給システム。
【選択図】図1
特許請求の範囲
【請求項1】
燃料として水素を使用し、水素により駆動する作業機械と、
水素を高圧の状態で貯留する水素タンクを有する移動式の水素供給装置と、
前記作業機械と前記水素供給装置とを接続する水素供給配管と、
を備え、
前記水素供給装置は、前記水素タンクに貯留された水素を減圧させて減圧水素を生成すると共に、前記減圧水素を前記水素供給配管を介して前記作業機械に供給し、
前記作業機械は、前記水素供給装置から供給される前記減圧水素により駆動する
水素供給システム。
続きを表示(約 490 文字)
【請求項2】
前記水素供給装置は、前記減圧水素を複数の前記作業機械に対して供給する請求項1に記載の水素供給システム。
【請求項3】
前記作業機械は、上部旋回体および下部走行体を有し、
前記上部旋回体または前記下部走行体には、ロータリジョイントが設けられており、
前記水素供給配管は前記ロータリジョイントに接続されており、
前記水素供給装置から供給される前記減圧水素は、前記ロータリジョイントを介して前記作業機械に供給される請求項1に記載の水素供給システム。
【請求項4】
前記作業機械には、動力源となる燃料電池が設けられており、
前記作業機械は、前記水素供給装置により供給された前記減圧水素を貯留する貯留タンクを有し、前記水素供給装置から供給された前記減圧水素を、前記燃料電池に供給させるとともに前記貯留タンクに供給する請求項1に記載の水素供給システム。
【請求項5】
前記水素供給装置は、水素を搭載するコンテナ部と、前記コンテナ部を牽引する牽引部とに分かれる請求項1に記載の水素供給システム。
発明の詳細な説明
【技術分野】
【0001】
本発明は、水素供給システムに関する。本発明は、特に、燃料電池から供給される電力により動作する作業機械と、この作業機械に対し水素を供給する水素供給装置とを備える水素供給システムに関する。
続きを表示(約 2,400 文字)
【背景技術】
【0002】
近年、環境に配慮した発電機である燃料電池(FC;Fuel Cell)が、自動車および作業機械などに搭載することが試みられている。燃料電池を搭載した車両への水素供給方法としては、ガソリンスタンドのような定置式水素ステーションにて、高圧化した水素(70MPa~80MPa程度)を車両の水素タンクに供給することが一般的である。また、定置式水素ステーションのないエリアでも水素の供給ができるように、トレーラなどに水素タンクおよび水素供給装置を搭載した移動式水素ステーションも存在する。
【0003】
特許文献1には、水素供給配管から分岐して設けられた水素放出配管と、水素放出配管を閉塞するガス作動式安全弁と、ガス作動式安全弁を作動させる作動ガスをガス作動式安全弁に供給する作動ガス供給配管と、蓄圧器の周囲に1つ以上配置されて、作動ガス供給配管を閉塞する熱作動式安全弁とを備える移動式水素供給設備が開示されている。この移動式水素供給設備は、蓄圧器の周囲が特定の温度まで上昇したときに、熱作動式安全弁が作動ガス供給配管を開放し、作動ガス供給配管を介してガス作動式安全弁に作動ガスが供給されることによって、ガス作動式安全弁が水素放出配管を開放し、蓄圧器内の水素が水素放出配管を介して外部へと放出される。
【先行技術文献】
【特許文献】
【0004】
特開2022-97880号公報
【発明の概要】
【発明が解決しようとする課題】
【0005】
しかしながら、水素のような可燃性のあるガスの取扱いについては注意が必要で、様々な安全対策が必要となり、関係する法整備(高圧ガス保安法など)も進められている。そのため、様々な場所で水素を作業機械に供給するために、高圧の水素を用いず、例えば、高圧ガス保安法の規制を受けない1MPa未満の低圧の水素を用いた供給が望ましい。一方、供給された低圧の水素を水素タンクに貯留し、水素タンクに貯留した低圧の水素で作業機械を稼働させる場合、例えば、1日間作業するのに必要な水素の体積は非常に大きくなる。そのため、高頻度での水素供給が必要になり、作業効率が低下してしまう恐れがある。
【0006】
本発明は、様々な場所で作業機械への水素の供給を可能にすると共に、水素の供給作業による作業効率の低下を抑制することができる水素供給システムを提供することを目的とする。
【課題を解決するための手段】
【0007】
上記の課題を解決するため本発明は、燃料として水素を使用し、水素により駆動する作業機械と、水素を高圧の状態で貯留する水素タンクを有する移動式の水素供給装置と、前記作業機械と前記水素供給装置とを接続する水素供給配管と、を備え、前記水素供給装置は、前記水素タンクに貯留された水素を減圧させて減圧水素を生成すると共に、前記減圧水素を前記水素供給配管を介して前記作業機械に供給し、前記作業機械は、前記水素供給装置から供給される前記減圧水素により駆動する水素供給システムである。この場合、様々な場所で作業機械への水素の供給を可能にすると共に、水素の供給作業による作業効率の低下を抑制することができる。
【0008】
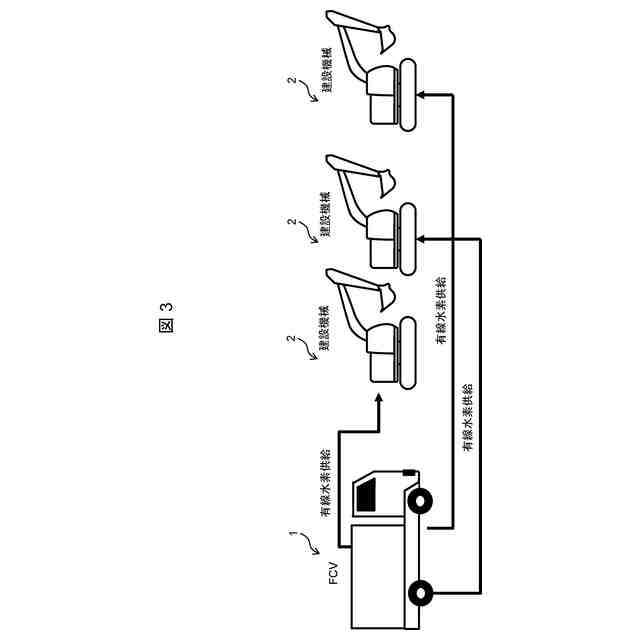
ここで、例えば、前記水素供給装置は、前記減圧水素を複数の前記作業機械に対して供給する。この場合、1台の移動式の水素供給装置により、複数の作業機械を同時に動作させることが可能になる。
さらに、例えば、前記作業機械は、上部旋回体および下部走行体を有し、前記上部旋回体または前記下部走行体には、ロータリジョイントが設けられており、前記水素供給配管は前記ロータリジョイントに接続されており、前記水素供給装置から供給される前記減圧水素は、前記ロータリジョイントを介して前記作業機械に供給される。この場合、上部旋回体と水素供給装置から作業機械へ水素を供給するための水素用配管とが絡まることを防止できる。
またさらに、例えば、前記作業機械には、動力源となる燃料電池が設けられており、前記作業機械は、前記水素供給装置により供給された前記減圧水素を貯留する貯留タンクを有し、前記水素供給装置から供給された減圧水素を、前記燃料電池に供給させるとともに前記貯留タンクに供給する。この場合、水素供給装置から水素が供給できなくなった場合でも、貯留手段から水素の供給が可能である。
また、例えば、水素供給装置は、水素を搭載するコンテナ部と、コンテナ部を牽引する牽引部とに分かれる。この場合、水素補充の際に、コンテナ部の付け替えのみで済むため、時間短縮/作業簡略化が実現できる。
【発明の効果】
【0009】
本発明によれば、様々な場所で作業機械への水素の供給を可能にすると共に、水素の供給作業による作業効率の低下を抑制することができる水素供給システムを提供することができる。
【図面の簡単な説明】
【0010】
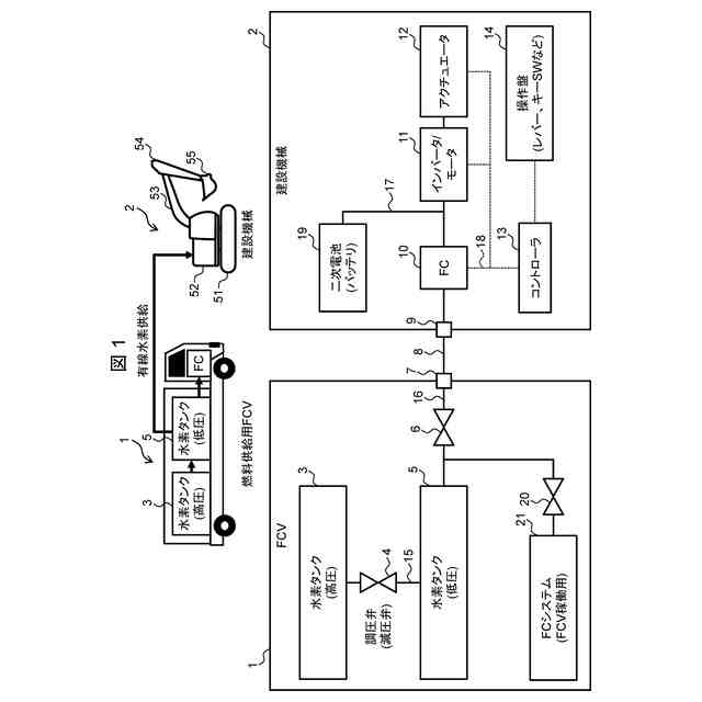
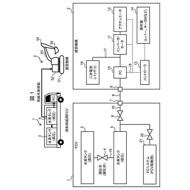
本実施形態における水素供給システムの第1の例について示した図である。
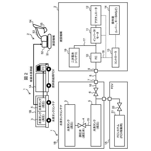
本実施形態における水素供給システムの第2の例について示した図である。
本実施形態における水素供給システムの第3の例について示した図である。
本実施形態における水素供給システムの第4の例について示した図である。
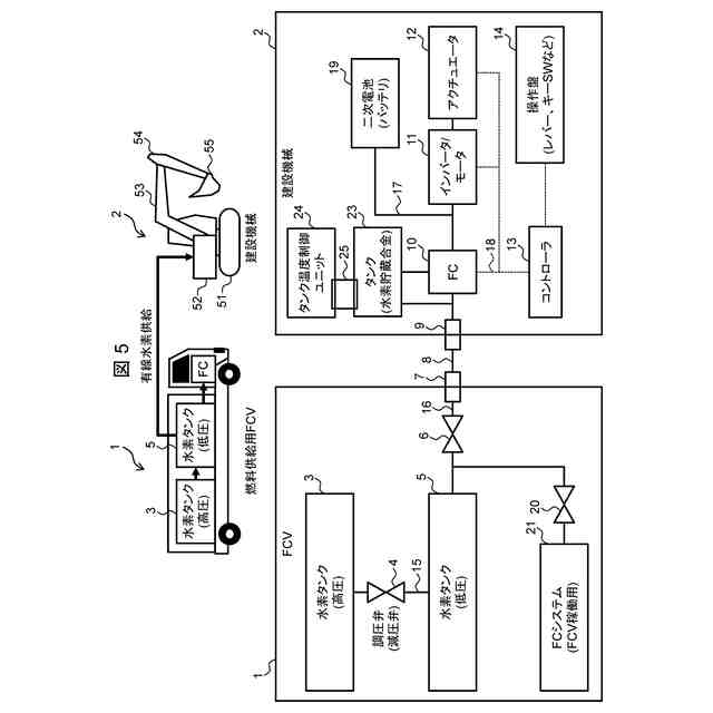
本実施形態における水素供給システムの第5の例について示した図である。
本実施形態における水素供給システムの第6の例について示した図である。
【発明を実施するための形態】
(【0011】以降は省略されています)
この特許をJ-PlatPat(特許庁公式サイト)で参照する
関連特許
日立建機株式会社
建設機械
今日
日立建機株式会社
作業機械
今日
日立建機株式会社
作業機械
8日前
日立建機株式会社
作業機械
22日前
日立建機株式会社
建設機械
4日前
日立建機株式会社
作業機械
4日前
日立建機株式会社
油圧機器
今日
日立建機株式会社
作業機械
1日前
日立建機株式会社
作業機械
1日前
日立建機株式会社
建設機械
今日
日立建機株式会社
作業機械
今日
日立建機株式会社
作業機械
14日前
日立建機株式会社
作業機械
1か月前
日立建機株式会社
建設機械
今日
日立建機株式会社
作業機械
今日
日立建機株式会社
作業機械
今日
日立建機株式会社
作業車両
今日
日立建機株式会社
油圧システム
4日前
日立建機株式会社
動力伝達装置
今日
日立建機株式会社
液冷式抵抗器
今日
日立建機株式会社
ダンプトラック
今日
日立建機株式会社
電動式作業機械
今日
日立建機株式会社
水素供給システム
今日
日立建機株式会社
部品需要予測装置
1か月前
日立建機株式会社
分別回収システム
4日前
日立建機株式会社
充電支援システム
1か月前
日立建機株式会社
建設機械の作業装置
14日前
日立建機株式会社
スプライン連結装置
4日前
日立建機株式会社
減速機及び建設機械
今日
日立建機株式会社
地形情報管理システム
4日前
日立建機株式会社
建設機械の下部走行体
7日前
日立建機株式会社
制御弁装置および作業機械
1か月前
日立建機株式会社
作業機械及び監視システム
今日
日立建機株式会社
作業機械の位置推定システム
14日前
日立建機株式会社
カウンタウエイト及び作業機械
1か月前
日立建機株式会社
アキシャルピストン式液圧回転機
今日
続きを見る
他の特許を見る