TOP
|
特許
|
意匠
|
商標
特許ウォッチ
Twitter
他の特許を見る
公開番号
2025146063
公報種別
公開特許公報(A)
公開日
2025-10-03
出願番号
2024046648
出願日
2024-03-22
発明の名称
バッテリモジュール
出願人
本田技研工業株式会社
代理人
弁理士法人桐朋
主分類
H01M
50/204 20210101AFI20250926BHJP(基本的電気素子)
要約
【解決手段】バッテリモジュール10は、バッテリセル18と熱交換器20とを有するセル積層体12と、セル積層体12の積層方向の両端部を積層方向の内方に押圧することによりセル積層体12を保持する保持機構17と、少なくとも熱交換器20がセル積層体12から脱落することを防止する脱落防止機構60と、を備える。
【選択図】図4
特許請求の範囲
【請求項1】
バッテリセルと、前記バッテリセルに積層された熱交換器と、を有するセル積層体と、
前記セル積層体の積層方向の両端部を前記積層方向の内方に押圧することにより前記セル積層体を保持する保持機構と、
少なくとも前記熱交換器が前記セル積層体から脱落することを防止する脱落防止機構と、を備える、バッテリモジュール。
続きを表示(約 1,300 文字)
【請求項2】
請求項1に記載のバッテリモジュールであって、
前記脱落防止機構は、
前記熱交換器のうち前記バッテリセルと前記積層方向に重ならない部分に形成された貫通孔と、
前記貫通孔に挿通されるとともに両端が保持されたシャフトと、を有し、
前記シャフトにより前記熱交換器の脱落を防止する、バッテリモジュール。
【請求項3】
請求項2に記載のバッテリモジュールであって、
前記シャフトは、前記積層方向に延在し、
前記熱交換器は、前記シャフトに対して前記積層方向に相対移動可能である、バッテリモジュール。
【請求項4】
請求項3に記載のバッテリモジュールであって、
前記保持機構は、前記セル積層体を押圧する押圧部を有し、
前記セル積層体が前記押圧部に対して押圧当初の位置である初期位置にある状態を維持しているとき、前記シャフトの外周面の全周が、前記貫通孔の内周面から離間している、バッテリモジュール。
【請求項5】
請求項3に記載のバッテリモジュールであって、
前記シャフトの外周面の少なくとも一部、又は、前記貫通孔の内周面の少なくとも一部に、摩擦係数を低減させる物質が設けられる、バッテリモジュール。
【請求項6】
請求項5に記載のバッテリモジュールであって、
前記シャフトの前記外周面の少なくとも上部、又は、前記貫通孔の前記内周面の少なくとも上部に、前記物質が設けられる、バッテリモジュール。
【請求項7】
請求項2に記載のバッテリモジュールであって、
前記貫通孔は、前記セル積層体の設置位置を決める際の位置決め用の孔である、バッテリモジュール。
【請求項8】
請求項2に記載のバッテリモジュールであって、
前記熱交換器において前記積層方向と直交する水平方向の両端部には一対のヘッダが設けられ、一対の前記ヘッダの各々に前記貫通孔が形成されている、バッテリモジュール。
【請求項9】
請求項2~8のいずれか1項に記載のバッテリモジュールであって、
前記熱交換器は、一方向に延在するウォータジャケットと、前記ウォータジャケットの長手方向の一端部である第1端部に設けられた給水ポート及び排水ポートと、前記ウォータジャケットの前記長手方向の他端部である第2端部に設けられたターンヘッダと、を有し、前記ターンヘッダは、前記ウォータジャケットの往き流路から冷却水を受け入れるとともに、前記冷却水を前記ウォータジャケットの戻り流路に流すものであり、
前記第1端部に設けられた前記貫通孔は、円形であり、
前記第2端部に設けられた前記貫通孔は、長軸が前記ウォータジャケットの前記長手方向に沿ったトラックフィールド形状である、バッテリモジュール。
【請求項10】
請求項9に記載のバッテリモジュールであって、
前記第1端部に設けられた前記貫通孔の半径と、前記第2端部に設けられた前記貫通孔の半円状の円弧部の半径とが、略同じである、バッテリモジュール。
発明の詳細な説明
【技術分野】
【0001】
本開示は、バッテリモジュールに関する。
続きを表示(約 1,700 文字)
【背景技術】
【0002】
特許文献1には、バッテリセルと熱交換器とが積層されることによって構成されたセル積層体を備えたバッテリモジュールが開示されている。バッテリモジュールは、セル積層体の両側から締付荷重を付与することによりセル積層体を保持する保持機構(バッテリフレーム)を更に備える。バッテリフレームにより、バッテリセル及び熱交換器の移動が阻止されている。
【先行技術文献】
【特許文献】
【0003】
特開2023-101130号公報
【発明の概要】
【発明が解決しようとする課題】
【0004】
セル積層体は、バッテリフレームから付与される押圧力による摩擦力のみで保持されている。このため、振動等の衝撃発生時に、摩擦力による保持力を超える力がセル積層体に作用した場合、積層方向と直交する方向への熱交換器又はバッテリセルの移動(位置ずれ)が発生し得る。この対策として、バッテリフレームによる押圧力(締付力)を向上させる方法がある。しかしながら、上記の対策では、バッテリセル及び熱交換器の剛性を向上させる必要がある。また、上記の対策では、バッテリセルの発熱又は劣化に伴う膨張が生じた際に、バッテリセルに作用する締付力の増大が懸念される。
【0005】
本発明は、上述した課題を解決することを目的とする。
【課題を解決するための手段】
【0006】
本開示の態様は、バッテリセルと、前記バッテリセルに積層された熱交換器と、を有するセル積層体と、前記セル積層体の積層方向の両端部を前記積層方向の内方に押圧することにより前記セル積層体を保持する保持機構と、少なくとも前記熱交換器が前記セル積層体から脱落することを防止する脱落防止機構と、を備える、バッテリモジュールである。
【発明の効果】
【0007】
本発明によれば、想定を超える衝撃がバッテリモジュールに加わった場合であっても、脱落防止機構によって熱交換器が支持される。これにより、熱交換器がセル積層体から脱落することが防止される。また、保持機構による締付力を大きくする必要がないので、バッテリセルの発熱又は劣化によりバッテリセルが膨張した際に、バッテリセルに作用する締付力が大きくなりすぎることを防止することができる。
【図面の簡単な説明】
【0008】
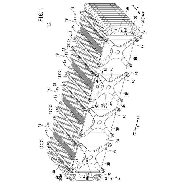
図1は、本発明の一実施形態に係るバッテリモジュールの斜視図である。
図2は、セル積層体の分解斜視図である。
図3は、図1のIII-III線に沿った断面模式図である。
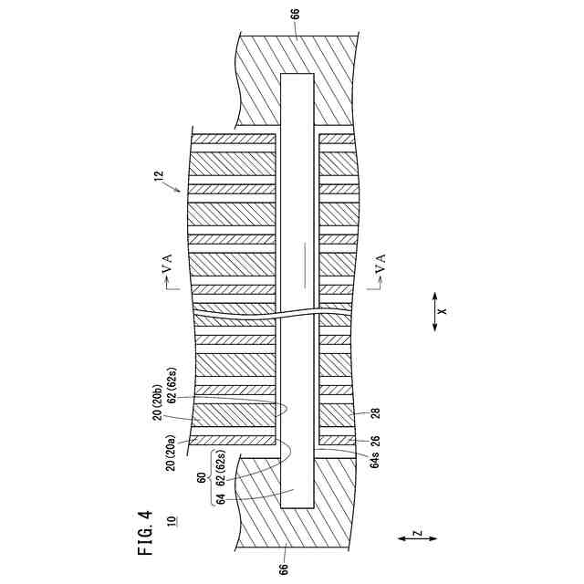
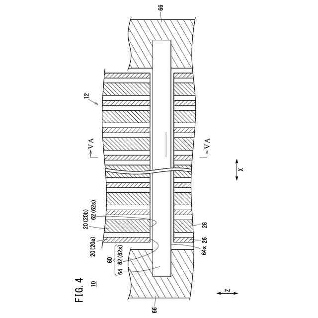
図4は、脱落防止機構の断面模式図である。
図5Aは、図4のVA-VA線に沿った断面模式図である。図5Bは、脱落防止機構によって熱交換器が支持された状態の断面模式図である。
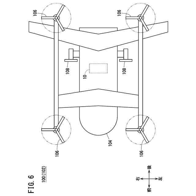
図6は、バッテリモジュールが搭載される航空機の模式図である。
【発明を実施するための形態】
【0009】
図6に示すように、本実施形態に係るバッテリモジュール10は、例えば、移動体100としての航空機102に搭載される。航空機102は、例えば、電動垂直離着陸機(eVTOL:Electric Vertical Take-Off and Landing aircraft)である。航空機102は、機体104と、複数(例えば、4つ)のVTOLロータ106と、複数(例えば、2つ)のクルーズロータ108とを含む。
【0010】
VTOLロータ106は、航空機102に対して上方向の推力を発生させる。クルーズロータ108は、航空機102に対して水平方向の推力を発生させる。バッテリモジュール10は、機体104の内部に配置される。バッテリモジュール10は、VTOLロータ106及びクルーズロータ108の各々を駆動させる図示しない電動モータに電力を供給する。移動体100としては、例えば、車両、船舶等であってもよい。なお、バッテリモジュール10は、移動体100に搭載された例に限定されない。
(【0011】以降は省略されています)
この特許をJ-PlatPat(特許庁公式サイト)で参照する
関連特許
個人
フレキシブル電気化学素子
8日前
ローム株式会社
半導体装置
15日前
日新イオン機器株式会社
イオン源
4日前
株式会社ユーシン
操作装置
8日前
ローム株式会社
半導体装置
10日前
株式会社GSユアサ
蓄電装置
15日前
オムロン株式会社
電磁継電器
9日前
太陽誘電株式会社
全固体電池
15日前
株式会社ホロン
冷陰極電子源
15日前
株式会社ホロン
冷陰極電子源
2日前
株式会社GSユアサ
蓄電設備
8日前
株式会社GSユアサ
蓄電設備
8日前
太陽誘電株式会社
コイル部品
8日前
ノリタケ株式会社
熱伝導シート
8日前
サクサ株式会社
電池の固定構造
8日前
日東電工株式会社
積層体
9日前
日本特殊陶業株式会社
保持装置
15日前
日本特殊陶業株式会社
保持装置
15日前
トヨタ自動車株式会社
バッテリ
9日前
トヨタ自動車株式会社
蓄電装置
8日前
TDK株式会社
電子部品
15日前
トヨタ自動車株式会社
電池パック
1日前
東レエンジニアリング株式会社
実装装置
9日前
SMK株式会社
キートップ及びスイッチ
10日前
東レエンジニアリング株式会社
実装装置
15日前
日本特殊陶業株式会社
電極
15日前
日本特殊陶業株式会社
電極
15日前
日本特殊陶業株式会社
電極
15日前
日本製紙株式会社
導電性フィルム
9日前
日本製紙株式会社
導電性フィルム
9日前
ローム株式会社
半導体装置
9日前
ローム株式会社
半導体装置
10日前
ローム株式会社
半導体装置
10日前
株式会社トクヤマ
シリコンエッチング液
2日前
日本特殊陶業株式会社
電極
15日前
日東電工株式会社
電子装置
11日前
続きを見る
他の特許を見る