TOP
|
特許
|
意匠
|
商標
特許ウォッチ
Twitter
他の特許を見る
10個以上の画像は省略されています。
公開番号
2025145155
公報種別
公開特許公報(A)
公開日
2025-10-03
出願番号
2024045190
出願日
2024-03-21
発明の名称
カッターユニット及び切断装置
出願人
カシオ計算機株式会社
代理人
弁理士法人光陽国際特許事務所
主分類
B26D
7/26 20060101AFI20250926BHJP(切断手工具;切断;切断機)
要約
【課題】カッター刃の刃出し量が調整された状態を簡易かつ確実に維持する。
【解決手段】カッターユニット3が、カッター刃31を保持するカッタースリーブ32と、カッタースリーブ32を内部に収容するカッタースリーブホルダ33と、を備え、カッタースリーブ32とカッタースリーブホルダ33とが有するねじ部であるおねじ部325とめねじ部331との螺合具合によってカッタースリーブホルダ33に対するカッタースリーブ32及びカッター刃31の位置が調整され、ねじ部であるおねじ部325とめねじ部331の螺合具合を保持することによってカッター刃31の位置が調整された状態を保持する保持部としてのロックキャップ35をさらに備える。
【選択図】図10
特許請求の範囲
【請求項1】
カッター刃を保持するカッタースリーブと、
前記カッタースリーブを内部に収容するカッタースリーブホルダと、を備え、
前記カッタースリーブと前記カッタースリーブホルダとが有するねじ部の螺合具合によって前記カッタースリーブホルダに対する前記カッタースリーブ及び前記カッター刃の位置が調整され、
前記ねじ部の螺合具合を保持することによって前記カッター刃の位置が調整された状態を保持する保持部をさらに備える、
ことを特徴とするカッターユニット。
続きを表示(約 1,000 文字)
【請求項2】
前記保持部は、取付け状態において前記カッタースリーブと嵌合状態なるスリーブ係合部と、前記カッタースリーブホルダと嵌合状態となるホルダ係合部とを有するロックキャップである、
ことを特徴とする請求項1に記載のカッターユニット。
【請求項3】
前記カッタースリーブには、周方向に沿って調整溝が複数設けられ、
前記ロックキャップは、取付け状態において、前記スリーブ係合部が、前記カッタースリーブの前記調整溝と嵌り合う、
ことを特徴とする請求項2に記載のカッターユニット。
【請求項4】
前記カッタースリーブホルダには、周方向に離間した位置に複数の突出部が設けられ、
前記ロックキャップは、取付け状態において、前記ホルダ係合部が、前記カッタースリーブホルダの前記突出部と嵌り合う、
ことを特徴とする請求項2に記載のカッターユニット。
【請求項5】
前記カッタースリーブは、摺動性樹脂部材で形成されている、
ことを特徴とする請求項1に記載のカッターユニット。
【請求項6】
前記カッタースリーブホルダは、上部に開口部が形成されており、
前記カッタースリーブは、前記開口部から前記カッタースリーブホルダ内に挿入される、
ことを特徴とする請求項1に記載のカッターユニット。
【請求項7】
前記カッタースリーブホルダには、内部に前記カッタースリーブを保持したときに前記調整溝に対応する位置に、当該調整溝のいずれかと噛み合う調整凸部が設けられている、
ことを特徴とする請求項3に記載のカッターユニット。
【請求項8】
前記カッタースリーブは、外周面の一部に前記ねじ部としてのおねじ部を有し、前記カッタースリーブホルダの内周面であって、前記おねじ部に対応する位置に当該おねじ部に対応する形状の前記ねじ部としてめねじ部を有しており、
前記おねじ部と前記めねじ部との螺合具合を変えることで、前記カッタースリーブホルダに対する前記カッタースリーブの、前記カッター刃の軸方向における位置を調整可能となっている、
ことを特徴とする請求項1に記載のカッターユニット。
【請求項9】
請求項1から請求項8のいずれか一項に記載のカッターユニットに設けられたカッター刃により、被切断媒体を切断する、
ことを特徴とする切断装置。
発明の詳細な説明
【技術分野】
【0001】
本発明は、カッターユニット及び切断装置に関する。
続きを表示(約 2,100 文字)
【背景技術】
【0002】
従来、被切断媒体を切断するためのカッター刃を有するカッターユニット(特許文献1において、「カッティングプロッタのカッティングペン」)が知られている。例えば、特許文献1には、カッター刃を支持するホルダに着脱可能に構成されたキャップ部を設け、キャップ部をホルダに取り付けることで、下端面から突出するカッター刃の刃先部分が所定の突出量となるように刃出し量を調整可能とする技術が開示されている。
【先行技術文献】
【特許文献】
【0003】
特開2005-212050号公報
【発明の概要】
【発明が解決しようとする課題】
【0004】
しかしながら、特許文献1に記載の技術では、カッター刃の刃出し量(突出量)をユーザが調整しなければならず、煩わしさがある。また、一旦カッター刃の刃出し量が調整されても、調整された状態が維持されなければ、カッター刃の刃出し量をセンサで確認したり調整し直す等の必要が生じてしまい、手間である。また、刃出し量を確認するセンサ等を設けると切断装置の装置構成も複雑化してしまう。
【0005】
本発明はこうした課題を解決するためのものであり、カッター刃の刃出し量が調整された状態を簡易かつ確実に維持することのできるカッターユニット及び切断装置を提供する。
【課題を解決するための手段】
【0006】
前記課題を解決するために、本発明に係るカッターユニットは、カッター刃を保持するカッタースリーブと、前記カッタースリーブを内部に収容するカッタースリーブホルダと、を備え、前記カッタースリーブと前記カッタースリーブホルダとが有するねじ部の螺合具合によって前記カッタースリーブホルダに対する前記カッタースリーブ及び前記カッター刃の位置が調整され、前記ねじ部の螺合具合を保持することによって前記カッター刃の位置が調整された状態を保持する保持部をさらに備えることを特徴とする。
【発明の効果】
【0007】
本発明によれば、カッター刃の刃出し量が調整された状態を簡易かつ確実に維持することができる。
【図面の簡単な説明】
【0008】
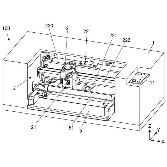
本発明に係る切断装置の全体的な構成を示す斜視図である。
切断装置に設けられるカッターユニットを保持した状態のキャリッジの側面図である。
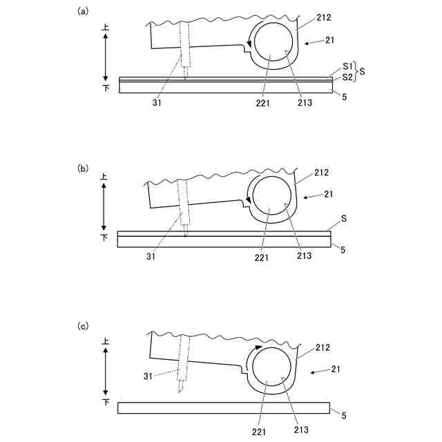
(a)は、ハーフカットを行う場合のキャリッジの状態を模式的に示した要部説明図であり、(b)は、全カットを行う場合のキャリッジの状態を模式的に示した要部説明図であり、(c)は、非切断時のキャリッジの状態を模式的に示した要部説明図である。
ロックキャップを外した状態のカッターユニットの側面図である。
図4に示すカッターユニットの側断面図である。
図4に一点鎖線で示すVI部分の拡大図である。
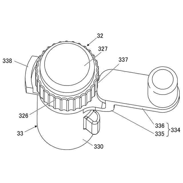
ロックキャップを外した状態のカッターユニットの斜視図である。
図4に示すカッターユニットを斜め上側から見た斜視図である。
図4に示すカッターユニットを斜め下側から見た斜視図である。
図4に示すカッターユニットの上方からロックキャップを取り付ける様子を示す斜視図である。
ロックキャップを取り付けた状態のカッターユニットの斜視図である。
【発明を実施するための形態】
【0009】
図1から図11を参照しつつ、本発明に係るカッターユニット及びカッターユニットを備える切断装置の一実施形態について説明する。なお、本明細書において、X軸、Y軸、Z軸は図1において示す方向の軸とする。図1に示すように、実施形態に係る切断装置100は、X軸に沿って延在しており、X軸に沿う方向が装置左右方向(幅方向)となっている。また、Y軸に沿う方向が装置前後方向(奥行き方向)である。さらに、Z軸は、XY平面に直交し、後述するカッター刃31が紙等の被切断媒体Sに対して上下する方向にとられており、Z軸に沿う方向が装置の高さ方向となっている。なお、以下に述べる実施形態には、本発明を実施するために技術的に好ましい種々の限定が付されているが、本発明の範囲を以下の実施形態及び図示例に限定するものではない。
【0010】
図1に示すように、実施形態に係る切断装置100は、筐体1(外装ケース)と筐体1内に収容される装置本体2と、を備えている。筐体1の底面上には、載置台5が設けられている。載置台5には、切断装置100において切断(カット)される対象である被切断媒体Sが載置(セット)される。切断装置100の使用時には、載置台5上に、被切断媒体Sとしての紙等が載置される。なお、被切断媒体Sは紙に限定されるものではない。被切断媒体Sは、例えば樹脂等のシート、シール、皮等、カッター刃で切断可能な他の各種媒体でもよい。
(【0011】以降は省略されています)
この特許をJ-PlatPat(特許庁公式サイト)で参照する
関連特許
カシオ計算機株式会社
報知システム及び報知方法
今日
カシオ計算機株式会社
機器、制御方法およびプログラム
7日前
カシオ計算機株式会社
給電装置、及び、電力伝送システム
7日前
カシオ計算機株式会社
ロボット、及びロボットの製造方法
11日前
カシオ計算機株式会社
電子機器、及び、電力伝送システム
7日前
カシオ計算機株式会社
発音装置、発音方法及びプログラム
今日
カシオ計算機株式会社
情報処理装置、方法およびプログラム
今日
カシオ計算機株式会社
プログラム、電子機器及び登録処理方法
11日前
カシオ計算機株式会社
情報処理方法、プログラム及び情報処理装置
7日前
カシオ計算機株式会社
情報出力方法、情報出力装置及びプログラム
7日前
カシオ計算機株式会社
情報処理装置、プログラム及び情報処理方法
11日前
カシオ計算機株式会社
活動支援方法、プログラム及び活動支援装置
7日前
カシオ計算機株式会社
情報処理装置、情報処理方法及びプログラム
今日
カシオ計算機株式会社
軌跡生成方法、軌跡生成装置及びプログラム
今日
カシオ計算機株式会社
情報処理装置、表示制御方法、及びプログラム
11日前
カシオ計算機株式会社
電子楽器、電子楽器の制御方法及びプログラム
11日前
カシオ計算機株式会社
人材管理装置、人材管理方法、及びプログラム
今日
カシオ計算機株式会社
位置測定システム、位置測定方法及びプログラム
7日前
カシオ計算機株式会社
機器の制御装置、機器の制御方法及びプログラム
11日前
カシオ計算機株式会社
情報処理装置、印刷装置、方法およびプログラム
今日
カシオ計算機株式会社
入力文作成装置、入力文作成方法及びプログラム
11日前
カシオ計算機株式会社
情報処理装置、表示制御方法、及び、プログラム
11日前
カシオ計算機株式会社
通信方法、通信システム、電子機器及びプログラム
11日前
カシオ計算機株式会社
情報処理装置、制御データ作成方法、及びプログラム
7日前
カシオ計算機株式会社
端末装置、運動評価システム、運動評価方法及びプログラム
11日前
カシオ計算機株式会社
ロボット制御装置、ロボット、ロボットの制御方法及びプログラム
11日前
カシオ計算機株式会社
スイッチ装置および時計
今日
カシオ計算機株式会社
サービス提供方法、サービス提供装置、サービス提供システム及びプログラム
7日前
カシオ計算機株式会社
イヤーデバイス、携帯端末、イヤーデバイス制御システム、イヤーデバイス制御方法及びプログラム
7日前
カシオ計算機株式会社
イヤーデバイス、携帯端末、イヤーデバイス制御システム、イヤーデバイス制御方法及びプログラム
7日前
個人
ハサミ
3か月前
個人
曲線カッター
7日前
個人
円弧状刃の包丁
6か月前
個人
テープカッター
12か月前
個人
理美容はさみ
3か月前
有限会社カルチエ
ナイフ
9か月前
続きを見る
他の特許を見る