TOP
|
特許
|
意匠
|
商標
特許ウォッチ
Twitter
他の特許を見る
公開番号
2025145065
公報種別
公開特許公報(A)
公開日
2025-10-03
出願番号
2024045046
出願日
2024-03-21
発明の名称
ダクト継手
出願人
川崎重工業株式会社
,
株式会社ヒラサ製作所
代理人
弁理士法人有古特許事務所
主分類
F16L
21/00 20060101AFI20250926BHJP(機械要素または単位;機械または装置の効果的機能を生じ維持するための一般的手段)
要約
【課題】
フランジ継手に比べてダクトの連結作業を効率よく行うことができるダクト継手を提供する。
【解決手段】
本開示の一態様に係るダクト継手は、外周部分に枠状の受け枠を含む凹側継手と、外周部分に前記受け枠に挿入する枠状の挿入枠を含み、前記凹側継手と組み合わせる凸側継手と、を備え、前記受け枠の内周面は、前記受け枠の軸心に対して平行であるか、又は、先端に向かうにしたがって前記受け枠の軸心から離れるように傾斜しており、前記挿入枠の外周面は、先端に向かうにしたがって前記挿入枠の軸心に近づくように傾斜している。
【選択図】図1
特許請求の範囲
【請求項1】
外周部分に枠状の受け枠を含む凹側継手と、
外周部分に前記受け枠に挿入する枠状の挿入枠を含み、前記凹側継手と組み合わせる凸側継手と、を備え、
前記受け枠の内周面は、前記受け枠の軸心に対して平行であるか、又は、先端に向かうにしたがって前記受け枠の軸心から離れるように傾斜しており、
前記挿入枠の外周面は、先端に向かうにしたがって前記挿入枠の軸心に近づくように傾斜している、ダクト継手。
続きを表示(約 1,000 文字)
【請求項2】
外周部分に枠状の受け枠を含む凹側継手と、
外周部分に前記受け枠に挿入する枠状の挿入枠を含み、前記凹側継手と組み合わせる凸側継手と、を備え、
前記受け枠の内周面は、先端に向かうにしたがって前記受け枠の軸心から離れるように傾斜しており、
前記挿入枠の外周面は、前記挿入枠の軸心に対して平行であるか、又は、先端に向かうにしたがって前記挿入枠の軸心に近づくように傾斜している、ダクト継手。
【請求項3】
前記凹側継手は、前記受け枠よりも内周側に位置する内段差部を含み、
前記凹側継手と前記凸側継手の組合せ時において、前記挿入枠の先端が前記内段差部に接する、請求項1又は2に記載のダクト継手。
【請求項4】
前記内段差部は弾性材料で形成された内対向面を有する、請求項3に記載のダクト継手。
【請求項5】
前記凸側継手は、前記挿入枠よりも外周側に位置する外段差部を含み、
前記凹側継手と前記凸側継手の組合せ時において、前記受け枠の先端が前記外段差部に接する、請求項1又は2に記載のダクト継手。
【請求項6】
前記外段差部は弾性材料で形成された外対向面を有する、請求項5に記載のダクト継手。
【請求項7】
前記凹側継手及び前記凸側継手のうちの一方に位置する係止部材と、前記凹側継手及び前記凸側継手のうちの他方に位置する被係止部材と、を含み、前記凹側継手と前記凸側継手の組合せ時において、前記係止部材が前記被係止部材に係止することで、前記凹側継手に対する前記凸側継手の軸心方向への移動を制限する留め具を備えている、請求項1又は2に記載のダクト継手。
【請求項8】
前記受け枠の内周面は、前記受け枠の軸心を含む断面視において直線状であり、
前記挿入枠の外周面は、前記挿入枠の軸心を含む断面視において直線状である、請求項1に記載のダクト継手。
【請求項9】
前記受け枠の軸心を含む断面視における前記受け枠の内周面と前記受け枠の軸心がなす受け枠傾斜角度は、前記挿入枠の軸心を含む断面視における前記挿入枠の外周面と前記挿入枠の軸心がなす挿入枠傾斜角度よりも小さい、請求項8に記載のダクト継手。
【請求項10】
前記挿入枠傾斜角度は1度以下である、請求項9に記載のダクト継手。
(【請求項11】以降は省略されています)
発明の詳細な説明
【技術分野】
【0001】
本開示は、ダクト継手に関する。
続きを表示(約 1,300 文字)
【背景技術】
【0002】
ダクト継手はダクトを連結する継手である。ダクト継手として、特許文献1に記載されているようなフランジ継手を用いることができる。
【先行技術文献】
【特許文献】
【0003】
特表2023-541686号公報
【発明の概要】
【発明が解決しようとする課題】
【0004】
ダクトの連結作業では、連結する2つのダクトの軸心を一致させる位置合わせを行う。ダクト継手としてフランジ継手を用いる場合、上記の位置合わせに手間がかかるため、ダクトの連結作業を効率よく行うことができない。
【0005】
そこで、本開示は、フランジ継手に比べてダクトの連結作業を効率よく行うことができるダクト継手を提供することを目的としている。
【課題を解決するための手段】
【0006】
本開示の一態様に係るダクト継手は、外周部分に枠状の受け枠を含む凹側継手と、外周部分に前記受け枠に挿入する枠状の挿入枠を含み、前記凹側継手と組み合わせる凸側継手と、を備え、前記受け枠の内周面は、前記受け枠の軸心に対して平行であるか、又は、先端に向かうにしたがって前記受け枠の軸心から離れるように傾斜しており、前記挿入枠の外周面は、先端に向かうにしたがって前記挿入枠の軸心に近づくように傾斜している。
【0007】
また、本開示の他の態様に係るダクト継手は、外周部分に枠状の受け枠を含む凹側継手と、外周部分に前記受け枠に挿入する枠状の挿入枠を含み、前記凹側継手と組み合わせる凸側継手と、を備え、前記受け枠の内周面は、先端に向かうにしたがって前記受け枠の軸心から離れるように傾斜しており、前記挿入枠の外周面は、前記挿入枠の軸心に対して平行であるか、又は、先端に向かうにしたがって前記挿入枠の軸心に近づくように傾斜している。
【発明の効果】
【0008】
上記のダクト継手によれば、フランジ継手に比べてダクトの連結作業を効率よく行うことができる。
【図面の簡単な説明】
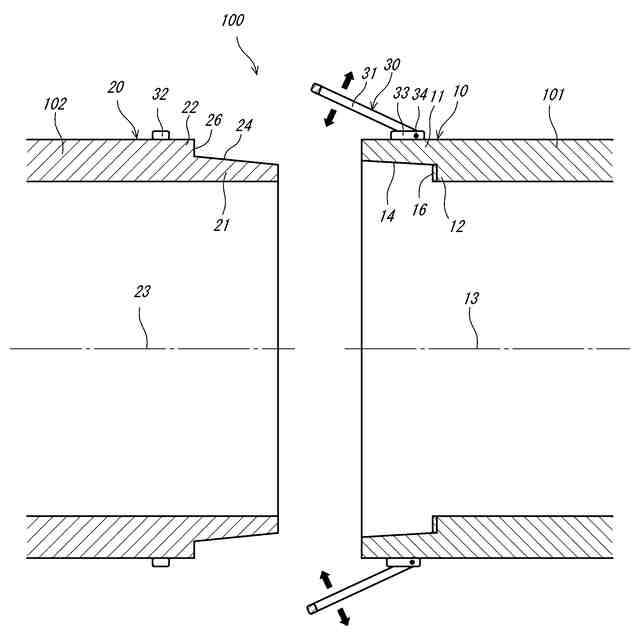
【0009】
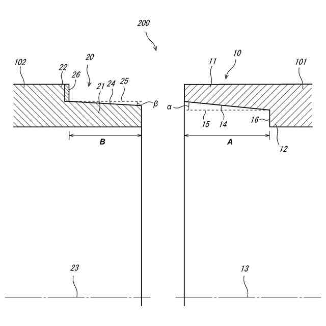
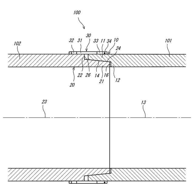
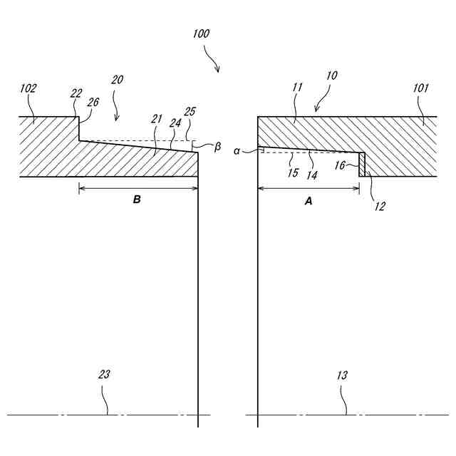
図1は、第1実施形態に係るダクト継手の組合せ前の断面図である。
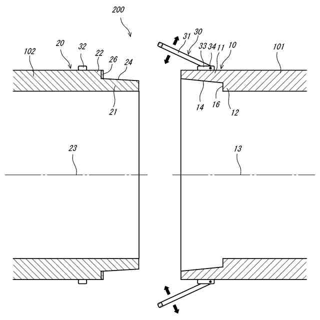
図2は、第1実施形態に係るダクト継手の組合せ時の断面図である。
図3は、図1のうち受け枠及び挿入枠を含む範囲の拡大図である。
図4は、第2実施形態に係るダクト継手の組合せ前の断面図である。
図5は、第2実施形態に係るダクト継手の組合せ時の断面図である。
図6は、図4のうち受け枠及び挿入枠を含む範囲の拡大図である。
【発明を実施するための形態】
【0010】
(第1実施形態)
以下、実施形態について説明する。はじめに第1実施形態に係るダクト継手100について説明する。図1は、第1実施形態に係るダクト継手100の組合せ前の断面図である。図2は、第1実施形態に係るダクト継手100の組合せ時の断面図である。
(【0011】以降は省略されています)
この特許をJ-PlatPat(特許庁公式サイト)で参照する
関連特許
川崎重工業株式会社
ロボット
3日前
川崎重工業株式会社
ロボット
5日前
川崎重工業株式会社
ダクト継手
3日前
川崎重工業株式会社
遠心ターボ機械
5日前
川崎重工業株式会社
ゼオライト触媒
5日前
川崎重工業株式会社
基板搬送ロボット
27日前
川崎重工業株式会社
ロボットシステム
27日前
川崎重工業株式会社
基板搬送ロボット
27日前
川崎重工業株式会社
エンドエフェクタ
17日前
川崎重工業株式会社
基板搬送ロボット
27日前
川崎重工業株式会社
基板搬送ロボット
27日前
川崎重工業株式会社
ロボットシステム
27日前
川崎重工業株式会社
位置情報システム
27日前
川崎重工業株式会社
ロボットシステム
27日前
川崎重工業株式会社
基板搬送ロボット
27日前
川崎重工業株式会社
クローズドインペラ
27日前
川崎重工業株式会社
正極活物質の再生方法
28日前
川崎重工業株式会社
締結方法及び締結装置
3日前
川崎重工業株式会社
液化ガス導入システム
1か月前
川崎重工業株式会社
環状フレームの成形方法
7日前
川崎重工業株式会社
ロボットシステム及びロボット
27日前
川崎重工業株式会社
ガス燃料供給システムおよび船舶
3日前
川崎重工業株式会社
電力供給システムおよびその制御方法
1か月前
川崎重工業株式会社
焼却灰の骨材化システムおよび骨材化方法
17日前
川崎重工業株式会社
焼却灰の骨材化システムおよび骨材化方法
17日前
川崎重工業株式会社
白金族金属の可溶化方法及び金属の分離方法
1か月前
川崎重工業株式会社
歯車装置の支持構造の診断装置及び診断方法
26日前
川崎重工業株式会社
水素の生産計画システムおよび生産計画方法
7日前
川崎重工業株式会社
液化ガス用配管ユニットおよびその組立方法
27日前
川崎重工業株式会社
移動体、給電システム及びワイヤレス式受電方法
18日前
川崎重工業株式会社
ガスタービンエンジンの制御装置および制御方法
1か月前
川崎重工業株式会社
秘密計算システム、秘密計算方法及び秘密計算装置
4日前
川崎重工業株式会社
手術支援システムおよび手術支援システムの制御方法
25日前
川崎重工業株式会社
手術支援システムおよび手術支援システムの制御方法
25日前
川崎重工業株式会社
手術支援システムおよび手術支援システムの制御方法
25日前
川崎重工業株式会社
異常診断装置、異常診断プログラムおよび異常診断方法
7日前
続きを見る
他の特許を見る