TOP
|
特許
|
意匠
|
商標
特許ウォッチ
Twitter
他の特許を見る
公開番号
2025145021
公報種別
公開特許公報(A)
公開日
2025-10-03
出願番号
2024044988
出願日
2024-03-21
発明の名称
サブ基板構造体及び電子制御装置
出願人
株式会社デンソー
代理人
弁理士法人サトー
主分類
H05K
1/14 20060101AFI20250926BHJP(他に分類されない電気技術)
要約
【課題】サブ基板がもつ電子部品とサブ基板外との通信機能の喪失を回避すると共に、サブ基板のサイズ増大も回避できるサブ基板構造体を提供する。
【解決手段】上面にSoC5が表面実装されるサブ基板4、サブ基板4の下面における外周部に配置され、サブ基板4をマザー基板2に実装するための複数のはんだボール12、及びSoC5がサブ基板4に実装された状態を補強するため、SoC5の外周部に配置されるサイドフィル8を備える。はんだボール12は、サブ基板4内の配線10でSoC5の端子と電気的に接続される。SoC5は、複数系統の通信機能を有すると共に、複数の通信機能に対応した複数の端子群を有し、その通信機能によりマザー基板2に実装される通信IC17、18及びマザー基板2を介して外部の装置とのデータ通信を実行する。
【選択図】図1
特許請求の範囲
【請求項1】
上面にサブ側電子部品(5、6)が表面実装されるサブ基板(4)と、
このサブ基板の下面における外周部に配置され、前記サブ基板をマザー基板(2)に実装するための複数のはんだボール(12)と、
前記サブ側電子部品(5)が前記サブ基板に実装された状態を補強するため、前記サブ側電子部品の外周部において少なくとも一部に配置される補強材(8、24)と、を備え
前記はんだボールは、前記サブ基板内の配線によって前記サブ側電子部品の端子と電気的に接続されており、
前記サブ側電子部品は、複数系統の通信機能を有すると共に、前記複数の通信機能に対応した複数の端子群を有しており、前記通信機能により前記マザー基板に実装されるマザー側電子部品(17、18、21~23)と、又は前記マザー基板を介して外部の装置とのデータ通信を実行するもので、
前記複数の端子群のそれぞれに対応して、前記サブ基板の前記外周部で前記はんだボールに接続される各端子群を複数の接続端子群(15、16、25、26)とすると、
前記複数の接続端子群の少なくとも1つ(15、25)は、前記サブ基板上において前記補強材が配置されている領域に係る重複領域に配置されており、その他の接続端子群(16、26)は、前記補強材が配置されている領域に係らない非重複領域に配置されているサブ基板構造体。
続きを表示(約 51 文字)
【請求項2】
請求項1記載のサブ基板構造体と、前記マザー基板とを備える電子制御装置。
発明の詳細な説明
【技術分野】
【0001】
本発明は、上面にサブ側電子部品が表面実装されるサブ基板、このサブ基板の下面における外周部に配置され、サブ基板をマザー基板に実装し、電気的に接続するための複数のはんだボールを備えるサブ基板構造体、及びそのサブ基板構造体を備える電子制御装置に関する。
続きを表示(約 2,300 文字)
【背景技術】
【0002】
マザー基板に表面実装され、電気的に接続されるサブ基板において構成される、例えばBGA(Ball Grid Array)型のマルチチップモジュール(MCM)では、サブ基板上にIC等の電子部品を搭載する際に、補強材として、例えば熱硬化型のアンダーフィルやサイドフィルを用いる場合がある。これらの補強材の直下にあたる位置において、サブ基板をマザー回路基板等に接続するために、サブ基板の裏面に並べられるはんだボールが位置すると、補強材を硬化させる際に、補強材が収縮することで発生する応力の影響によってはんだボールが開放状態になることがある。すると、例えばMCM上の電子部品が、はんだボールを介して外部と通信する機能を有している場合には、通信ができなくなり、MCMとしての機能を喪失することに繋がる。
【0003】
上記のような事態の発生を回避するため、補強材の直下にはんだボールを介して接続される端子の配置を回避しようとすると、基板サイズを増大させてしまう。すなわち、例えばSoC(System on Chip)等のICでは、高速通信用の端子が外周に配置される。それらの端子から、マザー基板までの配線長を短くするために、SoCをサブ基板の端に置き、且つサブ基板の端子に接続されるはんだボールをサブ基板の端に置きたい、という要請がある。この場合、ICの外周や下部に注入される補強材の直下にあたる領域にはんだボールが重なり易くなる。これを回避しようとすると、サブ基板の中心から見て、補強材直下のさらに外側にはんだボールを配置する必要があり、サブ基板のサイズを増大させてしまう。
【先行技術文献】
【特許文献】
【0004】
特開2020-38943号公報
【発明の概要】
【発明が解決しようとする課題】
【0005】
また、SoCのようなICで消費される電流は比較的多く、負荷変動を吸収するための電源用バイパスコンデンサは、IC中央部の直下に当たるサブ基板の裏面に搭載したい。すると、前記サブ基板の裏面には、はんだボールを配置できないので、補強材が塗布されるICの外縁部とはんだボールとが重なり易くなり、上述した応力の影響が問題となる。
【0006】
本発明は上記事情に鑑みてなされたものであり、その目的は、サブ基板がもつ電子部品とサブ基板外との通信機能の喪失を回避すると共に、サブ基板のサイズ増大も回避できるサブ基板構造体、及びそのサブ基板構造体を備える電子制御装置を提供することにある。
【課題を解決するための手段】
【0007】
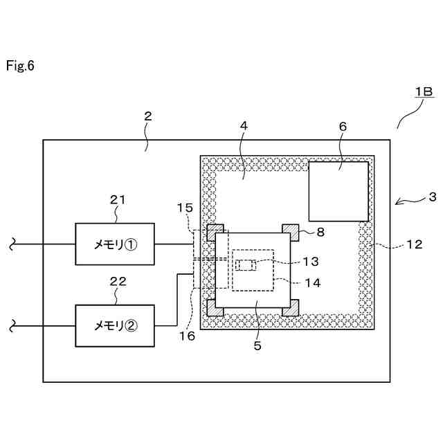
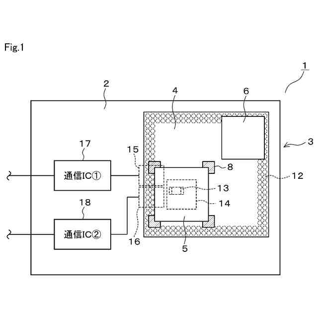
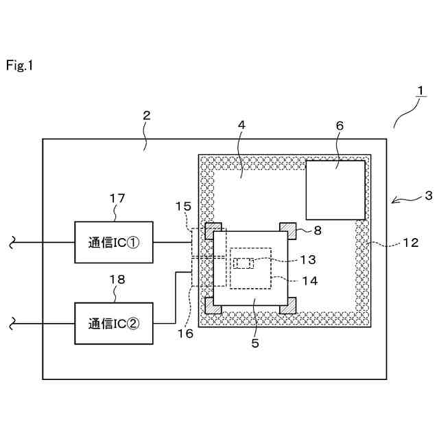
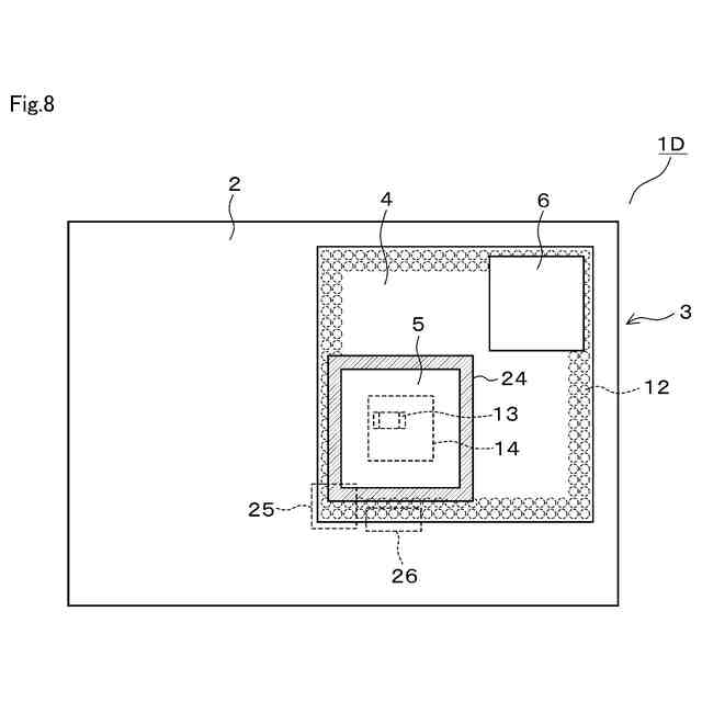
請求項1記載のサブ基板構造体によれば、上面にサブ側電子部品(5,6)が表面実装されるサブ基板(4)、サブ基板の下面における外周部に配置され、前記サブ基板をマザー基板(2)に実装するための複数のはんだボール(12)、及びサブ側電子部品(5)がサブ基板に実装された状態を補強するため、サブ側電子部品の外周部において少なくとも一部に配置される補強材(8、24)を備える。はんだボールは、サブ基板内の配線(10)によってサブ側電子部品の端子と電気的に接続される。サブ側電子部品は、複数系統の通信機能を有すると共に、複数の通信機能に対応した複数の端子群を有し、その通信機能によりマザー基板に実装されるマザー側電子部品(17,18,21~23)と、又はマザー基板を介して外部の装置とのデータ通信を実行する。
【0008】
複数の端子群のそれぞれに対応して、サブ基板の外周部ではんだボールに接続される各端子群を複数の接続端子群(15,16,25,26)とすると、それらの少なくとも1つ(15、25)はサブ基板上で補強材が配置されている領域に係る重複領域に配置される。その他の接続端子群(16、26)は、補強材が配置されている領域に係らない非重複領域に配置される。
【0009】
高速通信における信号品質向上のため、電子部品の高速通信機能を有する端子から前記端子と電気的に接続されるはんだボールまでの配線長を短くする必要ある。そのため、電子部品をサブ基板表面の外縁部に、且つはんだボールをサブ基板裏面の外縁部に配置することが望ましい。すると、電子部品の外縁部に配置される補強材がはんだボールと重なり易くなるため、両者が重なる領域にはんだボールを配置することを避けると、サブ基板のサイズ増大に繋がる。これに対して、請求項1のように構成することで、サブ基板のサイズを増大させることなく、サブ基板がもつ電子部品とサブ基板外との通信機能喪失を回避することができる。
【図面の簡単な説明】
【0010】
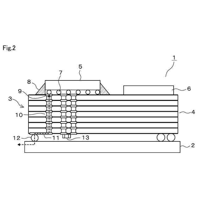
第1実施形態であり、電子制御装置の平面図
電子制御装置の模式的な縦断面図
サイドフィルを熱硬化させる際に作用する引っ張り応力を説明するモデル図(その1)
サイドフィルを熱硬化させる際に作用する引っ張り応力を説明するモデル図(その2)
サイドフィルを熱硬化させる際に作用する引っ張り応力を説明するモデル図(その3)
第2実施形態であり、電子制御装置の平面図
第3実施形態であり、電子制御装置の平面図
第4実施形態であり、電子制御装置の平面図
【発明を実施するための形態】
(【0011】以降は省略されています)
この特許をJ-PlatPat(特許庁公式サイト)で参照する
関連特許
個人
電子部品の実装方法
3日前
株式会社コロナ
電気機器
2か月前
個人
非衝突型ガウス加速器
1か月前
日本精機株式会社
回路基板
25日前
日本精機株式会社
回路基板
3か月前
株式会社遠藤照明
照明装置
3か月前
キヤノン株式会社
電子機器
17日前
キヤノン株式会社
電子機器
3か月前
アイホン株式会社
電気機器
1か月前
アイホン株式会社
電気機器
17日前
個人
節電材料
1か月前
日本放送協会
基板固定装置
23日前
メクテック株式会社
配線基板
3か月前
メクテック株式会社
配線基板
1か月前
マクセル株式会社
配列用マスク
2か月前
東レ株式会社
霧化状活性液体供給装置
1か月前
FDK株式会社
基板
2日前
イビデン株式会社
配線基板
1か月前
イビデン株式会社
プリント配線板
2か月前
イビデン株式会社
プリント配線板
23日前
サクサ株式会社
筐体の壁掛け構造
1か月前
イビデン株式会社
プリント配線板
2か月前
イビデン株式会社
プリント配線板
3か月前
イビデン株式会社
配線基板
1か月前
トキコーポレーション株式会社
照明器具
2か月前
日産自動車株式会社
電子部品
15日前
メクテック株式会社
伸縮性配線基板
3か月前
メクテック株式会社
配線モジュール
3か月前
日産自動車株式会社
電子機器
2か月前
株式会社レゾナック
冷却装置
2日前
オムロン株式会社
端子折り曲げ治具
5日前
新電元工業株式会社
充電装置
2か月前
カシン工業株式会社
PTC発熱装置
2か月前
新電元工業株式会社
電子装置
17日前
株式会社電気印刷研究所
金属画像形成方法
2か月前
株式会社電気印刷研究所
金属画像形成方法
2か月前
続きを見る
他の特許を見る