TOP
|
特許
|
意匠
|
商標
特許ウォッチ
Twitter
他の特許を見る
10個以上の画像は省略されています。
公開番号
2025144109
公報種別
公開特許公報(A)
公開日
2025-10-02
出願番号
2024043725
出願日
2024-03-19
発明の名称
転がり軸受およびスリンガ部材
出願人
NTN株式会社
代理人
個人
,
個人
,
個人
主分類
F16C
33/78 20060101AFI20250925BHJP(機械要素または単位;機械または装置の効果的機能を生じ維持するための一般的手段)
要約
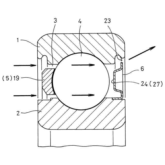
【課題】高速回転時の軸受内部の通油性を確保することができる低コストの転がり軸受を提供する。
【解決手段】軸受空間3の軸方向一方側が軸受外部に連通している転がり軸受において、軸受空間3の軸方向他方側の環状開口の径方向外端に環状の通油隙間23を残して軸方向他方側の環状開口を覆う環状に形成されたスリンガ部材6を設け、スリンガ部材6の軸方向内側の面には、周方向に隣り合う凸部24の間に径方向に貫通する凸部間隙間25が形成されるように周方向に間隔をおいて複数の凸部24が形成されている。
【選択図】図1
特許請求の範囲
【請求項1】
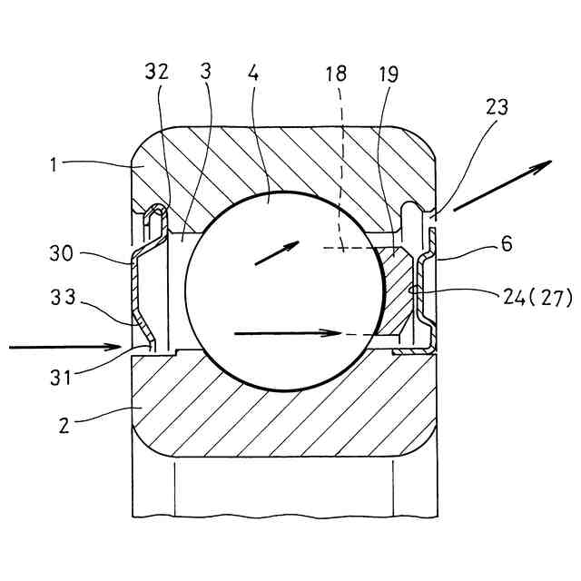
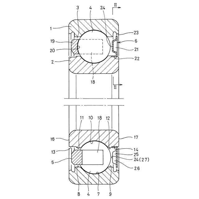
外輪(1)と、
前記外輪(1)の径方向内側に配置された内輪(2)と、
前記外輪(1)と前記内輪(2)の間に形成される環状の軸受空間(3)に組み込まれた複数の転動体(4)と、
前記複数の転動体(4)を保持する保持器(5)とを有し、
前記軸受空間(3)の軸方向一方側が軸受外部に連通している転がり軸受において、
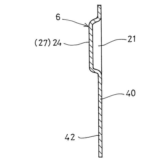
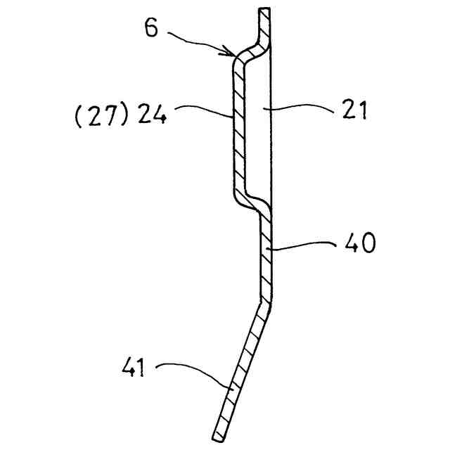
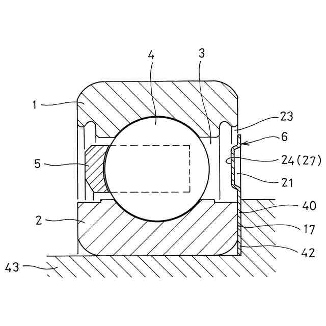
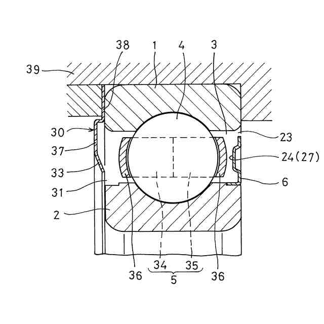
前記軸受空間(3)の軸方向他方側の環状開口の径方向外端に環状の通油隙間(23)を残して前記軸方向他方側の環状開口を覆う環状に形成され、前記内輪(2)と一体に回転するスリンガ部材(6)を設け、
前記スリンガ部材(6)の軸方向内側の面には、周方向に隣り合う凸部(24)の間に径方向に貫通する凸部間隙間(25)が形成されるように周方向に間隔をおいて複数の凸部(24)が形成されていることを特徴とする転がり軸受。
続きを表示(約 1,100 文字)
【請求項2】
前記凸部(24)のスリンガ回転方向の前側の側面(26)が、径方向外側に向かってスリンガ回転方向の後方に傾斜している請求項1に記載の転がり軸受。
【請求項3】
前記凸部(24)のスリンガ回転方向の前側の側面(26)は、軸方向から見て径方向外側に凸の曲線状に形成されている請求項2に記載の転がり軸受。
【請求項4】
前記凸部(24)を軸方向から見た形状が、径方向外側に向かって周方向幅が次第に小さくなる周方向に対称な山形状とされている請求項1から3のいずれかに記載の転がり軸受。
【請求項5】
前記凸部(24)のスリンガ回転方向の後側の側面(50)が、径方向外側に向かってスリンガ回転方向の後方に傾斜している請求項2または3に記載の転がり軸受。
【請求項6】
前記スリンガ部材(6)は、前記内輪(2)の外周に対して径方向外側に突出するスリンガ本体部(21)を有し、
前記スリンガ本体部(21)は、円環状の金属板で形成され、
前記凸部(24)は、前記軸受空間(3)の側とは反対側の側面が軸方向に窪み、かつ、前記軸受空間(3)の側の側面が軸方向に突出するように前記金属板がプレス成形された部分である請求項1から3のいずれかに記載の転がり軸受。
【請求項7】
前記スリンガ部材(6)は、前記内輪(2)の外周に対して径方向外側に突出するスリンガ本体部(21)を有し、
前記スリンガ本体部(21)は、円環状の金属板(44)と、その金属板(44)に固定された樹脂成形部(45)とを有し、
前記凸部(24)が、前記樹脂成形部(45)の樹脂成形によって形成された部分である請求項1から3のいずれかに記載の転がり軸受。
【請求項8】
前記金属板(44)に、複数の貫通孔(46)が周方向に間隔をおいて形成され、
前記樹脂成形部(45)は、前記複数の貫通孔(46)を通って前記金属板(44)を貫通する形状を有する請求項7に記載の転がり軸受。
【請求項9】
前記軸受空間(3)の軸方向一方側の環状開口の径方向内端に第2通油隙間(31)を残して前記軸方向一方側の環状開口を覆う環状のシールド部材(30)が設けられている請求項1から3のいずれかに記載の転がり軸受。
【請求項10】
前記シールド部材(30)の径方向内側の端部に、軸方向他方側に向かって次第に縮径する漏斗状の内周面をもつ油案内部(33)が形成されている請求項9に記載の転がり軸受。
(【請求項11】以降は省略されています)
発明の詳細な説明
【技術分野】
【0001】
この発明は、転がり軸受およびその転がり軸受に用いられるスリンガ部材に関する。
続きを表示(約 1,500 文字)
【背景技術】
【0002】
自動車や産業機械などの回転軸を支持する軸受として、転がり軸受が多く用いられる(例えば、特許文献1,2)。
【0003】
特許文献1,2の転がり軸受は、外輪と、外輪の径方向内側に配置された内輪と、外輪と内輪の間に形成される環状の軸受空間に組み込まれた複数の玉と、その複数の玉を保持する保持器とを有する。保持器には、各玉を収容するポケットが形成されている。
【0004】
この特許文献1,2の転がり軸受は、軸受外部から供給される潤滑油で軸受内部を潤滑しながら使用される。例えば、特許文献2の転がり軸受は、軸方向一方側に給油ノズルを隣接して配置した状態で使用され、その給油ノズルから連続的に供給される潤滑油を軸受空間に導入し、その潤滑油で軸受内部を潤滑しながら回転する。
【0005】
ところで、上記のような転がり軸受を、例えば、dmn値(玉のピッチ円直径dm(mm)×回転数n(min
-1
))が65万以上となるような高速回転域で使用すると、玉と保持器が高速回転することから、外輪と内輪の間の軸受空間に存在する空気が周方向に高速移動し、エアカーテンが発生する。そして、このエアカーテンによって、軸受外部から軸受内部への潤滑油の流入が妨げられ、その結果、軸受内部を通過する潤滑油の油量が低下し、軸受内部の潤滑や冷却が不十分となる問題がある。
【0006】
特に近年、EV(バッテリー式電気自動車)やHEV(ハイブリッド電気自動車)等の電気自動車の分野では、電費向上や走行用の電動モータの出力密度向上を図るため、電気自動車のパワートレインを潤滑する潤滑油の低粘度化や少油量化が進んでおり、転がり軸受の潤滑条件が厳しくなってきている。そのため、走行用の電動モータの回転軸を支持する転がり軸受や、その電動モータから出力される回転を減速する減速機の回転軸を支持する転がり軸受は、高速回転時に軸受内部の潤滑や冷却が不十分となりやすいという問題がある。
【0007】
上記問題に対し、特許文献1では、保持器を貫通してポケットに連通する給油孔と、その給油孔のポケットに連通する側とは反対側の端部開口の縁から軸方向に突出する油捕捉突起とを保持器に形成し、軸受外部から供給される潤滑油を油捕捉突起で捕捉して給油孔に誘導し、その給油孔を通じて保持器のポケットに潤滑油を導入するようにしている。
【0008】
また、上記問題に対し、特許文献2では、外輪と内輪の間の軸受空間の軸方向他方側(潤滑油が供給される側とは反対側)の環状開口を覆う円環状の固定板を外輪に固定して設けるとともに、その固定板に形成したオイル吸引孔に専用の配管を介して吸引ポンプを接続し、その吸引ポンプで軸受内部の潤滑油を吸引することで、軸方向一方側から供給される潤滑油を軸受内部に引き込むようにしている。
【先行技術文献】
【特許文献】
【0009】
特開2022-164434号公報
特開2022-163432号公報
【発明の概要】
【発明が解決しようとする課題】
【0010】
しかしながら、高速回転時の軸受内部の通油性を確保するため、特許文献1のように、保持器を軸方向に貫通する給油孔を形成したのでは、その給油孔によって保持器の強度が低下したり、保持器を成形する金型の構造が複雑となって製造コストが上昇したりする問題がある。
(【0011】以降は省略されています)
この特許をJ-PlatPat(特許庁公式サイト)で参照する
関連特許
NTN株式会社
基板
7日前
NTN株式会社
玉軸受
8日前
NTN株式会社
玉軸受
15日前
NTN株式会社
ハンド
2日前
NTN株式会社
玉軸受
16日前
NTN株式会社
密封装置
1か月前
NTN株式会社
軸受装置
14日前
NTN株式会社
把持装置
2日前
NTN株式会社
把持装置
2日前
NTN株式会社
密封装置
今日
NTN株式会社
作業装置
今日
NTN株式会社
深溝玉軸受
1か月前
NTN株式会社
転がり軸受
1か月前
NTN株式会社
転がり軸受
8日前
NTN株式会社
転がり軸受
1か月前
NTN株式会社
転がり軸受
2日前
NTN株式会社
転がり軸受
1か月前
NTN株式会社
シール付軸受
今日
NTN株式会社
等速自在継手
14日前
NTN株式会社
基板取付構造
14日前
NTN株式会社
円筒ころ軸受
16日前
NTN株式会社
回転伝達装置
今日
NTN株式会社
球面滑り軸受
1か月前
NTN株式会社
状態監視装置
1日前
NTN株式会社
軸受用保持器
28日前
NTN株式会社
車輪用軸受装置
16日前
NTN株式会社
車輪用軸受装置
1か月前
NTN株式会社
電動モータ装置
16日前
NTN株式会社
円すいころ軸受
7日前
NTN株式会社
絶縁転がり軸受
1か月前
NTN株式会社
車輪用軸受装置
1か月前
NTN株式会社
車輪用軸受装置
1か月前
NTN株式会社
保持器付きころ
4日前
NTN株式会社
車輪用軸受装置
今日
NTN株式会社
モータユニット
4日前
NTN株式会社
状態監視システム
1日前
続きを見る
他の特許を見る