TOP
|
特許
|
意匠
|
商標
特許ウォッチ
Twitter
他の特許を見る
公開番号
2025120821
公報種別
公開特許公報(A)
公開日
2025-08-18
出願番号
2024015941
出願日
2024-02-05
発明の名称
転がり軸受
出願人
NTN株式会社
代理人
個人
,
個人
,
個人
主分類
F16C
33/66 20060101AFI20250808BHJP(機械要素または単位;機械または装置の効果的機能を生じ維持するための一般的手段)
要約
【課題】高速回転条件で運転した場合であっても温度上昇を安定して抑制できる転がり軸受を提供する。
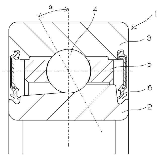
【解決手段】アンギュラ玉軸受1は、鋼製の内輪2および外輪3と、この内輪2および外輪3間に介在する複数のセラミック製の転動体4とを有し、潤滑剤で潤滑される転がり軸受であって、転動体4は窒化ケイ素または炭化ケイ素を主成分とし、潤滑剤は、モリブデン酸アミン塩を潤滑剤全量に対して0.1質量%~3.0質量%含有する。
【選択図】図1
特許請求の範囲
【請求項1】
鋼製の内輪および外輪と、この内輪および外輪間に介在する複数のセラミック製の転動体とを有し、潤滑剤で潤滑される転がり軸受であって、
前記転動体はケイ素を主成分とし、前記潤滑剤はモリブデン酸アミン塩を含有することを特徴とする転がり軸受。
続きを表示(約 560 文字)
【請求項2】
前記転動体は、窒化ケイ素を主成分とすることを特徴とする請求項1記載の転がり軸受。
【請求項3】
前記モリブデン酸アミン塩は、前記潤滑剤全量に対して0.1質量%~3.0質量%含まれることを特徴とする請求項1または請求項2記載の転がり軸受。
【請求項4】
前記潤滑剤は、構成元素として硫黄を含有する有機モリブデン化合物を含まないことを特徴とする請求項1または請求項2記載の転がり軸受。
【請求項5】
前記潤滑剤は、ジアルキルジチオリン酸亜鉛を含まないことを特徴とする請求項1または請求項2記載の転がり軸受。
【請求項6】
前記モリブデン酸アミン塩は、前記潤滑剤全量に対して0.1質量%~3.0質量%含まれており、
前記潤滑剤は、40℃における動粘度が5mm
2
/s~30mm
2
/sの基油を含み、かつ、構成元素として硫黄を含有する有機モリブデン化合物およびジアルキルジチオリン酸亜鉛を含まないことを特徴とする請求項1または請求項2記載の転がり軸受。
【請求項7】
前記転がり軸受が工作機械の主軸を支持する転がり軸受であることを特徴とする請求項1または請求項2記載の転がり軸受。
発明の詳細な説明
【技術分野】
【0001】
本発明は、セラミック転動体を有する転がり軸受に関する。
続きを表示(約 1,400 文字)
【背景技術】
【0002】
従来、マシニングセンタや旋盤などの工作機械の主軸を支持する軸受は、高速回転条件での使用頻度が高く、例えば、dn値(軸受内径d(mm)と回転速度n(min
-1
の積)が100万以上に達する条件でも使用されている。このような軸受では、潤滑性に優れるエアオイル潤滑が採用されることが多いが、圧縮エアの使用の消費電力が大きいため、圧縮エアを使用しないグリース潤滑への切り替えが進みつつある。
【0003】
しかしながら、高速回転条件での使用は、転がり軸受の温度上昇を招きやすく、それに付随する軌道面の摩耗などの不具合が生じるおそれがある。
【0004】
従来、転がり軸受の高速化対策として種々の技術が提案されている。例えば、転がり軸受の転動体をセラミック製にすることが知られている。例えば、窒化ケイ素の転動体は鋼製のものに比べて密度が低く、玉と軌道面との間のすべりが小さくなり、高速化に有利とされている。
【0005】
例えば、特許文献1には、高速かつ高荷重の条件で使用されるセラミック球転がり軸受用の潤滑油組成物が開示されている。この潤滑油組成物は、基油に、所定の酸アミド、ザルコシン酸、またはアスパラギン酸誘導体の群から選ばれる少なくとも1種の添加剤を含有している。この潤滑油組成物は、さらに、低摩擦特性(油温上昇の抑制性)を確保するために、ジアルキルジチオリン酸モリブデン(MoDTP)やジチオカルバミン酸モリブデン(MoDTC)などの摩擦低減剤を含有している。これらの摩擦低減剤は、2面のうち少なくとも一方が鉄鋼系材料からなる摺動部品で一般的に用いられるものである。例えば、鉄鋼表面で添加剤が吸着、分解、そして反応することで形成された二硫化モリブデン(MoS
2
)の作用によって、低摩擦化が発現すると認識されている。
【先行技術文献】
【特許文献】
【0006】
特許第5237562号
【発明の概要】
【発明が解決しようとする課題】
【0007】
ところで、特許文献1の潤滑油組成物には、摩擦低減剤としてMoDTCやMoDTPが含まれているが、これらを添加した場合であっても、使用条件によっては鉄鋼表面にMoS
2
をうまく形成させられず、十分な低摩擦効果が得られないことがある。その結果、高速回転条件で転がり軸受の過度な温度上昇を招くおそれがある。
【0008】
本発明は、このような事情に鑑みてなされたものであり、高速回転条件で運転した場合であっても軸受の温度上昇を安定して抑制できる転がり軸受を提供することを目的とする。
【課題を解決するための手段】
【0009】
本発明の転がり軸受は、鋼製の内輪および外輪と、この内輪および外輪間に介在する複数のセラミック製の転動体とを有し、潤滑剤で潤滑される転がり軸受であって、上記転動体はケイ素を主成分とし、上記潤滑剤はモリブデン酸アミン塩を含有することを特徴とする。
【0010】
上記転動体は、窒化ケイ素を主成分とすることを特徴とする。
(【0011】以降は省略されています)
この特許をJ-PlatPat(特許庁公式サイト)で参照する
関連特許
NTN株式会社
基板
10日前
NTN株式会社
玉軸受
11日前
NTN株式会社
玉軸受
18日前
NTN株式会社
玉軸受
1か月前
NTN株式会社
玉軸受
19日前
NTN株式会社
ハンド
5日前
NTN株式会社
密封装置
3日前
NTN株式会社
作業装置
3日前
NTN株式会社
軸受装置
17日前
NTN株式会社
密封装置
1か月前
NTN株式会社
把持装置
5日前
NTN株式会社
把持装置
5日前
NTN株式会社
転がり軸受
1か月前
NTN株式会社
転がり軸受
11日前
NTN株式会社
転がり軸受
5日前
NTN株式会社
深溝玉軸受
1か月前
NTN株式会社
転がり軸受
1か月前
NTN株式会社
転がり軸受
1か月前
NTN株式会社
シール付軸受
3日前
NTN株式会社
状態監視装置
4日前
NTN株式会社
球面滑り軸受
1か月前
NTN株式会社
回転伝達装置
3日前
NTN株式会社
等速自在継手
17日前
NTN株式会社
基板取付構造
17日前
NTN株式会社
円筒ころ軸受
1か月前
NTN株式会社
円筒ころ軸受
19日前
NTN株式会社
軸受用保持器
1か月前
NTN株式会社
円すいころ軸受
10日前
NTN株式会社
車輪用軸受装置
19日前
NTN株式会社
電動モータ装置
19日前
NTN株式会社
車輪用軸受装置
1か月前
NTN株式会社
車輪用軸受装置
3日前
NTN株式会社
絶縁転がり軸受
1か月前
NTN株式会社
車輪用軸受装置
1か月前
NTN株式会社
保持器付きころ
7日前
NTN株式会社
車輪用軸受装置
1か月前
続きを見る
他の特許を見る